电脑桌面
添加小米粒文库到电脑桌面
安装后可以在桌面快捷访问

预防艾滋病梅毒和乙肝母婴传播服务流程图

预防艾滋病梅毒和乙肝母婴传播服务流程图_第1页
1/9
预防艾滋病梅毒和乙肝母婴传播服务流程图_第2页
2/9
预防艾滋病梅毒和乙肝母婴传播服务流程图_第3页
3/9
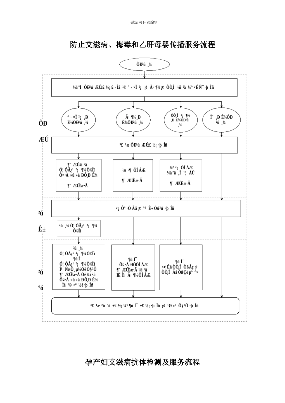
下载后可任意编辑防止艾滋病、梅毒和乙肝母婴传播服务流程孕产妇艾滋病抗体检测及服务流程下载后可任意编辑 确认实验、CD4T 淋巴细胞计数及病毒载量检测均在疾控中心进行。孕期每三个月和产后 4-6 周 对孕产妇各进行一次 CD4T 淋巴细胞计数的检测,同时在发现孕产妇感染艾滋病时和孕晚期各进行一次病毒载量的检测。孕期末艾滋病抗体检测及服务流程下载后可任意编辑(合用于孕期未接受 HIV 检测的产妇) 艾滋病感染孕产妇所生儿童艾滋病感染初期诊断检测及服务流程下载后可任意编辑艾滋病感染孕产妇所生儿童艾滋病抗体检测及服务流程艾滋病感染产妇所生新生儿新生儿护理、应用抗病毒药物、对家长进行喂养指导、营养征询等,定期随访、体格检查及生长发育监测出生后六周采集第一份血样本制备成滤纸片干血斑( DBS )将干血斑转运到性艾中心参比实验室进行初期诊断阳性反映阴性反映尽快采集第二份血样本,送检婴儿满三个月,再 次 采 集 血 样本,送检阳性反映呈阳性反映阳性反映阴性反映报告“ HIV 感染初期诊断检测结果阳性”尽快再次采集血样本,送检阳性反映阴性反映报告“婴儿 HIV感染初期诊断检测结果阴性”诊断儿童 HIV 感染,提供转介服务,随访并监测病情根据未感染儿童解决,继续提供儿童保健及随访服务下载后可任意编辑各级医疗保健机构应在艾滋病感染确诊孕产妇后、感染孕产妇分娩后及感染孕产妇所生儿童满 1、3、6、9、12 和 18 月龄时分别进行随访,并上报个案卡,共 8 张个案卡孕产妇梅毒检测及服务流程下载后可任意编辑梅毒阳性孕妇每月监测 RPR1 次,监测治疗效果梅毒感染孕产妇所生儿童的随访与先天梅毒感染状态监测下载后可任意编辑梅毒阳性孕产妇所生儿童随访时间 3、6、9、12、15、18 月龄*非梅毒螺旋体实验涉及 RPR、TRUST 等方法#梅毒螺旋体实验涉及 TPPA、TPHA 及应用该原理的快速检测等方法下载后可任意编辑孕产妇乙肝检测及服务流程乙肝母婴乙肝表面抗原或乙肝两对半化验(初次产检)阳性孕妇:1. 监测肝脏功能2. 治疗、营养支持、指导婴儿:1. 出生后 24 小时内接种第一剂乙肝疫苗 10 微克2. 满月接种第二剂乙肝疫苗 10 微克3. 满 6 个月接种第三剂乙肝疫苗10 微克4. 出生 6 小时内注射(至少 24 小时内)乙肝免疫球蛋白 100 国际单位,越早效果越好下载后可任意编辑

1、当您付费下载文档后,您只拥有了使用权限,并不意味着购买了版权,文档只能用于自身使用,不得用于其他商业用途(如 [转卖]进行直接盈利或[编辑后售卖]进行间接盈利)。
2、本站所有内容均由合作方或网友上传,本站不对文档的完整性、权威性及其观点立场正确性做任何保证或承诺!文档内容仅供研究参考,付费前请自行鉴别。
3、如文档内容存在违规,或者侵犯商业秘密、侵犯著作权等,请点击“违规举报”。

碎片内容

预防艾滋病梅毒和乙肝母婴传播服务流程图

您可能关注的文档

范哲铺+ 关注
实名认证
内容提供者

想你所想,急你所急,你需要的都在店铺里可以找到。

确认删除?
VIP
微信客服
  • 扫码咨询
会员Q群
  • 会员专属群点击这里加入QQ群
客服邮箱
回到顶部