下载后可任意编辑食堂项目经理岗位职责,项目生产经理岗位职责及工作内容 岗位职责指一个岗位所需要去完成的工作内容以及应当承担的责任范...
人力资源部工作职责 一 、人力资源规划管理。具体包括: 1、制定人力资源规划,并经批准后实施; 2、组织拟定公司机构人员编制,经批准...
1 人 事 专 员 工 作 内 容 一、入职、离职、转正、合同续签等手续的办理 1、 入 职 手 续 办 理 1) 资 料 提 交 ➢...
1.概念设计市场定位分析初期总布置设计整车动力性经济性分析和计算造型设计指导书参考样车分析供应商平台调查成本分析编制产品描述书。1.1....
GL 实用范本 | DOCUMENT TEMPLATE第1页 / 共2页编号: FS-QG-13770污水处理工程师岗位职责工作内容Job duties of sewage treatm...
水土保持监理工作内容及方法中水环球(北京)科技发展公司2016 年 11 月一、 术语二、 本项目必须达到的总目标三、 监理工作程序、方...
欢迎共阅为加强企业管理,规范核算程序,有效控制各类收支,提高企业经济效益,特制定核算员工作职责。l 、应按照有关 国家法律、法规、...
下载后可任意编辑《通信建设工程监理》第三章(摘要)通信工程安全监督管理的主要工作内容和要求(一)施工准备阶段1、编制安全监理方案,...
下载后可任意编辑.职位说明书--网络工程师网络工程师职位名称网络工程师职位代码所属部门职 系职等职级直属上级薪金标准填写日期核 准 ...
下载后可任意编辑模具工程师-工作内容模具工程师应该掌握以下知识(不限如此):材料方面:1.塑胶材料及填充剂 2.模具钢材及热处理工艺方...
下载后可任意编辑 智能化系统工程招投标工作内容与方法目前进行中的大厦智能化系统工程招投标工作,还没有一个与之相适应可操作的 模式和...
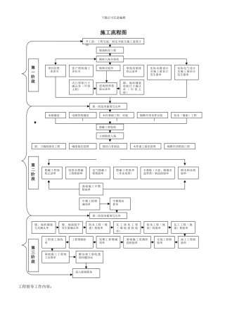
下载后可任意编辑施工流程图工程督导工作内容:现场拆改工程开工前,工程交底,制定并提交施工进度计划辅材入场并验收现场交底单项目经理 ...
下载后可任意编辑施工员的工作内容土建施工员是具备土木建筑专业知识,深化土木施工现场,为施工队提供技术支持,并对工程质量进行复核监督...
下载后可任意编辑施工单位资料员具体的工作内容一般大的公司或国企都是严格分工的,但是假如是私企或小老板包的工程的话,一般是施工员什么...
造价员工作内容 1、对内的工作情况。按公司的规定要求,每月的月底统计当月的实际施工产值及成本分析情况。对于施工阶段的预算书以实际情...
水利工程环境保护专项验收工作内容探究 水利工程中的环境保护问题探究 尹得生 摘要。兴修水利工程是人类自觉地改造自然、利用自然的一项...
下载后可任意编辑房地产开发公司工程部部门职责1、总目标职责:整合资源,完成公司预定的项目开发工程投资计划。2、目标分解职责:通过合同...
下载后可任意编辑弱电工程师的工作内容弱电工程师一般是在 60V 以下的电器相关职业如集成电路相关、监控、安防等硬件工程师,想了解该职...
下载后可任意编辑本页为作品封面,下载后可以自由编辑删除,欢迎下载!!! 精 品文档1【精品 word 文档、可以自由编辑!】建筑 各阶...
下载后可任意编辑工程管理业主工作内容基于建设单位的工程管理:依据施工合同、施工图纸、文件及相关法律规范,通过连续地对建设过程的控制...

