后张法预应力 T 形梁施工 1 施工程序台座制作→钢筋绑扎→模板安装→安装波纹管→混凝土浇筑→拆模养生→穿钢绞线→预应力张拉→压浆→...
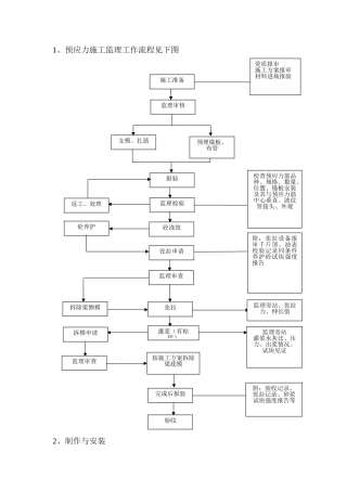
后张法预应力梁板施工流程框图 N N Y N N Y N Y Y N N 后张法施工方案报工程师批准 预 制 台 座 和 模 板 制 作 自...
QB安徽电力建设第一工程公司企业标准Q/AEPC-T GCC050-2025后张法预应力施工工艺标准2025-12-01 发布 2025-01-01 实施安徽电力建设第一...
后张法 T 型梁预制施工(1)制梁台座采纳 C15 级砼浇筑,预留侧模下拉杆安装孔和 T 梁兜底吊装槽,预埋好铁件,使底模置于台座上后可紧...
后张法有粘结预应力应用效果研析【摘要】:某工程后张有粘结预应力框架粱施工为基础,介绍了后张有粘结预应力波纹管穿管固定、预应力筋锚具...
后张法空心板梁预制施工(1)制梁台座采纳现浇 C15 级砼制梁底座,上铺 5mm 厚钢板作底模,底模与砼底座内的预埋角钢焊接固定,使底模...
公路桥梁后张法预应力空心板预制工艺标准1 适用法律规范 本标准适用于公路桥梁工程中后张法预应力空心板预制加工。2 施工准备2.1 材料...
30 米后张法箱梁钢绞线张拉计算书(边跨梁)钢束编号每根长度(cm)钢绞线直径(cm)钢绞线根数张拉吨位(KN)理论伸长值(cm)10%20%100%...
30 米后张法箱梁钢绞线张拉计算书(中跨梁)钢束编号每根长度(cm)钢绞线直径(cm)钢绞线根数张拉吨位(KN)理论 伸长值(cm)10%20%10...
预应力混凝土公路桥梁通用图设计成套技术通用图设计计算书20m 简支装配式后张法预应力混凝土空心板配束计算(手算)(高速公路和一级公路)...
20m 空心板梁后张法伸长量的计量一、计算公式1、伸长量的计算公式△L=Pp×L/Ap×Ep式中:L=从张拉端至计算截面孔孔道长度(mm)Pp=预应力...
试论后张法预应力混凝土桥梁质量控制试论后张法预应力混凝土桥梁质量控制 摘要:本文主要论述了钢绞线质量控制和混凝土施工质量控制,同时...
浅谈高速公路桥梁大跨度后张法预应力 T 梁施工技术浅谈高速公路桥梁大跨度后张法预应力 T 梁施工技术 摘要:随着科技的进展,桥梁的施...
浅谈高速公路 50M 后张法预应力 T 型梁施工工艺浅谈高速公路 50M 后张法预应力 T 型梁施工工艺 摘 要:本文以洛栾高速乾涧沟特大...
浅谈预应力砼箱梁后张法伸长量控制浅谈预应力砼箱梁后张法伸长量控制 摘要:预应力张拉的最终结果与理论伸长量的计算和实际伸长量观测方法...
浅析市政桥梁工程中后张法预应力施工技术浅析市政桥梁工程中后张法预应力施工技术 【摘要】本文介绍了市政桥梁工程中后张法预应力施工特点...
底模活动端头在后张法预应力砼简支箱梁施工中的应用中国交通建设股份有限公司 科技研发项目立项申请书 项目名称:底模活动端头在后张法预...
市政桥梁工程中后张法预应力施工技术讨论市政桥梁工程中后张法预应力施工技术讨论 摘要:随着近几年后张法预应力工艺的不断进展,该技术已...
技 术 交 底 书工程名称:兰新铁路 LXS-6 标段工程里程(高程):编制单位:中铁十三局集团第二工程 有限公司门源制梁场接收单位:...
后张法预应力桥梁施工工艺浅探后张法预应力桥梁施工工艺浅探 摘要:预应力技术是当今桥梁施工领域进展速度最快、用途最为广泛、最有进展潜...

