电脑桌面
添加小米粒文库到电脑桌面
安装后可以在桌面快捷访问

工程管理曲线VIP免费

工程管理曲线_第1页
1/19
工程管理曲线_第2页
2/19
工程管理曲线_第3页
3/19
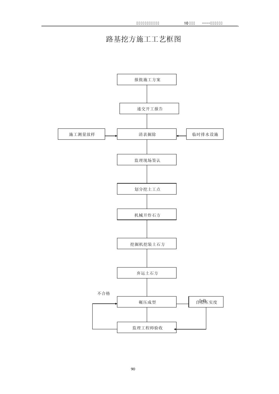
云南大丽高速公路路基第10 合同段----施工组织设计 8 9 工程管理曲线 年度 月 份 进度 2011年 2012年 1 2 3 4 5 6 7 8 9 1 0 1 1 1 2 1 2 3 4 5 6 用 款 百 分 比 (%) 1 0 0 9 0 8 0 7 0 6 0 5 0 4 0 3 0 2 0 1 0 0 0 1 0 2 0 3 0 4 0 5 0 6 0 7 0 8 0 9 0 1 0 0 工期历程的百分比 (%) 云南大丽高速公路路基第10 合同段----施工组织设计 9 0 路基挖方施工工艺框图 不合格 合格 报批施工方案 递交开工报告 监理现场签认 划分挖土工点 碾压成型 挖掘机挖装土石方 清表掘除 弃运土石方 机械开炸石方 监理工程师验收 施工测量放样 临时排水设施 自检压实度 云南大丽高速公路路基第10 合同段----施工组织设计 9 1 路基填土施工工艺框图 不合格 合格 报批施工方案 递交开工报告 监理现场签认 运输摊铺土方 碾压成型 稳 压 清表掘除 平地机精平 推土机初平 监理工程师验收 土工试验 施工测量放样 临时排水设施 填前碾压 检测含水量 自检压实度 下一层填筑 洒水或翻晒 云南大丽高速公路路基第10 合同段----施工组织设计 9 2 钢筋砼拱涵施工工艺流程图 测量放样 基坑开挖,排水 基坑检验 换填砂性土,分层压实砂性土 砼基础立模,灌注 拱涵涵身、台座立模灌注 支立拱架,安装拱模 对称灌注拱圈砼 养护拱圈砼强度达设计值 对称拆除拱架、拱模 施做防水层 涵顶对称填土、分层夯实 出入口、八字墙等附属工程施工 监理签证 养护 养护 检查、验收、签证 检查、验收、签证 云南大丽高速公路路基第10 合同段----施工组织设计 9 3 圆管涵施工工艺流程图 施工准备 施工放样 施工准备 浆砌片石基础 基坑开挖 预制涵管 管涵安装 砌筑八字墙 管缝防水层 截水墙砌筑 交 验 勾 缝 云南大丽高速公路路基第10 合同段----施工组织设计 94 浆砌片石施工工艺框图 不合格项目重做 不合格项目重做 不合格项目重做 不 合 格 项 目 重 不合格项目重做 做 合格 不合格项目重做 测量放样 开挖基坑 工程师检验 资料整理 资料整理 签证 材质检查 基底土质检查 片石质量 河砂质量 水泥质量 配合比选 择 测量复核 审核资料 材质检查 浆砌片石砌体 工程师检查 浆砌片石 勾缝 伸缩缝 运料 挂线调平 资料整理 资料整理 检查验收 分项质量评定 签证 砌体质...

1、当您付费下载文档后,您只拥有了使用权限,并不意味着购买了版权,文档只能用于自身使用,不得用于其他商业用途(如 [转卖]进行直接盈利或[编辑后售卖]进行间接盈利)。
2、本站所有内容均由合作方或网友上传,本站不对文档的完整性、权威性及其观点立场正确性做任何保证或承诺!文档内容仅供研究参考,付费前请自行鉴别。
3、如文档内容存在违规,或者侵犯商业秘密、侵犯著作权等,请点击“违规举报”。

碎片内容

工程管理曲线

您可能关注的文档

确认删除?
VIP
微信客服
  • 扫码咨询
会员Q群
  • 会员专属群点击这里加入QQ群
客服邮箱
回到顶部