电脑桌面
添加小米粒文库到电脑桌面
安装后可以在桌面快捷访问

建设工程项目报建流程表VIP免费

建设工程项目报建流程表_第1页
1/8
建设工程项目报建流程表_第2页
2/8
建设工程项目报建流程表_第3页
3/8
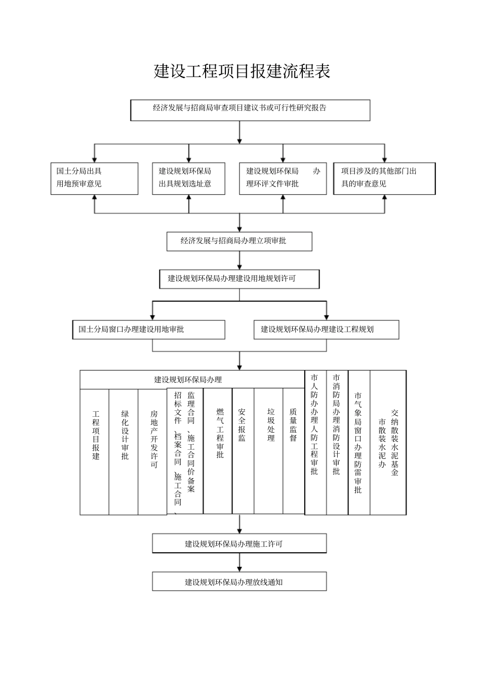
建设工程项目报建流程表建设规划环保局办理环评文件审批建设规划环保局出具规划选址意国土分局出具用地预审意见项目涉及的其他部门出具的审查意见经济发展与招商局办理立项审批建设规划环保局办理建设用地规划许可国土分局窗口办理建设用地审批建设规划环保局办理建设工程规划建设规划环保局办理交纳散装水泥基金市散装水泥办市气象局窗口办理防雷审批市消防局办理消防设计审批市人防办办理人防工程审批监理合同、施工合同价备案招标文件、档案合同、施工合同、质量监督垃圾处理安全报监燃气工程审批房地产开发许可绿化设计审批工程项目报建建设规划环保局办理施工许可建设规划环保局办理放线通知经济发展与招商局审查项目建议书或可行性研究报告一、经发局审查项目建议书(详询旅游区经发局)二、建设规划环保局出具的建设项目环境影响评价意见1、申报材料建设单位须携带申请报告、可行性研究报告、项目地理位置图、平面布置图、 规划预审意见 、用地证明材料(房地产证、租赁合同等复印件)。2、办事程序(1)填写申报表、提交必备材料;(2)现场勘察;(3)(建设单位委托有资质的环评单位编制环境影响报告表);(4)环境影响评价文件报建设局;(5)建设局提出审查意见;(6)建设局局务会审核;(7)市环保局审批;(8)向当事人下达审批意见。三、规划选址意见书1、申报材料(1)拟建设项目申请报告(包括建设项目的基本情况);(2)拟建设项目位置图;(3)申请人或委托人的有关证明(若申办过程中换人需重新出具证明)(4)经批准的项目建议书(5)土地预审意见 (市国土局雪野分局详询国土分局)(6)根据项目性质需要,需征询有关部门(如消防、水源等)的意见。2、办事程序(1)申请;(2)审查;(3)管委会领导会签;(4)发证。3、承诺时限建设项目报建流程第 3 页共 8 页3 个工作日四、经发局立项(详询旅游区经发局)五、办理建设用地规划许可证1、申报材料(1)关于办理建设用地规划许可证的申请(2)申请人或委托人的有关证明(若申办过程中换人需重新出具证明)(3)经批准的项目建议书(4)环保部门出具的建设项目环境影响评价意见(5)地形图图纸及电子文件(1:500 或 1:1000 )(6)土地权属单位同意的证明材料(7)土地界址证明材料 (可以在量地时组织有关人员现场指界并签字盖章确认 ) (8)国有土地使用权出让合同(9)根据项目性质需要,需征询有关部门(如消防、水源等)的意见。2、办事程序1)申请...

1、当您付费下载文档后,您只拥有了使用权限,并不意味着购买了版权,文档只能用于自身使用,不得用于其他商业用途(如 [转卖]进行直接盈利或[编辑后售卖]进行间接盈利)。
2、本站所有内容均由合作方或网友上传,本站不对文档的完整性、权威性及其观点立场正确性做任何保证或承诺!文档内容仅供研究参考,付费前请自行鉴别。
3、如文档内容存在违规,或者侵犯商业秘密、侵犯著作权等,请点击“违规举报”。

碎片内容

建设工程项目报建流程表

您可能关注的文档

确认删除?
VIP
微信客服
  • 扫码咨询
会员Q群
  • 会员专属群点击这里加入QQ群
客服邮箱
回到顶部