电脑桌面
添加小米粒文库到电脑桌面
安装后可以在桌面快捷访问

护理质量管理工作流程VIP专享VIP免费

护理质量管理工作流程_第1页
1/17
护理质量管理工作流程_第2页
2/17
护理质量管理工作流程_第3页
3/17
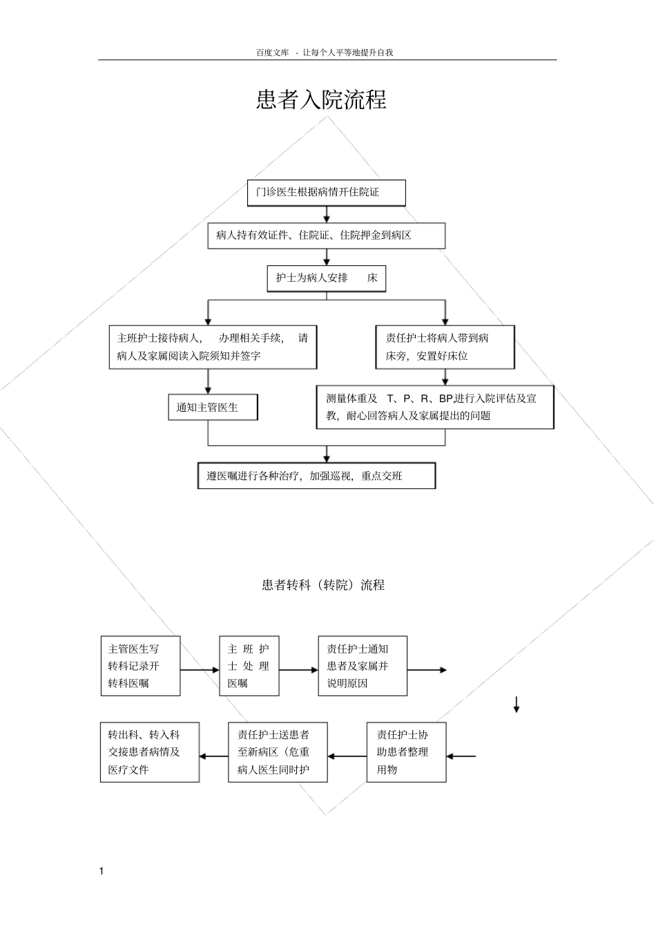
百度文库- 让每个人平等地提升自我1 患者入院流程患者转科(转院)流程主管医生写转科记录开转科医嘱主 班 护士 处 理医嘱责任护士协助患者整理用物责任护士送患者至新病区(危重病人医生同时护责任护士通知患者及家属并说明原因转出科、转入科交接患者病情及医疗文件门诊医生根据病情开住院证病人持有效证件、住院证、住院押金到病区护士为病人安排床主班护士接待病人,办理相关手续, 请病人及家属阅读入院须知并签字责任护士将病人带到病床旁,安置好床位通知主管医生测量体重及T、P、R、BP,进行入院评估及宣教,耐心回答病人及家属提出的问题遵医嘱进行各种治疗,加强巡视,重点交班百度文库- 让每个人平等地提升自我2 一、转科(一)患者入院。(二)在病区主任或科主任的安排下进行详细检查。(三)因病情发生变化或诊断改变或患者及其家属坚持要求转科;(四)因病情危重不能转运,要向家属详细解释并取得同意和签字;(五)经治医生写好转科记录,按联系时间转科;(六)转出科护理人员通知住院处办理转科手续;转出科派人陪同到转入科,向值班医师交待病情;(七)转入科室医师及时检查处理患者,书写转入记录。二、转院(一)因医院技术水平、设备条件或患者特殊疾病,不宜在本院继续治疗的患者;(二)或患者、家属坚持要求转院者,因病情危重不能转运,要向家属详细解释并取得同意和签字; 如家属坚持转院, 向上级医师和科主任报告, 并在病历记录中及时记录,请家属签字;(三)由科主任提出转院申请。(四)申报医务科;(五)申报主管院长批准;(六)联系转入医院,征求同意;(七)办理出院手续,将病历摘要或出院小结随患者转去;百度文库- 让每个人平等地提升自我3 (八)患者在转院途中可能加重病情或死亡的,应暂留院内处置,待病情稳定或采取相应措施,保证途中生命安全,较重患者,应派医护人员护送;(九)患者转院。患者出院流程主管医生开出院证患者或家属填写住院病人意见征求表,责任护士协助患者或家属整理用物主班护士办理出院手续将出院信息发送至住院收费处通 知 责 任护士责 任 护 士 对 病 人进行出院指导(饮食、休息、康复锻炼、用药等)病人或家属持有效证件、预交款收据到住院收费处结账住院收费处扎账百度文库- 让每个人平等地提升自我4 输血及药物不良反应质量控制流程( 一 ) 输血反应质量控制流程:1、严格执行医嘱。2、认真核对医嘱并到血库取血。3、严格执行查对制度,取...

1、当您付费下载文档后,您只拥有了使用权限,并不意味着购买了版权,文档只能用于自身使用,不得用于其他商业用途(如 [转卖]进行直接盈利或[编辑后售卖]进行间接盈利)。
2、本站所有内容均由合作方或网友上传,本站不对文档的完整性、权威性及其观点立场正确性做任何保证或承诺!文档内容仅供研究参考,付费前请自行鉴别。
3、如文档内容存在违规,或者侵犯商业秘密、侵犯著作权等,请点击“违规举报”。

碎片内容

护理质量管理工作流程

确认删除?
VIP
微信客服
  • 扫码咨询
会员Q群
  • 会员专属群点击这里加入QQ群
客服邮箱
回到顶部