电脑桌面
添加小米粒文库到电脑桌面
安装后可以在桌面快捷访问

绕组工艺对寄生参数的影响VIP免费

绕组工艺对寄生参数的影响_第1页
1/9
绕组工艺对寄生参数的影响_第2页
2/9
绕组工艺对寄生参数的影响_第3页
3/9
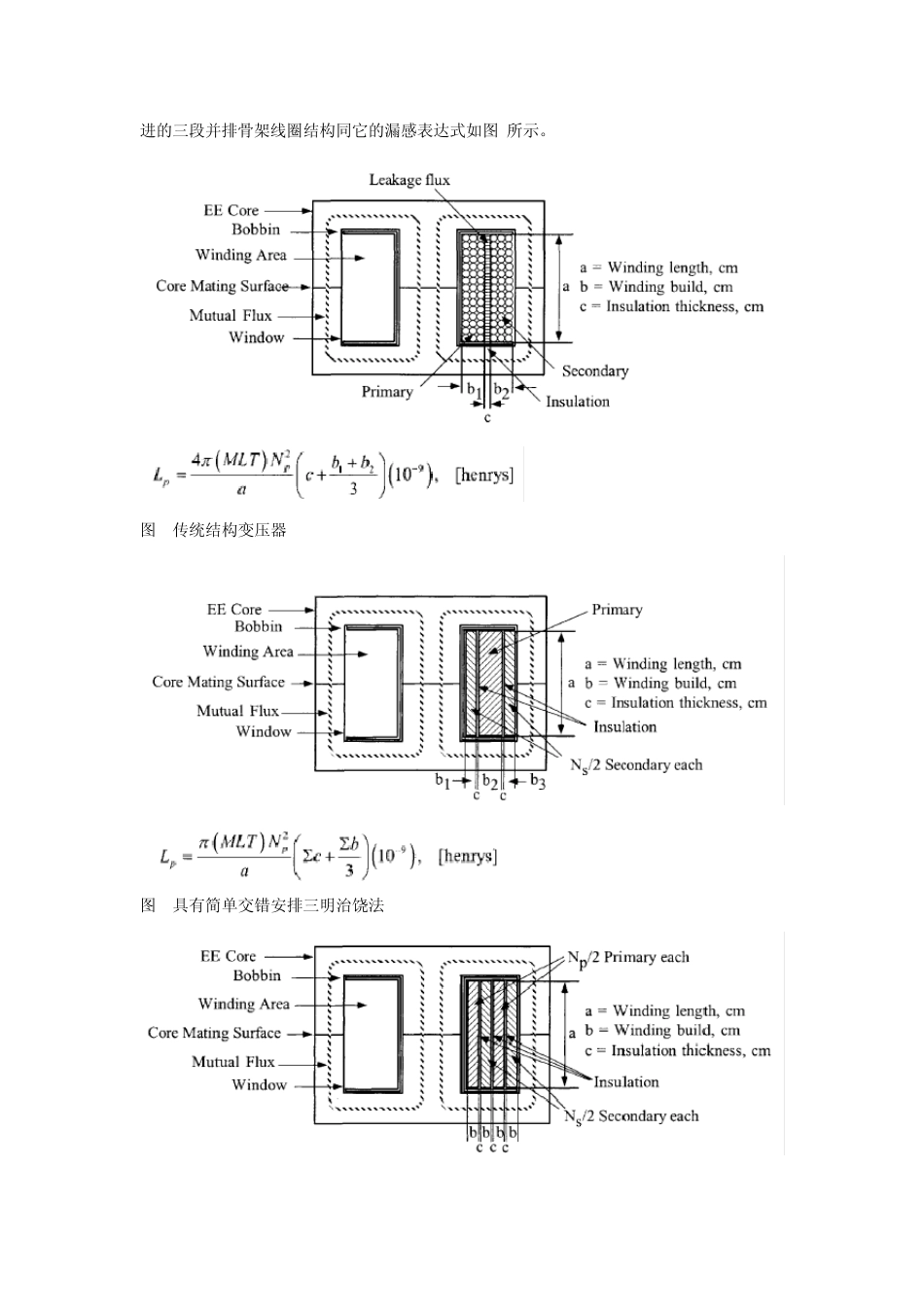
高频寄生参数 在设计高频磁性元件的绕制工艺时需考虑到漏感及分布电容的影响,这两个参数是分布在磁性元器件的整个绕组中,但为了简单起见,它们被表示成集总的常数,如下图1所示。漏感对一次用Lp表示,对二次用Ls表示,等效集总参数电容对一次和二次绕组分别用Cp和Cs表示,直流电阻Rp和Rs分别是一次和二次绕组的等效电阻,Cw是绕组与绕组间的等效电容,Re是与铁芯损耗等效的并联电阻。 图1.考虑寄生参数的变压器等效电路 在低压高功率场合,因分布电容中储存的电场能量(CU2/2)与漏感中储存的磁场能 量(LI2/2)相比较小,因而分布电容的影响可以忽略。但在高压小功率场合,分布电容储能与漏感储能相当,甚至比漏感储能大,此时分布电容的影响不可忽略。 在开关转换时,绕组电压发生变化,在变压器内部和主电路回路中引起高频振荡,增加变压器的损耗,并产生高频电磁辐射,同时也会增加功率器件的动态功耗,引起较高的应力如下图所示,成为损坏功率器件的隐患。若输入电压较高,分布电容储能较大,会使得开关管在转换时出现较大的电流尖峰,在采用峰值电流控制的情况下,将影响电流采样的正确性,在轻载时会对电源的稳压精度、稳定性及损耗有较大影响。 图2.开关元器件电流和电压波形 1. 漏感 漏感表示变压器绕组之间不完全耦合所表现出来的寄生效应。耦合系数小于1 表示变压器绕组的空隙中存在漏磁场,漏感大小可以通过计算储存在绕组间的漏磁场能量来确定。可以认为这些漏能量等效于储存在一个集中表示的漏感中,这个漏感就可由下式计算得到: 式中:μ o 为真空磁导率;H 为漏磁场强度分布;dV为漏磁场分布的体积元;Lleak 为变压器线圈漏感;Iin 为输入电流。 对变压器中的绕组分布作平面假设,可以得到变压器的磁场图。图3 给出了2 个实例,在导体部分磁场强度增加或减少,在层与层间的空间内磁场强度保持不变。 图3.不同绕组布局时的磁场强度 因磁场能量正比于H的平方,采用交错绕法时Hm会比较小,由此对漏感的影响也比较小。 在层绕线圈中,可以通过交替安排一次和二次绕组来显著地减小漏感Lp和Ls,具有单一次和单二次绕组的标准变压器连同它的漏感如图4所示。取同样的变压器,把二次绕组分开安排在一次绕组的两边,將减小漏感,这样变压器连同它的漏感表达式如图5所示。可以采用interleaving的饶法可以更多的减小漏感,这样变压器连同它的漏感表达式如图6所示。还可以采用上下并派分段骨架线圈的办法,这样变压器连同...

1、当您付费下载文档后,您只拥有了使用权限,并不意味着购买了版权,文档只能用于自身使用,不得用于其他商业用途(如 [转卖]进行直接盈利或[编辑后售卖]进行间接盈利)。
2、本站所有内容均由合作方或网友上传,本站不对文档的完整性、权威性及其观点立场正确性做任何保证或承诺!文档内容仅供研究参考,付费前请自行鉴别。
3、如文档内容存在违规,或者侵犯商业秘密、侵犯著作权等,请点击“违规举报”。

碎片内容

绕组工艺对寄生参数的影响

确认删除?
VIP
微信客服
  • 扫码咨询
会员Q群
  • 会员专属群点击这里加入QQ群
客服邮箱
回到顶部