电脑桌面
添加小米粒文库到电脑桌面
安装后可以在桌面快捷访问

项目开发及实施方案设计

项目开发及实施方案设计_第1页
1/8
项目开发及实施方案设计_第2页
2/8
项目开发及实施方案设计_第3页
3/8
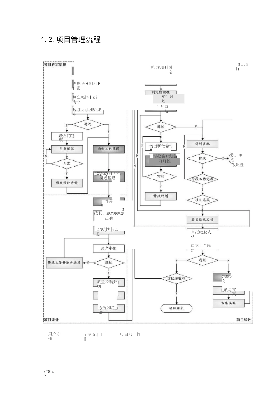
文案大全1.项目开发及实施方案1.1.总述项目实施是为了实现项目目标、完成项目规定的最终交付成果,依据项目基准计划,通过一系列具体、实际的活动准确、及时地完成项目中的各项工作,并得到客户满意和认可的过程。本项目是一个规模庞大、内容复杂的移动信息化项目,项目的实施需要科学、有效的项目管理来支撑。我司在农业信息化项目规划和建设方面具有丰富经验和深厚积累。我们安排了具有丰富项目管理经验的高级管理人员参与本项目的管理。我们将通过项目管理实现以下几个方面的目标:1、满足实际需求满足实际需求是项目管理追求的首要目标。在系统实施过程中,不断深入地分析需求、把握需求以及充分沟通,从而开发出能很好满足本项目的实际需求的系统。2、保证质量质量控制在项目管理中是极其重要的。通过质量控制来保证项目的顺利实施,以确保不会造成任何形式的返工。具体措施包括:>清晰的需求管理手册;>明确验收方式;>强化实施方法;文案大全>监督操作过程。3、降低风险任何事件的发展都会有一定的意外,它的发生是不可定的,这种脱离常规的意外称之为风险。如果我们充分重视风险会造成的影响,就可以避免遭受较大的损失。风险管理主要从三方面着手:>确定风险因素;>阻止不可承受的风险发生;>制定风险发生的解救方案。本项目的管理采用项目经理、项目部门经理、项目小组、项目实施人员的四级管理体系。整个项目组的运作实行项目经理负责制。本项目的管理将充分运用国际领先的项目管理软件 MicrosoftProject2013。本项目的管理主要包括项目采购管理、软件开发管理、系统集成管理、项目质量管理、项目风险管理等几个方面的内容。文案大全1.2.项目管理流程顶目班IT更.转項列园定考虑隕 H 制別 F]素钊定輕悴】it 计专幸计划审歧鬼祎盘计和嗫评审援出□题堤出糅改总JL审抵瞰股丈.怙迪克工作屁建見址史烽改岚性邢猊戯 J 时间*後港基堪工作畀贮T成轧、資源祐算班拉嘀匕低计则机进,近质量控騎升則合列和粒卿实拒讨划讨抡羸 I 快腔叮肝性寺駆讨论解决方聚用户方二作厅发南才工柞•Q 曲问一竹文案大全1.3. 项目组织成员1.3.1.1. 项目总负责人姓名性别女年龄35职务项目经理职称高级项目经理学历本科参加工作时间2004.7担任项目负责人年限10 年联系电话1.3.1.2. 相关实施人员一览表姓名职位持何种资格证件潘青云项目经理高级项目经理证书张晖开发总监李建行I0S 开发/胥福阳需求经理/郑超逸Java 开发/崔佳琪Java 开发/陈芳霞...

1、当您付费下载文档后,您只拥有了使用权限,并不意味着购买了版权,文档只能用于自身使用,不得用于其他商业用途(如 [转卖]进行直接盈利或[编辑后售卖]进行间接盈利)。
2、本站所有内容均由合作方或网友上传,本站不对文档的完整性、权威性及其观点立场正确性做任何保证或承诺!文档内容仅供研究参考,付费前请自行鉴别。
3、如文档内容存在违规,或者侵犯商业秘密、侵犯著作权等,请点击“违规举报”。

碎片内容

项目开发及实施方案设计

wxg+ 关注
实名认证
内容提供者

该用户很懒,什么也没介绍

确认删除?
VIP
微信客服
  • 扫码咨询
会员Q群
  • 会员专属群点击这里加入QQ群
客服邮箱
回到顶部