电脑桌面
添加小米粒文库到电脑桌面
安装后可以在桌面快捷访问

生产设备管理程序a

生产设备管理程序a_第1页
1/4
生产设备管理程序a_第2页
2/4
生产设备管理程序a_第3页
3/4
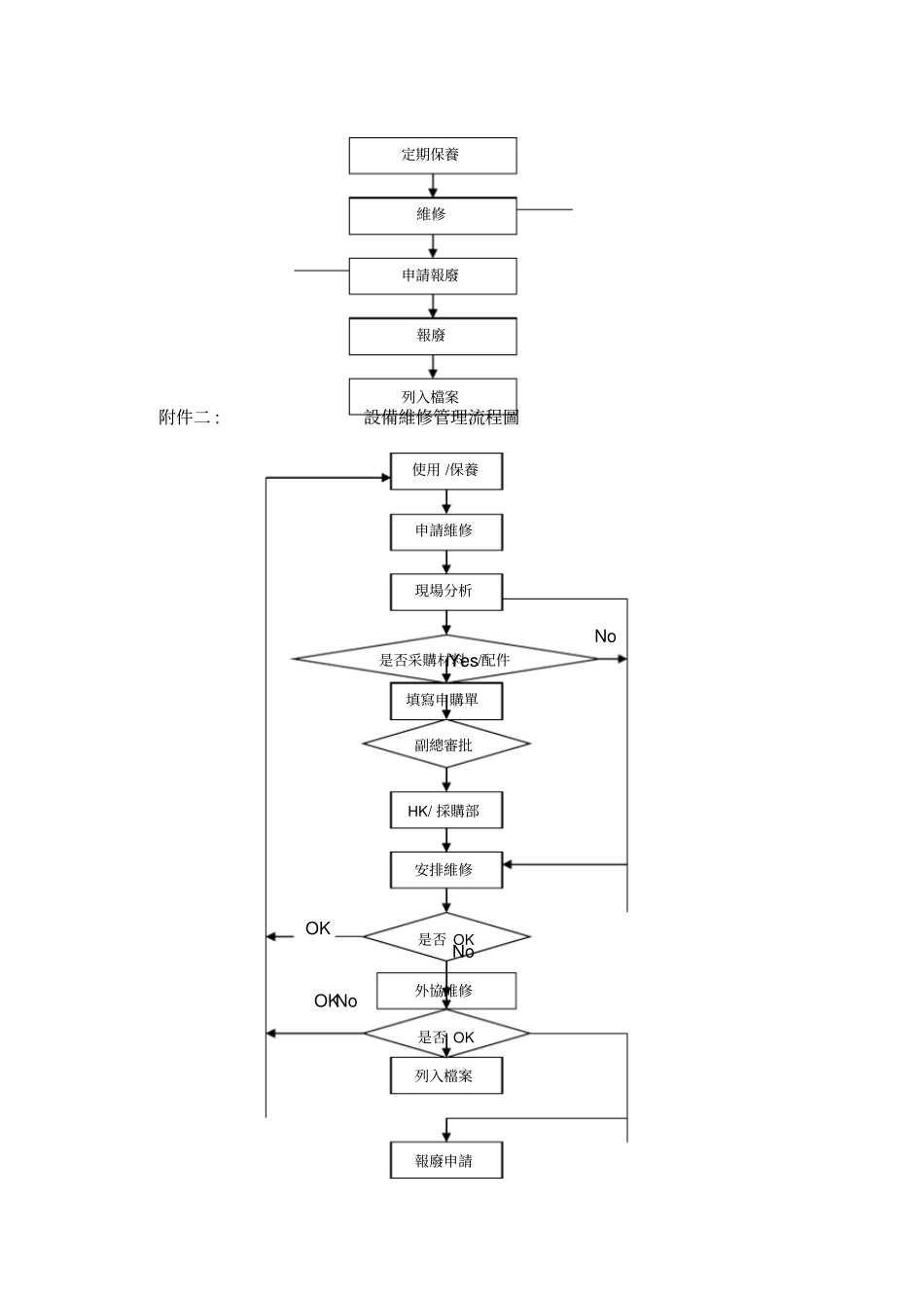
1. 目的為了工厂的机械設備及模具适合生產的需求,特制定本程序。2. 范圍工厂各部門所有机械設備及模具均屬本程序范圍。3. 權責 3.1 設備增補申請 : 生產或所需部門;3.2 設備增補審查与批准:副總經理;3.3 設備及材料購買:香港營業部或采購部;3.4 設備安裝驗收,定期与不定期保養、調試維修、外協与報廢申報:維修部;3.5 模具的驗收、保養、維修:工程部;3.6 設備使用与日常維護保養:生產或使用部門。4. 定義無。5. 作業內容 5.1 生產設備的管理流程 ( 見附件一 ) 。5.2 設備增補:設備增補由生產或使用部門依《資源管理程序》進行。 5.3 設備驗收与安裝:設備進廠后由維修部負責安裝驗收,驗收合格后依驗收情況填寫<設備驗收單>,並按設備類別賦予編號后列入<設備清單>,建立<設備檔案>后交付使用部門使用。5.4 設備維護与保養:5.4.1設備的日常維護保養由使用部門依據<設備日常保養作業指導書>中之規定進行,並記錄在<設備日常保養記錄表>中;5.4.2 不定期保養:當停机時由維修人員做不定期保養,並記錄在<設備檔案>中;5.4.3 定期保養:定期保養每半年一次,並記錄在<設備檔案>中。5.5 設備維修5.5.1 設備維修管理流程圖 ( 見附件二 ) ;5.5.2 設備維修:當日常保養或使用中發現机器設備出現異常時,由使用部門通知維修部,由維修部安排人員維修;5.5.3 當維修過程中需采購材料或配件時,由維修部填寫<申購單>經副總經理審批后通知采購部或香港營業部進行采購;5.5.4 設備的外協加工与維修:如果設備損坏,本廠無條件維修時,由維修部用書面報告申請外協加工並提供相應之圖紙和技術資料,經副總經理審批后進行;5.5.5設備維修過程需要一天以上或影響生產半天以上應向副總經理呈報。5.6 設備的淘汰与報廢 :當設備已經不能适應生產需要或不能再維修時由維修部填寫<報廢申請單>,經副總經理審批后依指示處理。5.7 模具管理:5.7.1模具之檔案建立由工程部負責, 并記錄入<模具清單>和<模具維修保養記錄表>;5.7.2 模具之日常保養由工程部負責;5.7.3 模具的維修及定期保養由工程部負責,并記錄在《模具維修保養記錄表》中。5.8 記錄保存:依《質量記錄管理程序》進行。6. 相關文件6.1 《資源管理程序》6.2 《質量記錄管理程序》7. 表單 7.1 <設備驗收單>7.2 <設備清單>7.3 <設備檔案>7.4 <設備保養記錄表>7.5 <申購單> 7.6 <模具清單>7.7 <模具...

1、当您付费下载文档后,您只拥有了使用权限,并不意味着购买了版权,文档只能用于自身使用,不得用于其他商业用途(如 [转卖]进行直接盈利或[编辑后售卖]进行间接盈利)。
2、本站所有内容均由合作方或网友上传,本站不对文档的完整性、权威性及其观点立场正确性做任何保证或承诺!文档内容仅供研究参考,付费前请自行鉴别。
3、如文档内容存在违规,或者侵犯商业秘密、侵犯著作权等,请点击“违规举报”。

碎片内容

生产设备管理程序a

确认删除?
VIP
微信客服
  • 扫码咨询
会员Q群
  • 会员专属群点击这里加入QQ群
客服邮箱
回到顶部