电脑桌面
添加小米粒文库到电脑桌面
安装后可以在桌面快捷访问

防火卷帘使用说明书样本

防火卷帘使用说明书样本_第1页
1/10
防火卷帘使用说明书样本_第2页
2/10
防火卷帘使用说明书样本_第3页
3/10
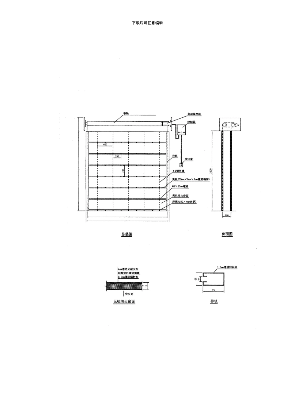
下载后可任意编辑防 火 卷 帘 使用说明书江苏省金鑫安防设备有限公司感谢您选择使用江苏省金鑫安防设备有限公司产品! 在启用产品前请您认真阅读本使用说明书, 正确的使用和维护能够让产品保持良好状态, 发挥最佳效用。一、 产品介绍1、 概述防火卷帘门广泛应用于商场、 仓库、 厂房、 地下车库、 饭店、 大厦等工程的大空间防火隔断, 能阻止火势蔓延, 确保生命财产安全, 是现代建筑中必不可少的配套产品, 防火卷帘门根据耐火等级及材料可分为特级防火卷帘、 无机纤维复合防火卷帘、 钢质防火卷帘三大类型, 我公司生产的防火卷帘系列产品经过国家防火建筑材料监督检验中心根据国标《GB14102- 》检验, 其耐火极限均满足国标要求, 达到了同类产品的领先水平。下载后可任意编辑特级防火卷帘门是指用无机纤维材料做帘面, 用钢质材料做导轨、 座板、 夹板、 门楣、 箱体等, 并配以防火卷门机和电脑控制箱所组成的能符合耐火完整性, 隔热性和防烟性能要求的卷帘。我公司生产的特级防火卷帘, 采纳新型的无机防火布、 抗热辐射布及装饰布组成的复合结构帘面, 中间夹层为优质新型耐火材料, 精心加工而成, 安装完成结构为双轨双帘, 可替代防火墙, 无需水幕保护, 大火不变型, 保持高温强力等功能, 其防火隔热性能达到国标要求。无机纤维复合防火卷帘门是指用无机纤维材料做帘面, 用钢质材料做夹板、 导轨、 座板、 门楣、 箱体等, 并配以防火卷门机和电脑控制箱所组成的能符合耐火完整性要求的卷帘, 其制作工艺及材料与特级防火卷帘相似, 同样能保持高温强力, 大火不变形等功能, 安装完成结构为单轨单帘, 可替代钢质防火卷帘门, 它具有外型平整美观、 重量轻, 启闭灵活, 安装空间小、 使用安全、 可靠等特点, 更适合于大跨度门洞使用。钢质防火卷帘门是指用钢质材料做帘板, 导轨、 座板、 门楣、 箱体等, 并配以防火卷门机和控制箱所组成的能符合耐火完整性要求的卷帘, 我公司生产的钢质防火卷帘门是选用优质带钢, 采纳最先进的双层帘片挤压成复合结构, 中间填充优质耐火材料, 采纳流水线生产技术加工而成。具有外型平整、 美观、 结构紧凑, 启闭灵活, 使用安全可靠等特点。我公司生产安装的特级、 无机纤维复合、 钢质防火卷帘, 采纳双面按钮开关控制, 无论防火区域任意一面失火, 均可在其背火面控制, 并可经过消防控制中心烟感、 温感探头自动控制。2、 结构示意图、 名称...

1、当您付费下载文档后,您只拥有了使用权限,并不意味着购买了版权,文档只能用于自身使用,不得用于其他商业用途(如 [转卖]进行直接盈利或[编辑后售卖]进行间接盈利)。
2、本站所有内容均由合作方或网友上传,本站不对文档的完整性、权威性及其观点立场正确性做任何保证或承诺!文档内容仅供研究参考,付费前请自行鉴别。
3、如文档内容存在违规,或者侵犯商业秘密、侵犯著作权等,请点击“违规举报”。

碎片内容

防火卷帘使用说明书样本

确认删除?
VIP
微信客服
  • 扫码咨询
会员Q群
  • 会员专属群点击这里加入QQ群
客服邮箱
回到顶部