电脑桌面
添加小米粒文库到电脑桌面
安装后可以在桌面快捷访问

螺杆泵维护检修规程完整教程文件

螺杆泵维护检修规程完整教程文件_第1页
1/11
螺杆泵维护检修规程完整教程文件_第2页
2/11
螺杆泵维护检修规程完整教程文件_第3页
3/11
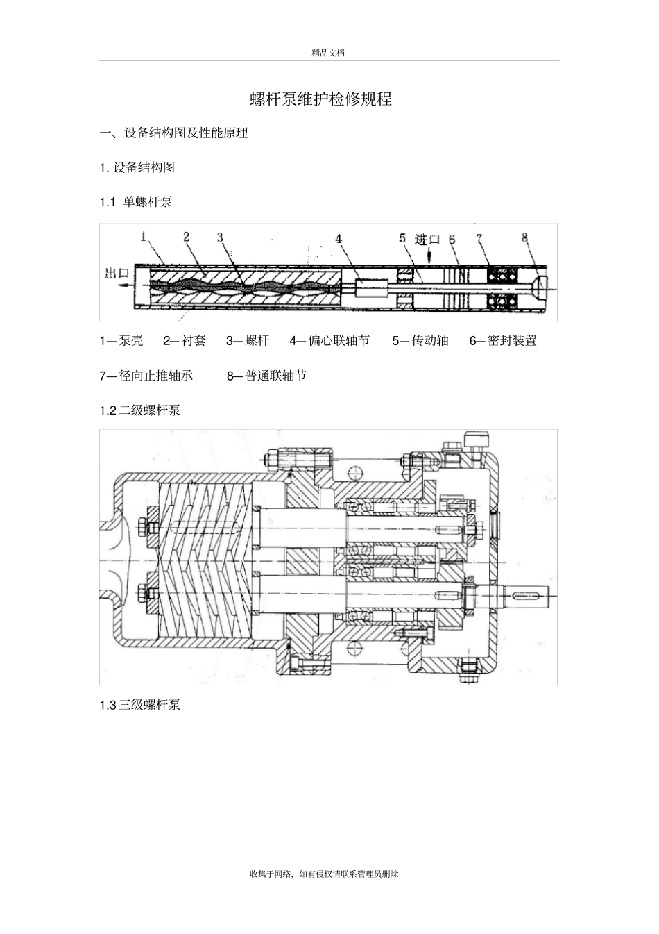
螺 杆 泵 维 护 检 修 规 程( 完 整 )精品文档收集于网络,如有侵权请联系管理员删除螺杆泵维护检修规程一、设备结构图及性能原理1. 设备结构图1.1 单螺杆泵1—泵壳 2—衬套 3—螺杆 4—偏心联轴节 5—传动轴 6—密封装置7—径向止推轴承 8—普通联轴节1.2 二级螺杆泵1.3 三级螺杆泵精品文档收集于网络,如有侵权请联系管理员删除2. 设备性能原理2.1 螺杆泵是依靠螺杆相互啮合空间的容积变化来输送液体的当螺杆转动时吸入腔一端的密封线连续地向排出腔一端作轴向移动,使吸入腔容积增大,压力降低,液体在压差作用下沿吸入管进入吸入腔。随着螺杆的转动,密封腔内的液体连续而均匀地沿轴向移动到排出腔,由于排出腔一端的容积逐渐缩小,即把液体排出。二、检修1. 适用范围及编写依据,采用的标准及参考资料目录1.1 本规程适用于石油化工单螺杆泵、双螺杆、三螺杆泵的维护和检修. 1.2 编写标准及参考资料目录 HGJ 1039— 79 化工厂螺杆泵维护检修规程 GB 10885— 89 单螺杆泵技术条件 GB 110887— 89 三螺杆泵技术条件 GB11035— 89船用电动双螺杆泵技术条件 GB 3852— 83 联轴器轴孔和键槽型式及尺寸 IS0 3945泵振动评价标准 SHS 01001--2004石油化工设备完好标准《化工厂机械手册》化学工业出版社 1989 精品文档收集于网络,如有侵权请联系管理员删除《工业泵选用手册》化学工业出版社 1998 国际标准化组织推荐使用的日本川铁公司企业标准2 检修周期与内容2.1 检修周期检修周期见下表,根据运行状况及状态监测结果可适当调整检修周期. 检修类别小修大 修检修周期(月)6 24 2.2 检修内容与程序2.2.1 小修项目2.2.1.1 检查轴封泄漏情况,调整压盖与轴的间隙,更换填料或修理机械密封. 2.2.1.2 检查轴承 . . 2.2.1.3 检查各部位螺栓紧固情况 . 2.2.1.4 消除冷却水、封油和润滑系统在运行中出现的跑、冒、滴、漏等缺陷. 2.2.1.5 检查联轴器及对中情况 . 2.2.2 大修项目2.2.2.1 包括小修项目内容 . 2.2.2.2 解体检查各部件磨损情况,测量并调整各部件配合间隙. 2.2.2.3 检查齿轮磨损情况,调整同步齿轮间隙. . 2.2.2.4 检查螺杆直线度及磨损情况. 2.2.2.5 检查泵体内表面磨损情况 . 2.2.2.6 校验压力表、安全阀o 3.检修准备、检验程序及质量标准精品文档收集于网络,如有侵权请联系管理员删除3.1 检修前准备3.1.1 掌握运行情况,备齐必要的图纸资料. ...

1、当您付费下载文档后,您只拥有了使用权限,并不意味着购买了版权,文档只能用于自身使用,不得用于其他商业用途(如 [转卖]进行直接盈利或[编辑后售卖]进行间接盈利)。
2、本站所有内容均由合作方或网友上传,本站不对文档的完整性、权威性及其观点立场正确性做任何保证或承诺!文档内容仅供研究参考,付费前请自行鉴别。
3、如文档内容存在违规,或者侵犯商业秘密、侵犯著作权等,请点击“违规举报”。

碎片内容

螺杆泵维护检修规程完整教程文件

文库当当响+ 关注
实名认证
内容提供者

该用户很懒,什么也没介绍

确认删除?
VIP
微信客服
  • 扫码咨询
会员Q群
  • 会员专属群点击这里加入QQ群
客服邮箱
回到顶部