电脑桌面
添加小米粒文库到电脑桌面
安装后可以在桌面快捷访问

过程产品抽样检验标准

过程产品抽样检验标准_第1页
1/4
过程产品抽样检验标准_第2页
2/4
过程产品抽样检验标准_第3页
3/4
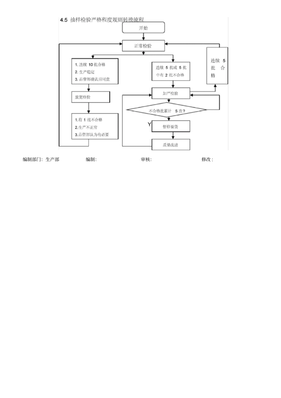
文件类别:操作文件发到:文件名称:质量部过程产品抽样检验标准页数:1/3 生效日期::批准 : 1.目的为车间批量生产的用抽检方式进行检验的零件提供一个检验数量和判定数量的依据2. 适用范围适用于公司各生产车间连续批生产的且过程受控的产品的检验3. 参考资料3.1GB2828-87逐批检查计数抽样程序及抽样表3.2MIL-SD-105E逐批检查计数抽样方案4. 规定4.1 接收批量,分批次、品种、规格,采用分层随机抽样法4.2 根据产品不同的质量特性,采用不同的AQL 值4.2.1 冲压件产品尺寸采用-----AQL值为 1.0; 4.2.2 装配生产的半成品 ------AQL值为 1.5; 4.2.3 装配成品检验采用 ------- AQL 值为 1.0; 4.2.4 外观检验采用 ------- AQL 值为 2.5; 4.3 术语名词3.2.1 AQL----合格质量水平 (每百件产品的不合格品数表示)4.3.2 Ac —— 合格判定数4.3.3 Re ---- 不合格判定数4.3.4 IL ----- 检验水平 (为确定判断能力而规定的批量与样本大小之间关系的等级划分)4.3.4.1IL 等级划分三级即划分为一般检验水平I 一般检验水平 U—般检验水平川4.3.4.2 判断能力川 > H > I 4.3.5 样本量代码 ---- 确定样本大小的字码 (根据批量 N 和规定的检验水平确定) 4.3.6 批量 (N )----- 一批产品中所包含的单位产品的总数4.4 抽样标准中选定的检验水平IL 为 U 级,另有规定时参照GB2828-87抽样方案编制部门:生产部编制:审核:修改 : 文件名称:过程产品抽样检验标准编号:生效日期:页数:2/3 4.6 —次抽样检验流程4.7 拒收件按 << 过程检验不合格品程序>> 处理5.各种产品抽样检验标准5. 1钣金件产品尺寸和装配成品的一次正常. 加严. 放宽检验标准批量代码取样一次正常检杳取 样加严检查取样放宽检查AQL=1.0 AQL=1.0 AQL=1.0 Ac Re Ac Re Ac Re 9-15 B 3 0 1 3 0 1 2 0 1 16-25 C 5 0 1 5 0 1 2 0 1 26-50 D 8 0 1 8 0 1 3 0 1 51-90 E 13 0 1 13 0 1 5 0 1 91-150 F 20 1 2 20 0 1 8 0 1 151 280 G 32 1 2 32 1 2 13 0 1 1 1 乙H 50 1 2 50 1 乙2 1 O 0 1 501-1200 J 80 2 3 80 1 2 32 1 2 1201-3200 K 125 3 4 125 2 3 50 1 3 3201-10000 L 200 5 6 200 3 4 80 2 3 10001-35000 M 315 7 8 315 5 6 125 3 4 注:9 件以下全检编制部门:生产部...

1、当您付费下载文档后,您只拥有了使用权限,并不意味着购买了版权,文档只能用于自身使用,不得用于其他商业用途(如 [转卖]进行直接盈利或[编辑后售卖]进行间接盈利)。
2、本站所有内容均由合作方或网友上传,本站不对文档的完整性、权威性及其观点立场正确性做任何保证或承诺!文档内容仅供研究参考,付费前请自行鉴别。
3、如文档内容存在违规,或者侵犯商业秘密、侵犯著作权等,请点击“违规举报”。

碎片内容

过程产品抽样检验标准

确认删除?
VIP
微信客服
  • 扫码咨询
会员Q群
  • 会员专属群点击这里加入QQ群
客服邮箱
回到顶部