电脑桌面
添加小米粒文库到电脑桌面
安装后可以在桌面快捷访问

银行票据托收流程

银行票据托收流程_第1页
1/7
银行票据托收流程_第2页
2/7
银行票据托收流程_第3页
3/7
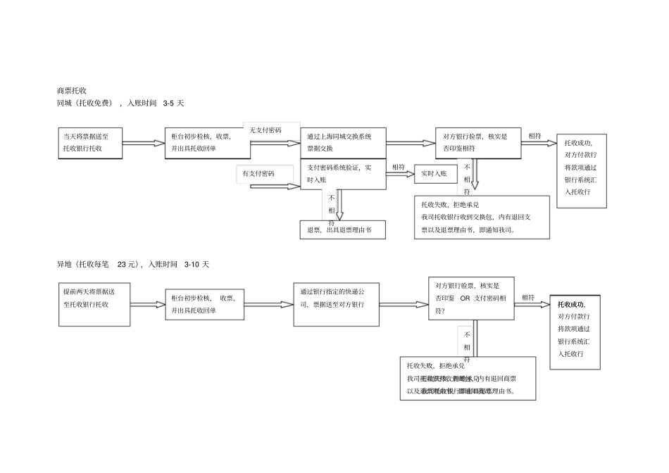
银行票据托收流程支票(托收免费)同城支票:托收入账时间为1-2 日异地支票(不超过50 万):托收入账时间为3 天左右当天将票据送至托收银行托收柜台初步检核, 收票,并出具托收回单相符托收成功, 小额批量支付系统将款项划出不相符托收失败,拒绝承兑,付款行小额批量支付系统发起支票影像业务拒绝付款回执,托收行通知我司票据通过全国支票影像系统将支票影像扫描至系统发送至对方银行当天将票据送至托收银行托收柜台初步检核,收票,并出具托收回单对方银行验印,核实是否印鉴相符相符托收成功,对方付款行将款项通过银行系统汇入托收行不相符托收失败,拒绝承兑我司托收银行收到交换包,内有退回支票以及退票理由书,即通知我司。提出票据清单和票据送上海同城交换系统支付密码系统验证,实时入账有支付密码无支付密码相符实时入账不相符银行后台制作票据清算信息发送对方银行对方银行专门部门负责每 天 去 该 系 统 查 询 资料,并验印OR 支付密码退票,出具退票理由书商票托收同城(托收免费) ,入账时间3-5 天异地(托收每笔23 元),入账时间3-10 天当天将票据送至托收银行托收柜台初步检核,收票,并出具托收回单对方银行验票,核实是否印鉴相符相符托收成功,对方付款行将款项通过银行系统汇入托收行不相符托收失败,拒绝承兑我司托收银行收到交换包,内有退回支票以及退票理由书,即通知我司。通过上海同城交换系统票据交换支付密码系统验证,实时入账有支付密码无支付密码相符实时入账不相符提前两天将票据送至托收银行托收柜台初步检核, 收票,并出具托收回单通过银行指定的快递公司,票据送至对方银行相符托收成功不相符托收失败,拒绝承兑我司托收银行即出具退票理由书。对方银行验票,核实是否印鉴OR 支付密码相符?托收成功,对方付款行将款项通过银行系统汇入托收行托收失败,拒绝承兑我司托收银行收到邮包,内有退回商票以及退票理由书,即通知我司。退票,出具退票理由书银承兑汇票同城、异地(同城免费,异地托收每笔23 元)入账时间3-10 天同城票据交换银行内部流程请详附件一异地票据影像作业银行内部流程请详附件二提前 2 天将票据送至托收银行托收柜台初步检核, 收票,并出具托收回单通过银行指定的快递公司或票据交换所,票据送至对方银行银行内部审核流程请详注释一相符托收成功,付款行通过银行系统将款项汇入不相符托收失败,拒绝承兑我司托收银行即出具退票理由书。注释一:承兑汇票...

1、当您付费下载文档后,您只拥有了使用权限,并不意味着购买了版权,文档只能用于自身使用,不得用于其他商业用途(如 [转卖]进行直接盈利或[编辑后售卖]进行间接盈利)。
2、本站所有内容均由合作方或网友上传,本站不对文档的完整性、权威性及其观点立场正确性做任何保证或承诺!文档内容仅供研究参考,付费前请自行鉴别。
3、如文档内容存在违规,或者侵犯商业秘密、侵犯著作权等,请点击“违规举报”。

碎片内容

银行票据托收流程

确认删除?
VIP
微信客服
  • 扫码咨询
会员Q群
  • 会员专属群点击这里加入QQ群
客服邮箱
回到顶部