电脑桌面
添加小米粒文库到电脑桌面
安装后可以在桌面快捷访问

安全目标和安全保证体系及措施

安全目标和安全保证体系及措施_第1页
1/33
安全目标和安全保证体系及措施_第2页
2/33
安全目标和安全保证体系及措施_第3页
3/33
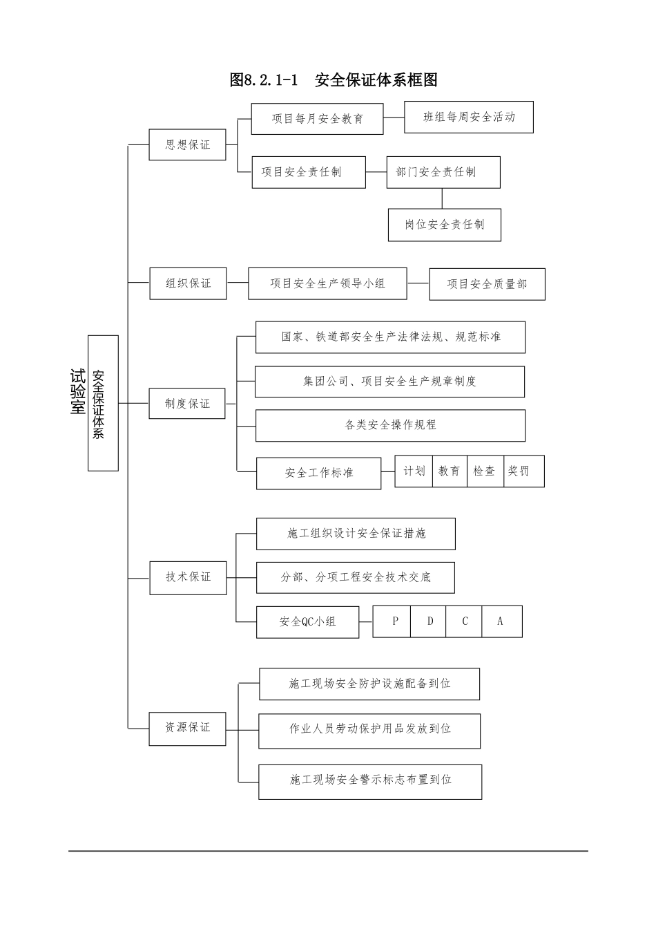
第八章安全目标和安全保证体系及措施8.1 安全目标坚持“安全第一,预防为主,综合治理”的方针,建立健全安全管理组织机构,完善安全生产保证体系,杜绝安全特别重大、重大、大事故,杜绝死亡事故,防止一般事故的发生。消灭一切责任事故,确保人民生命财产不受损害。创建安全生产标准工地。8.2 安全保证体系8.2.1 安全保证体系严格按照 GB/T28001-2001 职业健康安全管理体系标准的要求建立项目安全生产保证体系。贯彻国家有关安全生产的法律、法规,严格执行现行《铁路工程施工安全技术规程》,制定安全包保责任制,逐级签订安全承包合同,使各级明确安全职责和安全目标,牢固树立“安全第一,预防为主,综合治理”的思想意识,充分体现“安全生产、事事相关、人人有责”,达到领导挂帅、全员参与、全面管理的目的,使安全工作制度化、经常化,确保施工生产安全。安全保证体系见“图 8.2.1-1 安全保证体系框图”。8.2.2 安全生产管理机构成立以指挥长(项目经理)为组长,副指挥长(项目副经理)、总工程师为副组长,有关业务部门领导、各施工队安全领导小组组长为成员的安全领导小组,负责安全生产的组织、协调和领导。各施工队成立相应安全生产领导小组。坚持“管生产必须管安全”的原则,建立健全岗位责任制,从组织上,制度上保证安全生产,做到程序化、规范化施工,全面实现安全目标。安全管理组织机构见“图 8.2.2-1 安全管理组织机构框图”。8.2.3 安全生产责任制⑴指挥长(项目经理)安全生产责任项目经理在安全生产方面对总经理负责,是工程项目安全生产第一责任者和管理者,对本工程项目安全生产负全面责任。其安全生产责任是:①贯彻落实国家安全生产方针、政策、法令、法规和各项规章制度,落实企业安全生产各项规章制度,结合工程项目特点及施工性质,制定有图8.2.1-1安全保证体系框图国家、铁道部安全生产法律法规、规范标准组织保证项目安全生产领导小组项目安全质量部思想保证项目安全责任制部门安全责任制项目每月安全教育班组每周安全活动岗位安全责任制试验室安全保证体系资源保证技术保证制度保证集团公司、项目安全生产规章制度各类安全操作规程安全工作标准计划教育检查奖罚施工组织设计安全保证措施分部、分项工程安全技术交底安全QC小组P D C A施工现场安全防护设施配备到位作业人员劳动保护用品发放到位施工现场安全警示标志布置到位图8.2.2-1安全管理组织机构框图各工程队队长各工点安全员各工区负责人各业务部...

1、当您付费下载文档后,您只拥有了使用权限,并不意味着购买了版权,文档只能用于自身使用,不得用于其他商业用途(如 [转卖]进行直接盈利或[编辑后售卖]进行间接盈利)。
2、本站所有内容均由合作方或网友上传,本站不对文档的完整性、权威性及其观点立场正确性做任何保证或承诺!文档内容仅供研究参考,付费前请自行鉴别。
3、如文档内容存在违规,或者侵犯商业秘密、侵犯著作权等,请点击“违规举报”。

碎片内容

安全目标和安全保证体系及措施

您可能关注的文档

文库响当当+ 关注
实名认证
内容提供者

该用户很懒,什么也没介绍

确认删除?
VIP
微信客服
  • 扫码咨询
会员Q群
  • 会员专属群点击这里加入QQ群
客服邮箱
回到顶部