电脑桌面
添加小米粒文库到电脑桌面
安装后可以在桌面快捷访问

Dewrance锻造高加三通入口

Dewrance锻造高加三通入口_第1页
1/7
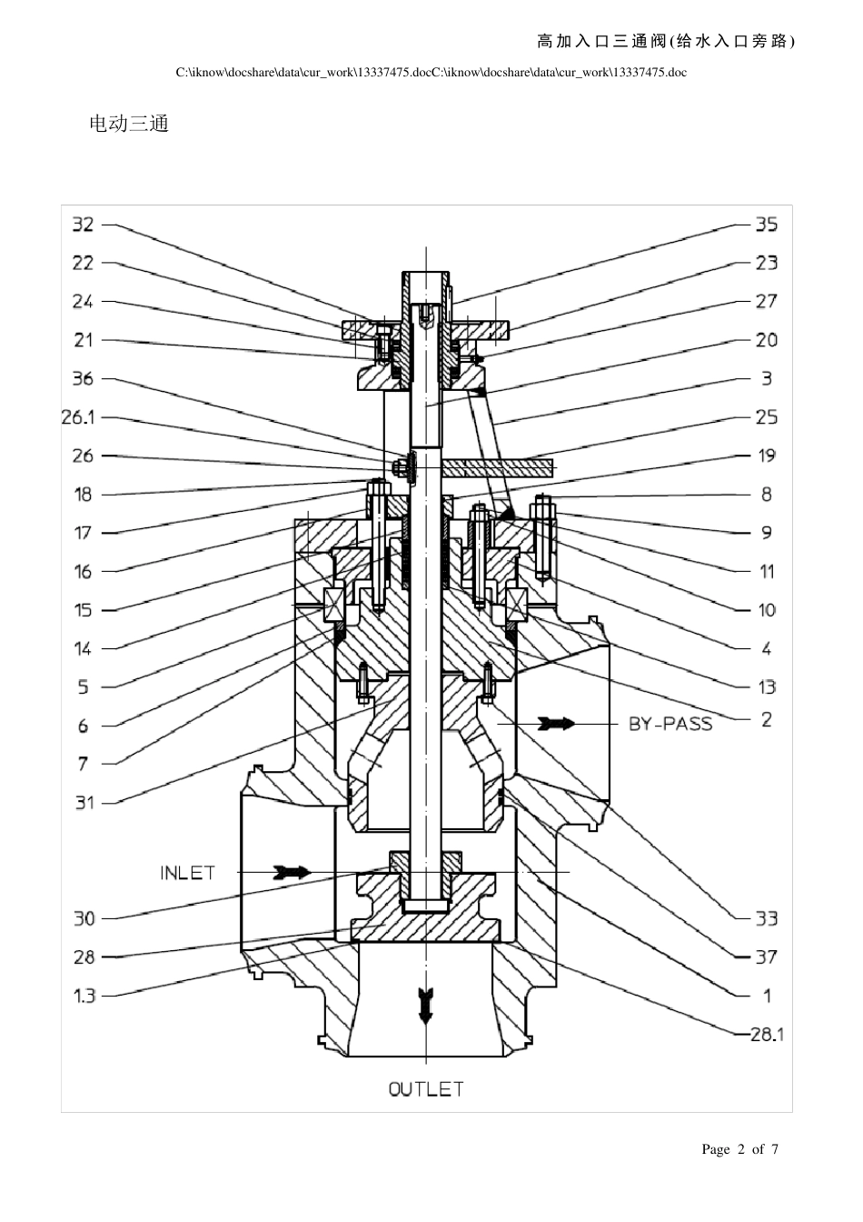
Dewrance锻造高加三通入口_第2页
2/7
Dewrance锻造高加三通入口_第3页
3/7
C:\iknow\docshare\data\cur_work\13337475.docC:\iknow\docshare\data\cur_work\13337475.doc 高加入口三 通 阀 ( 给 水 入口旁 路 ) Page 1 of 7 Dew rance®迪兰斯® -RAI 高加三通阀 (给水入口旁路) C:\iknow \docshare\data\cur_w ork\13337475.docC:\iknow \docshare\data\cur_w ork\13337475.doc 高加入口三 通 阀 ( 给 水 入口旁 路 ) Page 2 of 7 电动三通 C:\iknow \docshare\data\cur_w ork\13337475.docC:\iknow \docshare\data\cur_w ork\13337475.doc 高加入口三 通 阀 ( 给 水 入口旁 路 ) Page 3 of 7 液动三通 C:\iknow \docshare\data\cur_w ork\13337475.docC:\iknow \docshare\data\cur_w ork\13337475.doc 高加入口三 通 阀 ( 给 水 入口旁 路 ) Page 4 of 7 序号 数量 (套) 名称 1 1 阀 体 1.3 1 阀 座 2 1 阀 盖 2A* 1 O 型 圈 3 1 支 架 4 1 安 全 环 5 1 多 瓣 环 6 1 环 7 1 阀 体 、阀 盖 垫圈 8 1 阀 体 、阀 盖 螺栓 9 1 阀 体 、阀 盖 螺母 10 1 螺母 11 1 螺栓 13 1 基环 14 1 盘根 15 1 格兰 16 1 格兰法兰 17 1 格兰螺母 18 1 格兰螺栓 19 1 格兰垫圈 20 1 阀 杆 C:\iknow \docshare\data\cur_w ork\13337475.docC:\iknow \docshare\data\cur_w ork\13337475.doc 高加入口三 通 阀 ( 给 水 入口旁 路 ) Page 5 of 7 21 1 支 架 螺 母 22 1 轴 承 23 1 法 兰 24 1 沉 头 螺 钉 25 1 位置指示器 26 1 安全销 26.1 1 螺 母 27 1 润滑器 28 1 阀芯 28.1 1 阀芯表面 29 * 1 分裂环 30 1 阀芯螺 母 31 1 汽缸 32 1 O 型圈 33 1 沉 头 螺 钉 35 1 键 36 1 阀杆键 37 1 O 型圈 37A* 1 O 型圈 37B* 1 O 型圈 38 1 活塞环 40* 1 阀杆锁 C:\iknow \docshare\data\cur_w ork\13337475.docC:\iknow \docshare\data\cur_w ork\13337475.doc 高加入口三 通 阀 ( 给 水 入口旁 路 ) Page 6 of 7 44* 1 键 45 * 1 位置指示器 46* 1 安全销 46.1* 1 螺母 47* 1 手轮 48* 1 手轮螺母 73* 1 线性环 95* 1 限位开关 118* 1 喷嘴 131* 1 铰链 132* 1 沉头螺钉 注:* 为液动三通独有的部件 推荐备件 2A* O 型圈 7 垫圈 14 盘根 13 基环 20 阀杆 21 支架螺母 22 轴承 28 阀芯 包括阀芯螺母(30) C:\iknow \docshare\data\cur_w ork\13337475.docC:\iknow \docshare\data\cur_w ork\13337475.doc 高加入口三 通 阀 ( 给 水 入口旁 路 ) Page 7 of 7 33 螺 栓 37 O 型 圈 37a O 型 圈 37b O 型 圈 38 活塞环

1、当您付费下载文档后,您只拥有了使用权限,并不意味着购买了版权,文档只能用于自身使用,不得用于其他商业用途(如 [转卖]进行直接盈利或[编辑后售卖]进行间接盈利)。
2、本站所有内容均由合作方或网友上传,本站不对文档的完整性、权威性及其观点立场正确性做任何保证或承诺!文档内容仅供研究参考,付费前请自行鉴别。
3、如文档内容存在违规,或者侵犯商业秘密、侵犯著作权等,请点击“违规举报”。

碎片内容

Dewrance锻造高加三通入口

确认删除?
VIP
微信客服
  • 扫码咨询
会员Q群
  • 会员专属群点击这里加入QQ群
客服邮箱
回到顶部