电脑桌面
添加小米粒文库到电脑桌面
安装后可以在桌面快捷访问

建设单位工程项目管理流程图

建设单位工程项目管理流程图_第1页
1/14
建设单位工程项目管理流程图_第2页
2/14
建设单位工程项目管理流程图_第3页
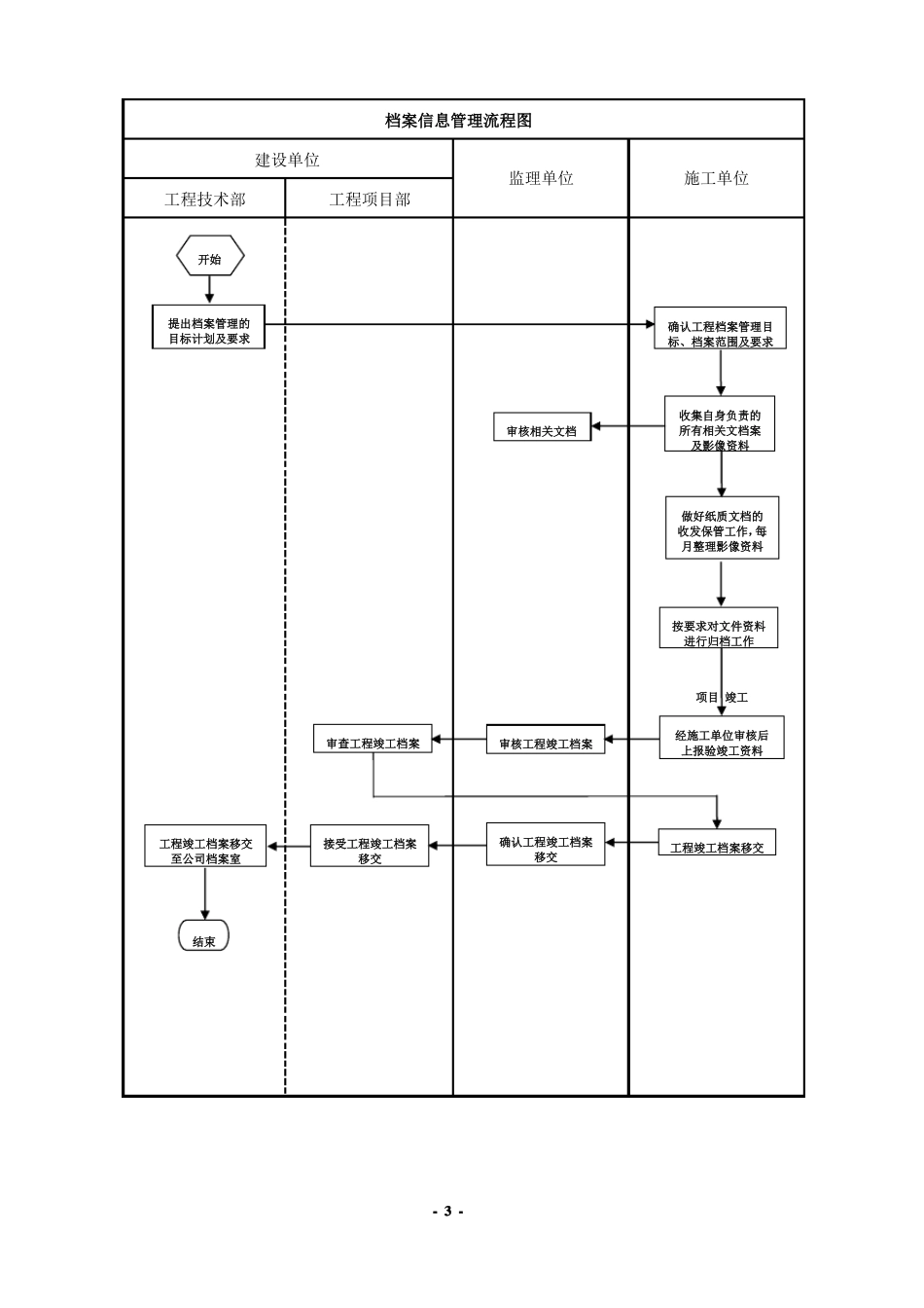
3/14
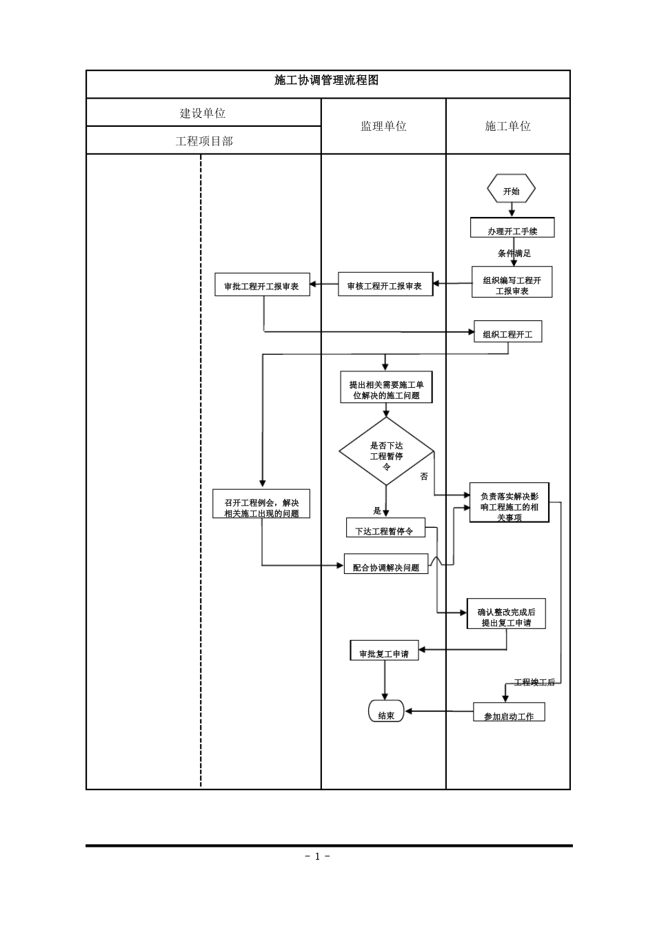
施工协调管理流程图建设单位工程项目部监理单位施工单位开始办理开工手续条件满足组织编写工程开工报审表召开工程例会,解决相关施工出现的问题审批工程开工报审表审核工程开工报审表提出相关需要施工单位解决的施工问题是否下达工程暂停令否组织工程开工负责落实解决影是响工程施工的相关事项下达工程暂停令审批复工申请配合协调解决问题工程竣工后结束确认整改完成后提出复工申请参加启动工作- 1 -工程建设月报上报流程图建设单位工程技术部汇总物资、施工、监理工程建设情况,报有关部门监理单位工程项目部施工单位理月报,编制《项目,每月 28建设月报》日前报工程部长汇总物资、施工、监开始审查施工月报,并编制监理月报,每月 26 日前报工程技部术部项目负责人编制月报(包括各个专业本月工作情况,存在的困难和问题以及相应对策,下月进度计划),每月 25日前报监理单位- 2 -档案信息管理流程图建设单位工程技术部监理单位工程项目部施工单位确认工程档案管理目标、档案范围及要求收集自身负责的所有相关文档案及影像资料做好纸质文档的收发保管工作,每月整理影像资料按要求对文件资料进行归档工作项目 竣工开始提出档案管理的目标计划及要求接受工程竣工档案移交审查工程竣工档案审核相关文档审核工程竣工档案经施工单位审核后上报验竣工资料确认工程竣工档案移交工程竣工档案移交工程竣工档案移交至公司档案室结束- 3 -项目安全管理工作总体流程(一)政府安全监督部门监督检查工程安全管理体的建立和运行项目前期及施工准备阶段建设单位参建单位工程项目部开始建立安全管理网络建立安全管理制度和安全管理台账督促、检查参建单位编制安全管理制度、台账及危险点预控措施审批参建单位的安全文明施工策划符合要求是开工前,召开第一次安全会议监理项目部施工项目部编制安全监编制安全文明理 工 作 方施工实施细则案,建立安方案及危险点全管理台账预控措施,建立安全管理台账修改完善否施工项目部审核安措费使用情况,对现场安全文明施工条件及措施落实情况进行把关开工前,落实安 全 文 明 措施,落实安全会议精神和风险、应急、分包等管理措施监理项目部达到安全开工条件条件是开工文明施工否整改完善- 4 -项目安全管理工作总体流程(二)建设单位政府安全监督部门分管经理总工工程技术部参建单位工程项目部A组织实施全过程安全管理定期召开安全会议组织开展安全管理活动组织月度和随机安全检查落实季度及专项安全大...

1、当您付费下载文档后,您只拥有了使用权限,并不意味着购买了版权,文档只能用于自身使用,不得用于其他商业用途(如 [转卖]进行直接盈利或[编辑后售卖]进行间接盈利)。
2、本站所有内容均由合作方或网友上传,本站不对文档的完整性、权威性及其观点立场正确性做任何保证或承诺!文档内容仅供研究参考,付费前请自行鉴别。
3、如文档内容存在违规,或者侵犯商业秘密、侵犯著作权等,请点击“违规举报”。

碎片内容

建设单位工程项目管理流程图

确认删除?
VIP
微信客服
  • 扫码咨询
会员Q群
  • 会员专属群点击这里加入QQ群
客服邮箱
回到顶部