电脑桌面
添加小米粒文库到电脑桌面
安装后可以在桌面快捷访问

企业管理流程

企业管理流程_第1页
1/111
企业管理流程_第2页
2/111
企业管理流程_第3页
3/111
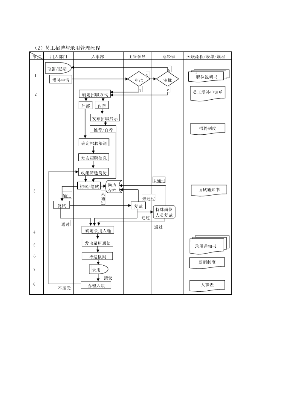
企业管理流程 1 .人 事 管 理 流 程 如 果 将 企 业 比 作 一 辆 汽 车 , 那 么 人 事 管 理 就 是 发 动 机 。 发 动 机 的 力 量 决 定 了 汽 车 奔 跑 的 速 度 , 人事 管 理 则 决 定 了 企 业 的 发 展 。 高 效 的 人 事 管 理 可 以 增 强 企 业 市 场 竞 争 力 , 增 强 企 业 凝 聚 力 和 活 力 , 速进 企 业 平 稳 发 展 。 一 般 来 说 , 现 代 企 业 人 事 管 理 工 作 的 主 要 内 容 有 人 力 资 源 规 划 、 员 工 招 聘 与 任 用 、 员 工 培 训 、 薪酬 福 利 、 绩 效 考 核 与 奖 惩 、 考 勤 与 休 假 、 人 事 档 案 、 劳 动 合 同 管 理 等 多 方 面 。 每 一 方 面 内 容 , 企 业 都 应 建 立 相 应 的 流 程 , 将 人 事 工 作 中 一 些 常 规 的 程 序 流 程 化 、 标 准 化 , 确 保各 项 人 事 工 作 执 行 到 位 , 保 证 企 业 各 项 工 作 能 够 顺 利 执 行 。 下 面 , 是 某 企 业 人 事 管 理 流 程 图 , 仅供参考 。 (1)人 事 管 理 总流 程 图 企 业 发 展 战略 部门职责 组织结构设置 工 作 分析 定 岗定 编 年度 编制计划 组织 结构图 岗位 说 明书 考 核 评估 离职 入职 试用 转正 档 案 考 勤 奖 惩 劳 动 合 同 休 假 薪 酬 福 利 人 才 储备 岗位 调整 培 训 职业 生涯 绩 效 管 理 薪 酬 福 利 培 训 发 展 员 工 关系 …… 招 聘 (2)员工招聘与录用管理流程 节点 用人部门 人事部 主管领导 总经理 关联流程/表单/规程 1 职位说明书 薪酬制度 入职表 录用通知书 招聘制度 员工增补申请单 面试通知书 确定录用人选 待遇谈判 发出录用通知 办理入职 录用 确定招聘渠道 发布招聘信息 收集筛选简历 初试/笔试 复试 简历存档 特殊岗位人员复试 复试 取消/延期 推荐/自荐 增补申请 审批 审批 发布招聘启示 确定招聘方式 外部 内部 接受 N N Y Y 不接受 通过 通过 通过 未通过 未通过 通过 未通过 1 2 3 4 5 6 7 8 员工招聘与录用管理流程说明 流程节点 责任人 工作说明...

1、当您付费下载文档后,您只拥有了使用权限,并不意味着购买了版权,文档只能用于自身使用,不得用于其他商业用途(如 [转卖]进行直接盈利或[编辑后售卖]进行间接盈利)。
2、本站所有内容均由合作方或网友上传,本站不对文档的完整性、权威性及其观点立场正确性做任何保证或承诺!文档内容仅供研究参考,付费前请自行鉴别。
3、如文档内容存在违规,或者侵犯商业秘密、侵犯著作权等,请点击“违规举报”。

碎片内容

企业管理流程

确认删除?
VIP
微信客服
  • 扫码咨询
会员Q群
  • 会员专属群点击这里加入QQ群
客服邮箱
回到顶部