电脑桌面
添加小米粒文库到电脑桌面
安装后可以在桌面快捷访问

全过程监理工作划分程序

全过程监理工作划分程序_第1页
1/54
全过程监理工作划分程序_第2页
2/54
全过程监理工作划分程序_第3页
3/54
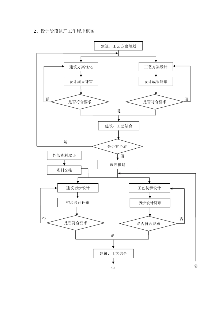
1 、全过程监理工作划分程序(图5 -1 ) 全过程监理工作任务划◇投资控制 ◇组织方案竞赛 ◇多方案优化设计 ◇审查工程概算 ◇管理设计合同 施工准备阶段 设计阶段 保修阶段 施工阶段 ◇进度控制 ◇审定工作计划 ◇进度协调控制 ◇进度动态管理 ◇质量控制 ◇设计标准规范 ◇控制差错碰漏 ◇设备选型 ◇设计文件验收 ◇投资控制 ◇合同承包价格 ◇工程计量 ◇工程变更 ◇工程索赔处理 ◇进度控制 ◇计划工期 ◇对比检查 ◇优化纠偏 ◇质量控制 ◇质量保证措施 ◇施工方案审核 ◇原材料控制 ◇工序质量检查 ◇工程验收 ◇ 投 资 控制 ◇ 编 写 招标文件 ◇ 编 制 送审标底 ◇进度控制 ◇组织招标 ◇质量控制 ◇协助业主签订承包合同 ◇投资控制 ◇合同保修价格 ◇进度控制 ◇合同保修期 ◇质量控制 ◇合同要求的质量标准 2 、设计阶段监理工作程序框图 建筑、工艺方案规划 建筑方案优化 设计成果评审 工艺方案设计 设计成果评审 是否符合要求 是否符合要求 否 否 是 建筑、工艺结合 是否有矛盾 规划报建 否 外部资料取证 资料交接 建筑初步设计 工艺初步设计 初步设计评审 初步设计评审 是否符合要求 是否符合要求 否 否 建筑、工艺结合 ① ② 是 是 3、工程建设监理工作总程序框图 是否有矛盾 工艺施工图设计 智能化设计 有 建筑施工图设计 设计评审 设计评审 设计评审 是否矛盾 是否矛盾 是否矛盾 有 有 有 建筑、工艺、智能化联合审查 是否有矛盾 有 施工图报建 施工 二次装修设计 无 ① ② 无 无 4、施工阶段监理工作主程序框图 按监理投标书的承诺,组建监理班子,组织监理人员开展工作 收集有关基础资料,熟悉工程现场情况 并开展监理工作 编制监理规划和监理实施细则 依据监理合同及法律、法规,开展工程建设前期阶段、设计阶段、施工准备阶段、施工阶段及保修阶段的全过程监理工作 参与工程项目竣工验收,签署监理意见 明确保修期监理工作 监督责任单位按期完成保修任务 向建设单位提交工程监理档案资料和监理工作总结,并将有关资料上交档案馆 审核工程量 审核预算 审核签发工程付款 处理索赔 上岗人员资格审查 原材料预控 购配件预控 设备预控 分项分部及单位工 程质量控制及验收 参加质量事故分析 监督事故处理方案 项目监理组进驻现场熟悉图纸及有关资料,编制监理规划及实施细则 监理人员...

1、当您付费下载文档后,您只拥有了使用权限,并不意味着购买了版权,文档只能用于自身使用,不得用于其他商业用途(如 [转卖]进行直接盈利或[编辑后售卖]进行间接盈利)。
2、本站所有内容均由合作方或网友上传,本站不对文档的完整性、权威性及其观点立场正确性做任何保证或承诺!文档内容仅供研究参考,付费前请自行鉴别。
3、如文档内容存在违规,或者侵犯商业秘密、侵犯著作权等,请点击“违规举报”。

碎片内容

全过程监理工作划分程序

您可能关注的文档

确认删除?
VIP
微信客服
  • 扫码咨询
会员Q群
  • 会员专属群点击这里加入QQ群
客服邮箱
回到顶部