电脑桌面
添加小米粒文库到电脑桌面
安装后可以在桌面快捷访问

一卡通系统使用流程VIP免费

一卡通系统使用流程_第1页
1/5
一卡通系统使用流程_第2页
2/5
一卡通系统使用流程_第3页
3/5
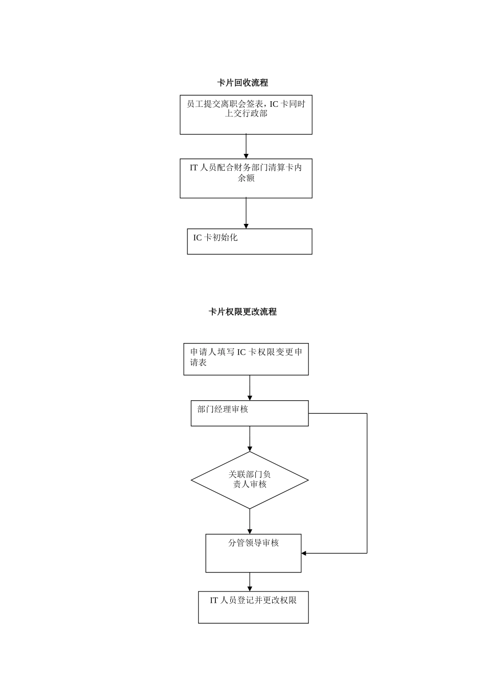
一卡通系统使用流程为了提升****的软环境,本着方便员工,提升管理水平,安全高效的原则,公司****设计上配备一卡通系统,一张IC卡集成考勤打卡,餐饮打卡,门禁打卡三项功能,下面就使用流程作如下规定:发卡流程新员工填写一卡通系统功能需求表所在部门及行政部门审核确定其IC卡权限IT人员登记并制作具有审核通过权限的IC卡新员工正式上班时到行政部领取其IC卡卡片回收流程卡片权限更改流程员工提交离职会签表,IC卡同时上交行政部IT人员配合财务部门清算卡内余额IC卡初始化申请人填写IC卡权限变更申请表部门经理审核关联部门负责人审核分管领导审核IT人员登记并更改权限卡片挂失(补发)流程考勤打卡流程按规定正常打卡挂失人填写挂失补发申请表部门经理审核补发分管领导审核补发到财务部门交纳卡片工本费并领取收据持收据到行政部门领取补发卡片设立考勤规定录入员工信息员工上下班打卡月度考勤统计按考勤管理制度逐级领导审核按考勤管理制度填写请假单人力资源部备案员工餐打卡流程门禁打卡流程注:外来人员进入办公楼需在前台处登记,并通知内部关联人员引领进入;外来人员如需就餐须持外来人员就餐申请单(员工餐),签字审核后方可就‘员工餐‘。按员工餐标准就餐打卡‘员工餐’打卡机处打卡就餐生成月度报表审核确定员工就餐次数并充入IC卡月末公司充入下月员工就餐次数员工自行IC卡充值续费自助消费‘自助消费‘打卡机处打卡就餐生成月度报表设立员工餐补助规定审核确定员工门禁权限指定区域打卡进入出门按‘开门按钮’自动生成出入记录报表

1、当您付费下载文档后,您只拥有了使用权限,并不意味着购买了版权,文档只能用于自身使用,不得用于其他商业用途(如 [转卖]进行直接盈利或[编辑后售卖]进行间接盈利)。
2、本站所有内容均由合作方或网友上传,本站不对文档的完整性、权威性及其观点立场正确性做任何保证或承诺!文档内容仅供研究参考,付费前请自行鉴别。
3、如文档内容存在违规,或者侵犯商业秘密、侵犯著作权等,请点击“违规举报”。

碎片内容

一卡通系统使用流程

您可能关注的文档

确认删除?
VIP
微信客服
  • 扫码咨询
会员Q群
  • 会员专属群点击这里加入QQ群
客服邮箱
回到顶部