电脑桌面
添加小米粒文库到电脑桌面
安装后可以在桌面快捷访问

第三章日常安全操作流程和表格VIP专享

第三章日常安全操作流程和表格_第1页
1/27
第三章日常安全操作流程和表格_第2页
2/27
第三章日常安全操作流程和表格_第3页
3/27
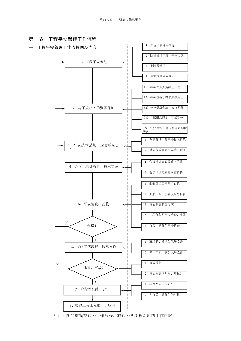
精品文档---下载后可任意编辑189第三章 工程部日常平安管理工作 流程及过程控制用表精品文档---下载后可任意编辑第一节 工程平安管理工作流程一 工程平安管理工作流程图及内容 N Y N Y 1901、工程平安筹划〔1〕工程平安目标指标2、与平安相关的资源保证4、会议、培训教育、技术交底3、平安技术措施、应急响应预案5、平安检查、验收6、实施工艺流程、按章操作〔2〕阶段性〔年度〕平安方案〔3〕危险源辨识7、阶段性总结、评审违章、事故?合格?〔4〕重大危害因素登记〔1〕特种作业人员持证上岗〔4〕劳保用品配备、穿戴到位〔3〕分包资质合法、协议明确〔5〕平安设施、警示牌布置到位登记〔2〕特种设备获得平安准用证〔1〕分局部项工程平安技术措施〔2〕重大危险因素应急响应预案〔1〕会议培训交底等签字手续〔2〕会议培训交底的内容资料〔1〕船舶班组工段每周自检〔2〕船舶班组工段发现隐患报告〔3〕事故隐患整改反应〔4〕工程部每月平安检查、奖罚〔1〕班组长、技术员现场监督〔2〕专、兼职平安员现场监督〔5〕有关主管部门平安检查〔2〕向有关主管部门的汇报〔1〕年度平安工作总结8、类似工程工程推广、应用〔2〕事故报表〔月报、年报〕〔1〕事故报告注:上图的虚线左边为工作流程,右边为各流程对应的工作内容。精品文档---下载后可任意编辑二 各步流程工作内容1、工程部各步流程工作内容必须记录的内业资料的种类,详见“第一章第二十一节 二航局平安生产内业资料管理方法〞中“三 工程部安监部门收集归档的内业资料〞〔共 10 卷〕。2、工程部各步流程工作内容对应的工作标准,详见“第一章 平安管理规章制度〞。3、工程部各步流程工作内容的重要过程记录〔本章规定的 21 套表格下一个层次的表格〕,请使用本章第二节规定的表格。第二节 工程平安管理过程控制用表一 工程平安目标指标、平安生产领导小组成立的文件、阶段性平安工作方案、分局部项工程的平安技术措施、应急平安预案、阶段性平安工作总结以及向有关主管部门的汇报材料等文件,由工程部自行选择文件格式,局不作统一规定,但必须有翔实的记录。二 平安管理过程控制,局里结合国家、建设部、交通部、中港以及各地的相关规定,统一编制了 21 套表格,要求各工程认真执行。三 工程平安管理过程控制用表见下页。191精品文档---下载后可任意编辑格式:EHJ/QB/5.2-01-01危害识别和风险评价—览表单位: 部门: 年 月 日 序号作业活动单元〔分类〕活动的内容...

1、当您付费下载文档后,您只拥有了使用权限,并不意味着购买了版权,文档只能用于自身使用,不得用于其他商业用途(如 [转卖]进行直接盈利或[编辑后售卖]进行间接盈利)。
2、本站所有内容均由合作方或网友上传,本站不对文档的完整性、权威性及其观点立场正确性做任何保证或承诺!文档内容仅供研究参考,付费前请自行鉴别。
3、如文档内容存在违规,或者侵犯商业秘密、侵犯著作权等,请点击“违规举报”。

碎片内容

第三章日常安全操作流程和表格

确认删除?
VIP
微信客服
  • 扫码咨询
会员Q群
  • 会员专属群点击这里加入QQ群
客服邮箱
回到顶部