电脑桌面
添加小米粒文库到电脑桌面
安装后可以在桌面快捷访问

省级工业产品生产许可证发证产品取证流程图

省级工业产品生产许可证发证产品取证流程图_第1页
1/13
省级工业产品生产许可证发证产品取证流程图_第2页
2/13
省级工业产品生产许可证发证产品取证流程图_第3页
3/13
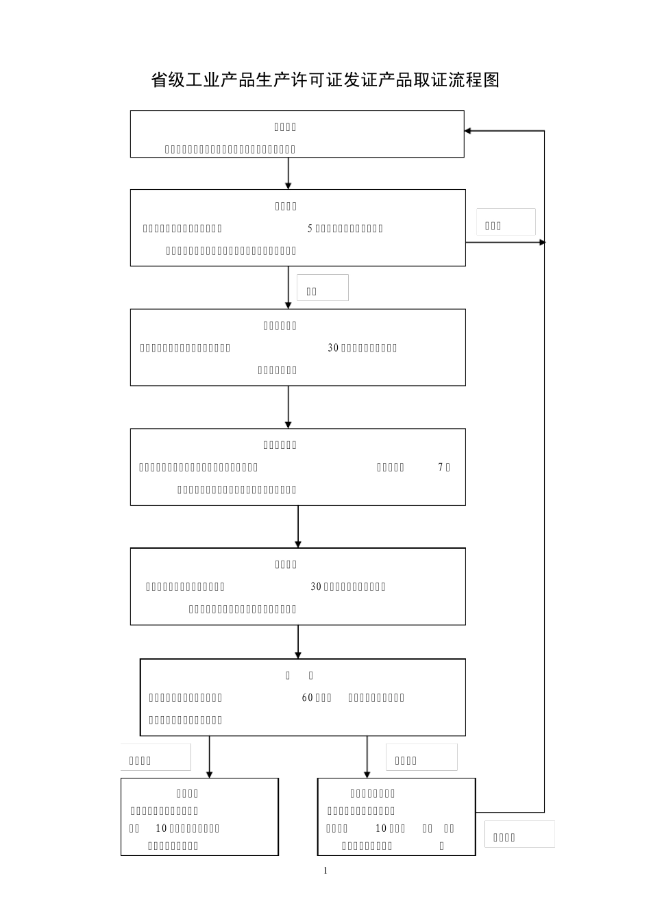
1 省级工业产品生产许可证发证产品取证流程图 企业申请 企业填写申请材料,报所在地市级质量技术监督局。 申请受理 市级质量技术监督局自收到申请5 个工作日内对申请材料进行审查,符合要求的出具《行政许可申请受理决定书》 企业实地核查 市级质量技术监督局自受理企业申请30 日内,组织对企业生产条件实地核查。 产品抽样检验 对实地核查合格的企业取证产品进行抽封样品,自封样时间7 日内,由企业送有关检验机构进行产品质量检验。 汇总上报 市级质量技术监督局自受理申请30 日内完成实地核查材料汇总,并报送省工业产品生产许可证办公室。 决 定 省质量技术监督局自受理申请60 日内,对申报材料进行审查,并作出是否准予许可的决定。 证书颁发 省质监局自作出许可决定之日起10 日颁发生产许可证,通知企业领取证书。 合格 不合格 准予许可 不予许可决定发放 省质监局自作出不予许可决定之日起10 日内,发放《不予行政许可决定书》。 不予许可 重新申请 全国工业产品生产许可证 申 请 书 产品类别: 产品名称: 企业名称: (公章) 联系电话: 联 系 人: 申请类别: 发证□ 迁址□ 增项□ 其他□ 申请日期: 陕西省质量技术监督局印制 企业声明 1、本企业对申证产品的生产许可证换(发)证实施细则已充分理解; 2、本申请书所填内容均真实可靠,若有虚假愿承担一切后果及有关法律责任; 3、本企业自提交申请书之日起已做好充分准备,随时可接受生产条件审查和产品抽样检验。 企业法人代表(负责人)签名: (单位公章) 年 月 日 一、申请企业基本情况 企业名称 住 所 生产地址 省 市(地) 区(县) 乡(镇) 路(街道) 号 邮政编码 电 话 传 真 电子邮箱 组织机构代码 经济类型 工商登记机构 营业执照注册号 成立日期 经营期限 固定资产(万元) 注册资金(万元) 年总产值 年销售额 年缴税金额 年利润 法定代表人 企业负责人 质量保证负责人 联系人 从业人员总数 专业技术人员数 其他需要 说明的情况 二、申报产品基本情况 项目总投资 年设计生产能力 涉及国家产业政策的情况 产品单元 产品品种、规格型号 产品标准 申请类别 6 三、企业主要负责人和技术人员情况 序 号 姓 名 性别 身份证号码 职务 职称 学历 所学专业 工作 年限 工作岗位 四、主要生产设备、工艺装备明细 序 号 产品单元 名 称 规格型号 数量 完好 ...

1、当您付费下载文档后,您只拥有了使用权限,并不意味着购买了版权,文档只能用于自身使用,不得用于其他商业用途(如 [转卖]进行直接盈利或[编辑后售卖]进行间接盈利)。
2、本站所有内容均由合作方或网友上传,本站不对文档的完整性、权威性及其观点立场正确性做任何保证或承诺!文档内容仅供研究参考,付费前请自行鉴别。
3、如文档内容存在违规,或者侵犯商业秘密、侵犯著作权等,请点击“违规举报”。

碎片内容

省级工业产品生产许可证发证产品取证流程图

您可能关注的文档

确认删除?
VIP
微信客服
  • 扫码咨询
会员Q群
  • 会员专属群点击这里加入QQ群
客服邮箱
回到顶部