电脑桌面
添加小米粒文库到电脑桌面
安装后可以在桌面快捷访问

安全生产教育培训制度51333VIP专享

安全生产教育培训制度51333_第1页
1/3
安全生产教育培训制度51333_第2页
2/3
安全生产教育培训制度51333_第3页
3/3
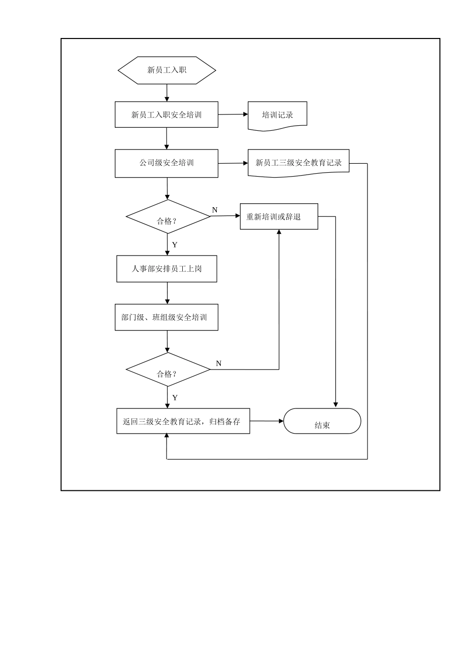
安全生产培训和教育制度1. 目的及适用范围1。1 为提高公司全员安全意识,促进安全技术、职业健康知识的普及,加强全体员工的安全意识,有效控制工伤事故和预防职业病的发生,减少各类安全事故的发生,特制定本制度。1.2 本制度适用于公司全体员工及外来相关方.2。 职责2.1 管理部负责制定安全教育培训计划,安排具体培训时间和场地及培训人员;负责评估培训效果,建立员工培训档案。2.2 安全专员负责编制安全培训教材,开展新员工三级安全教育,公司级安全培训、外来施工人员安全培训、安全专项培训以及安排特别岗位培训,协助、监督各部门各班组的安全教育培训.2。3 各部门负责编制本部门的安全培训教材,并对员工开展车间级安全教育。2。4 各班组负责对员工进行班组级安全教育。2.5 员工有权利和义务接受相关安全培训.3。 具体内容3.1 三级安全教育3。1。1 三级安全教育是指新员工入厂应接受公司级、车间级、班组级关于安全生产的综合教育培训。3。1。2 公司级安全教育由安全专员培训,主要包括:安全生产基本知识;安全相关规章制度;消防安全基础知识;危险因素辨识及应急措施;职业病防治及个体防护;有关事故案例及公司安全文化等。3.1。3 部门级安全教育由各部门负责人自行安排,主要包括:本部门的安全生产规章制度;本部门的危险因素及应急措施;消防器材、应急物品的位置及疏散路线;劳保用品的配备和使用;有关事故案例及其他注意事项等.3.1。4 班组级安全教育由班组长自行安排,主要包括:岗位安全操作规程;设备操作安全教育;劳保用品的使用方法;有关事故案例及其他注意事项等。3。1.5 新员工进行公司三级安全教育后,应填写《新员工三级安全教育记录》,具体流程请见附件一,返回后归档备存。3。1。6 新员工总培训学时不得少于 24 学时.3.1。7 未接受安全培训教育,或培训不合格的员工不得上岗。3。1。8 管理部制定培训计划,每周统一安排公司级安全培训。根据《新员工三级安全教育记录》,为合格的新员工办理入职手续.3。1.9 新员工三级安全教育的相关教材,由安全专员和各生产部门共同编写。安全专员负责编写公司级安全培训教材,各部门负责编写各自部门级和班组级安全教育培训教材。3。2 特别岗位安全教育3.2。1 特别岗位安全教育是指公司内特种作业人员必须参加相关安全技术培训,经考试合格取得国家认可的特种作业操作证的安全教育培训。3。2。2 特种作业人员包括:电工、电焊工、起重工、公司内机动车辆驾驶员、...

1、当您付费下载文档后,您只拥有了使用权限,并不意味着购买了版权,文档只能用于自身使用,不得用于其他商业用途(如 [转卖]进行直接盈利或[编辑后售卖]进行间接盈利)。
2、本站所有内容均由合作方或网友上传,本站不对文档的完整性、权威性及其观点立场正确性做任何保证或承诺!文档内容仅供研究参考,付费前请自行鉴别。
3、如文档内容存在违规,或者侵犯商业秘密、侵犯著作权等,请点击“违规举报”。

碎片内容

安全生产教育培训制度51333

确认删除?
VIP
微信客服
  • 扫码咨询
会员Q群
  • 会员专属群点击这里加入QQ群
客服邮箱
回到顶部