电脑桌面
添加小米粒文库到电脑桌面
安装后可以在桌面快捷访问

工程管理程序文档

工程管理程序文档_第1页
1/9
工程管理程序文档_第2页
2/9
工程管理程序文档_第3页
3/9
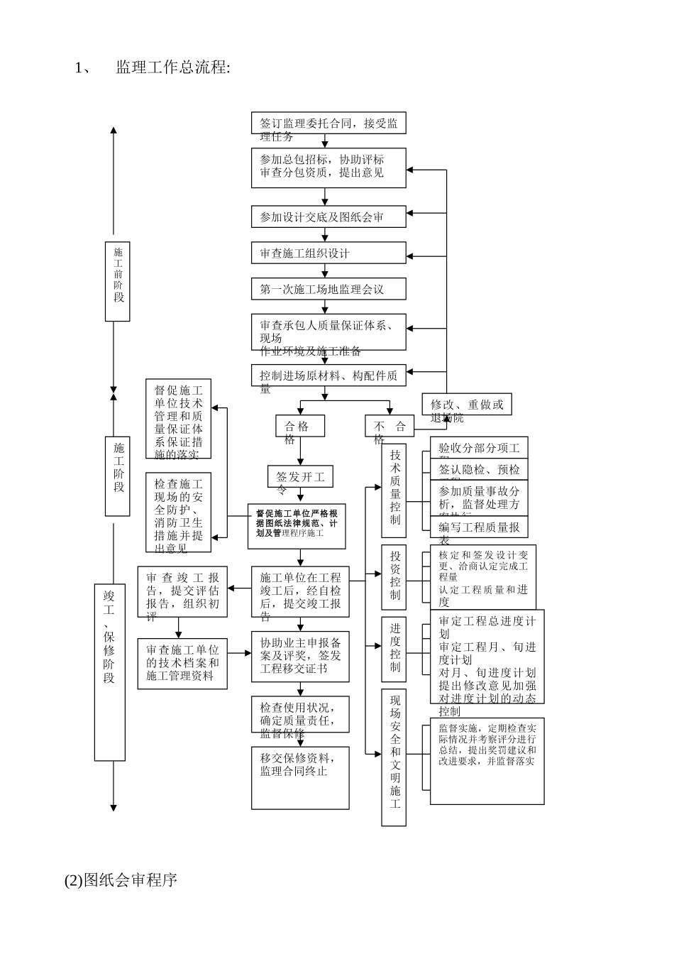
1、监理工作总流程:(2)图纸会审程序签订监理委托合同,接受监理任务参加总包招标,协助评标审查分包资质,提出意见参加设计交底及图纸会审审查施工组织设计第一次施工场地监理会议审查承包人质量保证体系、现场作业环境及施工准备控制进场原材料、构配件质量修改、重做或退场院合 格 格不合格签发开工令督促施工单位严格根据图纸法律规范、计划及管理程序施工施工单位在工程竣工后,经自检后,提交竣工报告协助业主申报备案及评奖,签发工程移交证书检查使用状况,确定质量责任,监督保修移交保修资料,监理合同终止技术质量控制投资控制进度控制现场安全和文明施工验收分部分项工程签认隐检、预检工程参加质量事故分析,监督处理方案执行编写工程质量报表核 定 和 签 发 设 计 变更、洽商认定完成工程量认 定 工 程 质 量 和进度填 写 工 程 量 报表 , 签 发 付 款 凭证审定工程总进度计划审定工程月、旬进度计划对月、旬进度计划提出修改意见加强对进度计划的动态控制督促承包人完善安全、文明施工保证体系、确定安全、文明施工标准监督实施,定期检查实际情况并考察评分进行总结,提出奖罚建议和改进要求,并监督落实审 查 竣 工 报告,提交评估报告,组织初评审查施工单位的技术档案和施工管理资料检查施工现场的安全防护、消防卫生措施并提出意见督促施工单位技术管理和质量保证体系保证措施的落实施工前阶段施工阶段竣工、保修阶段编制工程项目的施工组织设计(施工方案),并填报“施工组织设计(施工方案)报审表”(A2)承包单位项目经理部(4)开工申请签认程序熟悉施工图纸,初审提出问题各专业监理工程师监理组内部会审现场总监主持整理列出问题清单各专业监理工程师清单问题审核总监理工程师问题清单汇总在建设单位、承包单位、设计单位、监理单位四方的图纸会审会上提出已准备好的图纸问题清单并讨论各专业监理工程师落实清单中问题,整理归档汇总问题清单报建设单位清单问题补充各专业监理工程师(3)施工组织设计审签程序第一次施工场地会议已开过,已经过施工监理交底,承包单位/项目经理部认为已具备开工条件填报“工程开工/复工报审表”(A1)承包单位项目经理部审查以下施工准备情况:1、 各项开工报批手续已落实;2、 施工组织设计已批准;3、 现场测量控制桩已查验合格;4、 现场“三通一平”已经满足施工需要;5、 承包单位的施工、管理、技术人员已到位;6、 各项管理制度已建立;7、...

1、当您付费下载文档后,您只拥有了使用权限,并不意味着购买了版权,文档只能用于自身使用,不得用于其他商业用途(如 [转卖]进行直接盈利或[编辑后售卖]进行间接盈利)。
2、本站所有内容均由合作方或网友上传,本站不对文档的完整性、权威性及其观点立场正确性做任何保证或承诺!文档内容仅供研究参考,付费前请自行鉴别。
3、如文档内容存在违规,或者侵犯商业秘密、侵犯著作权等,请点击“违规举报”。

碎片内容

工程管理程序文档

确认删除?
VIP
微信客服
  • 扫码咨询
会员Q群
  • 会员专属群点击这里加入QQ群
客服邮箱
回到顶部