电脑桌面
添加小米粒文库到电脑桌面
安装后可以在桌面快捷访问

应急抢修工作流程及规范

应急抢修工作流程及规范_第1页
1/3
应急抢修工作流程及规范_第2页
2/3
应急抢修工作流程及规范_第3页
3/3
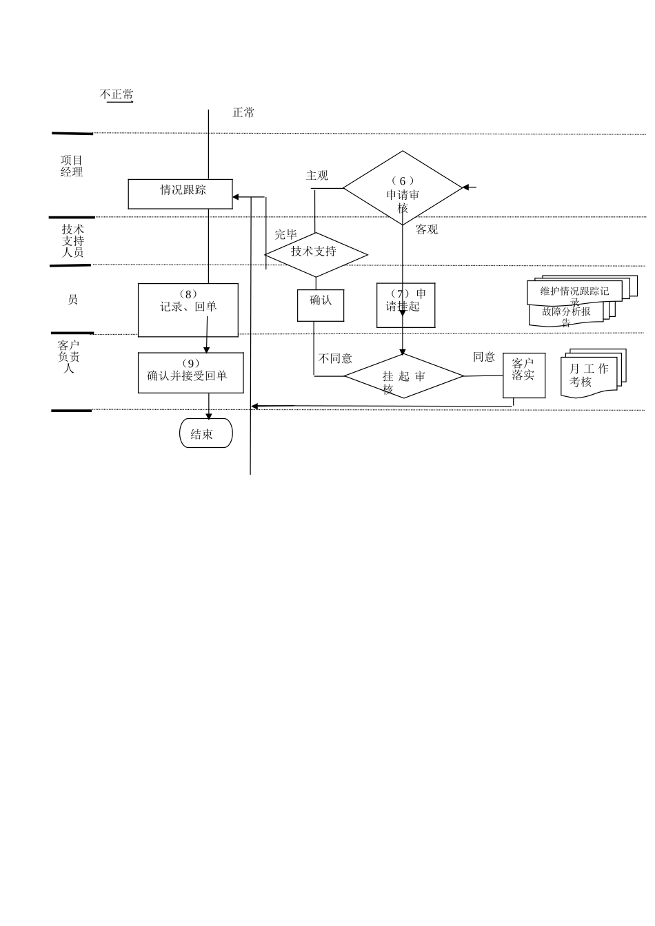
应急抢修工作法律规范一、故障抢修工作要求1、 根据移动公司要求,结合本地实际情况制定维护项目部抢修工作管理办法,确保抢修工作根据移动公司要求完成。2、 所有故障抢修时限必须符合当地移动公司和省移动公司代维工作指导原则的有关要求;3、 维护值班室必须确保每个故障落实到维护队处理,没有处理人的故障必须立即通知项目经理,由项目经理协调进行故障处理;4、 VIP 站、电池放电时间表等与故障抢修密切相关的资料必须张贴在维护值班室明显处,维护人员、值班人员必须熟记;5、 出现大面积故障的情况时,值班人员必须立即通知项目经理,由项目经理指挥故障抢修,并及时向移动公司主管人员汇报;6、 因客观原因不能完成的抢修应向移动公司主管人员汇报,征得同意后方可申请挂起,并在故障回单中详细说明原因,如需第三方处理的问题我方有责任跟踪处理情况并协助处理;7、 对于因备件送修不能及时处理的故障,必须在备件取得备件1 天内完成故障的抢修故障,紧急情况必须在取得备件后立即处理;8、 对于机房漏水或渗水应立即修补,在下雨检查时发现漏水的机房应先实行应急措施,保证设备不受影响;属于安全或消防的故障,在故障未处理好之前,在保证人身安全的情况下,应留人值守机房,直到故障处理完毕。9、 在进入机房进行故障抢修工作时,必须遵守机房的管理规定,做好机房的出入登记工作,并根据要求在故障处理记录本中详细记录故障的处理情况;10、 根据要求进行故障处理情况的汇总,并及时上交移动公司;11、 定期对故障处进行分析,找出故障发生的规律,并及时总结处理经验,形成维护经验处理数据库,提高维护工作水平.流程说明:(1) 客户监控室将基站故障情况以电话的形式通知维护值班室;另外巡检中发现的故障(巡检人员未能处理的)也将通知维护值班室。(2) 维护值班室填写故障抢修单,同时通知抢修人员,知会维护项目经理,并随时跟进故障处理情况.(3) 抢修人员进行基站故障抢修,发现重大问题应及时报告。故障定位必须准确、仔细,必须第一时间处理故障,并积极配合维护值班室做好回单解释工作.(4) 故障处理完毕后与客户监控室联系确认是否完全处理完毕。假如处理完毕后电话通知武汉营销中心负责人员和郊区分公司负责人。(5) 不能及时处理时必须向项目部经理提出技术支持申请。(6) 维护部项目经理根据故障情况进行申请审核,如属主观原因马上进行技术支持,客观原因将通知值班室向客户申请挂起。主观原因是指因抢修人...

1、当您付费下载文档后,您只拥有了使用权限,并不意味着购买了版权,文档只能用于自身使用,不得用于其他商业用途(如 [转卖]进行直接盈利或[编辑后售卖]进行间接盈利)。
2、本站所有内容均由合作方或网友上传,本站不对文档的完整性、权威性及其观点立场正确性做任何保证或承诺!文档内容仅供研究参考,付费前请自行鉴别。
3、如文档内容存在违规,或者侵犯商业秘密、侵犯著作权等,请点击“违规举报”。

碎片内容

应急抢修工作流程及规范

一帆文传+ 关注
实名认证
内容提供者

欢迎光临店铺,各类公文供您挑选。

确认删除?
VIP
微信客服
  • 扫码咨询
会员Q群
  • 会员专属群点击这里加入QQ群
客服邮箱
回到顶部