电脑桌面
添加小米粒文库到电脑桌面
安装后可以在桌面快捷访问

村级矛盾纠纷处理流程图之一

村级矛盾纠纷处理流程图之一_第1页
1/12
村级矛盾纠纷处理流程图之一_第2页
2/12
村级矛盾纠纷处理流程图之一_第3页
3/12
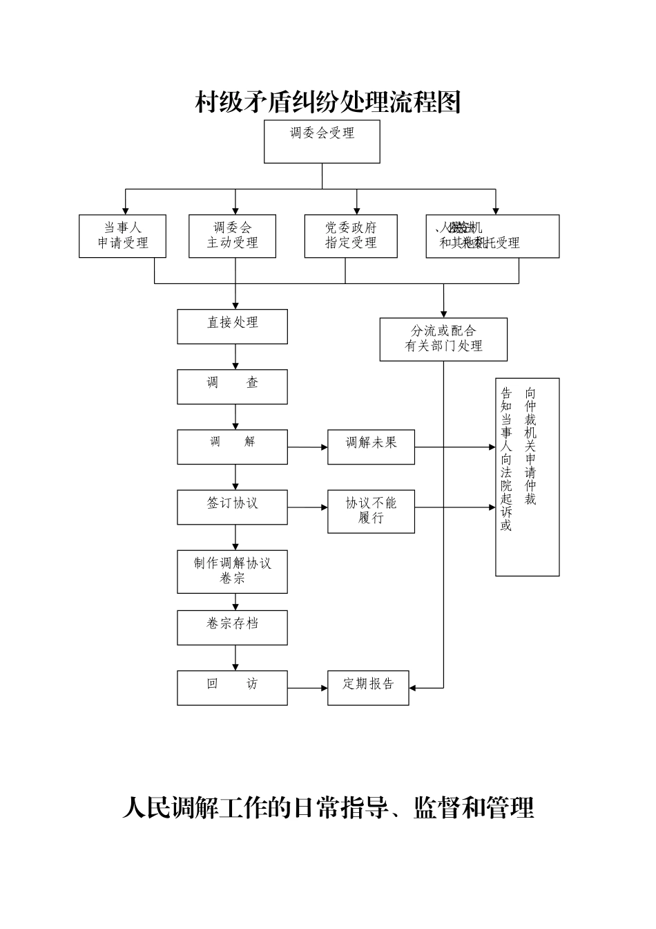
村级矛盾纠纷处理流程图人民调解工作的日常指导、监督和管理调委会受理当事人申请受理调委会主动受理党委政府指定受理直接处理分流或配合有关部门处理调 查调 解调解未果向仲裁机关申请仲裁告知当事人向法院起诉或签订协议协议不能履行制作调解协议卷宗卷宗存档回 访定期报告人民法院、公安机关和其他机关委托受理流程图人民调解工作的培训流程图依据国务院《人民调解委员会组织条例》、司法部《人民调解工作若干规定》、《中央办公厅、国务院办公厅转发最高人民法院、司法部关于进一步加强新时期人民调解工作的意见》、《安徽省人民调解条例》对人民调解工作的日常指导、监督和管理县级以上司法行政部门应当加强对人民调解工作的指导和管理,基层司法所对人民调解委员会的日常工作予以具体指导和监督基层人民法院及其派出法庭指导人民调解委员会的工作解 答 、 处理 调 解 委员 会 或 纠纷 当 事 人就 人 民 调解 工 作 有关 问 题 的请 示 、 咨询和投诉应 人 民 调解 委 员 会的 请 求 或者 根 据 需要 , 协助 、 参 加对 具 体 纠纷 的 调 解活动对 调 委 会主 持 达 成的 调 解 协议 予 以 检查 , 发 现违 反 法律 、 法规 、 规 章和 政 策的 , 应 当予以纠正总 结 沟 通调 解 工 作经 验 , 调查 讨 论 民间 纠 纷 的特 点 和 规律 , 指 导调 解 委 员会 改 进 工作积 极 推 动新 时 期 人民 调 解 工作 的 改 革与 进 展 ,不 断 讨 论和 探 究 加强 人 民 调解 工 作 的思 路 与 途径市级人民调委会和人民调解员表彰奖励流程图定期培训不定期培训以会代训、组织参加上级司法行政机关培训班等拟定培训方案安排授课人员及准备授课材料基层调委会上报参训名单培训筹备,通知培训时间、地点正式培训培训小结及情况通报矛盾纠纷处理流程图拟定表彰、奖励方案批准表彰、奖励方案各基层单位申报县(区)司法局初审人民调委会、人民调解员平常工作中进行考察对人民调委会、人民调解员进行初步考核、评议报上级司法行政机关审批不 符合 表彰 、奖 励要 求的 ,进 行告知上级机关批准进行表彰、奖励向社会公布颁发表彰奖励决定表彰、奖励材料归档并报上级司法行政机关备案社区矫正流程图排查申请转交登记受理审批一般纠纷村调委会各相关站所调查调解未达成协议达成协议归档回访乡调委会重大纠...

1、当您付费下载文档后,您只拥有了使用权限,并不意味着购买了版权,文档只能用于自身使用,不得用于其他商业用途(如 [转卖]进行直接盈利或[编辑后售卖]进行间接盈利)。
2、本站所有内容均由合作方或网友上传,本站不对文档的完整性、权威性及其观点立场正确性做任何保证或承诺!文档内容仅供研究参考,付费前请自行鉴别。
3、如文档内容存在违规,或者侵犯商业秘密、侵犯著作权等,请点击“违规举报”。

碎片内容

村级矛盾纠纷处理流程图之一

您可能关注的文档

确认删除?
VIP
微信客服
  • 扫码咨询
会员Q群
  • 会员专属群点击这里加入QQ群
客服邮箱
回到顶部