电脑桌面
添加小米粒文库到电脑桌面
安装后可以在桌面快捷访问

生活污水处理方案设计

生活污水处理方案设计_第1页
1/19
生活污水处理方案设计_第2页
2/19
生活污水处理方案设计_第3页
3/19
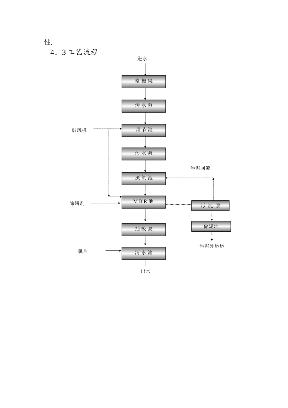
1 工程概况本污水处理站为镇区处理生活污水。2 项目设计依据、原则和范围2.1 设计依据(1)《城镇污水综合排放标准》(GB81918—2024); (2)《给排水设计手册》;(3)《中华人民共和国环境保护法》;(4)《中华人民共和国水法》(1998);(5)《城镇污水处理厂污染物排放标准》(GB18918—2024)(6)《中华人民共和国水污染防治法》(1996);(7)《中华人民共和国水污染防治法细则》(1989);(8)《建设项目环境保护设计规定》(1997);(9)《建设项目环境保护设施竣工验收管理规定》(1994);(10)《村庄整治技术法律规范(GB50445-2024)》(11)《农田灌溉水质标准》(GB5084-2024)2.2 设计原则(1)污水处理工艺应因地制宜并力求技术先进可靠、经济合理、高效节能、易于维护管理.(2)积极稳妥地采纳新技术,在合理利用资金的同时,充分利用先进技术和设备以提高污水处理水平与效率。(3)设计中必须充分考虑小区污水的特点,处理设施能适应较大的水量变化。在机械化、自动化程度方面,要从实际出发,根据需要和可能及设备的供应情况,妥善确定。(4)设计应适当注意美观和绿化,其美化的方式和周围地区的环境相协调。2.3 设计范围(1)污水处理站内工程的工艺及方案设计,不包括化粪池和场外污水管线工程。 (2)与工艺相配套的电器、仪表控制系统设计.3 水质要求 3.1 设计进水水质由于各乡镇均为生活污水,确定本污水处理工程进水水质指标为:指标COD(mg/l)BOD5(mg/l)SS( mg/l)NH3-N (mg/l)PH进水水质≤450≤250≤250≤406~93.2 设计出水水质本设计中污水经过格栅、调节池、生物集成处理设备后,最终处理出水达到《城镇污水处理厂污染物排放标准》(GB18918-2024)一级 A 排放标准的要求,即:指标COD(mg/l)BOD5(mg/l)SS( mg/l)NH3-N (mg/l)PH出水水质≤50≤10≤105(8)6~94 废水处理工艺方案4.1 水质特性分析根据进水水质和出水水质要求,废水具有以下特征:污水中可滤残渣含量较高,这些残渣若不经处理直接进入生化处理系统,会在生化系统中积累而占据大量池容,使池容不断减少最终导致系统完全失效。同时,去除对生物处理过程有抑制作用的物质,减小生物反应的负荷,改善生物反应的条件,对处理系统正常运行,降低运行费用都是必不可少的一步。4.2 废水的预处理4。2。1 去除部分不可生化降解的物质,均和水质和水量此处的预处理主要有格栅,预曝气调节池。通过这一过程,可有效去除废水中不可生物降解或难于生物降解的...

1、当您付费下载文档后,您只拥有了使用权限,并不意味着购买了版权,文档只能用于自身使用,不得用于其他商业用途(如 [转卖]进行直接盈利或[编辑后售卖]进行间接盈利)。
2、本站所有内容均由合作方或网友上传,本站不对文档的完整性、权威性及其观点立场正确性做任何保证或承诺!文档内容仅供研究参考,付费前请自行鉴别。
3、如文档内容存在违规,或者侵犯商业秘密、侵犯著作权等,请点击“违规举报”。

碎片内容

生活污水处理方案设计

您可能关注的文档

确认删除?
VIP
微信客服
  • 扫码咨询
会员Q群
  • 会员专属群点击这里加入QQ群
客服邮箱
回到顶部