电脑桌面
添加小米粒文库到电脑桌面
安装后可以在桌面快捷访问

触电事故事故现场应急处置方案

触电事故事故现场应急处置方案_第1页
1/3
触电事故事故现场应急处置方案_第2页
2/3
触电事故事故现场应急处置方案_第3页
3/3
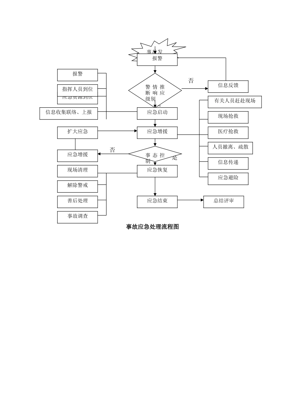
触电事故现场应急处置方案一、危险性分析1、事故类型本工程由于施工范围大,配电箱较多,焊接和临时用电较多,在配电箱接电过程中,零星用电过程中,容易发生触电事故。触电事故和其他事故比较,其特点是事故的预兆性不直观,不明显,而事故的危害性非常大。因此,在保护设施不完备的情况下,人体触电损害事故是极易发生的。所以,施工中必须做好预防工作,发生触电事故时要正确处理,抢救伤者。二、项目部成立应急指挥小组及应急物资清单三、应急响应程序1、现场应急处置程序(1)触电损害突发事件发生后,施工队队长应立即向应急救援指挥部汇报,并实行临时处置措施.(2)该应急处置方案由应急总指挥即项目经理宣布启动。 (3)应急处置组成员接到通知后,立即赶赴现场进行应急处理。(4)触电损害事件进一步扩大时启动《人生损害事故应急预案》处置程序见附件三:响应程序流程图2、现场处置措施(1)截断电源,关上插座上的开关,或拔除插头。假如够不着插座开关,就关上总开关.切勿试图关上事故电器用具的开关,因为可能正是该开关漏电.(2)若无法关上开关,可站在绝缘物上,如一叠厚报纸、塑料布、木板之类,用扫帚或木椅等将伤者拨离电源,或用绳子、裤子或任何干布条绕过伤者腋下或腿部,把伤者拖离电源.切勿用手触及伤者,也不要用潮湿的工具或金属物质把伤者拨开,也不要使用潮湿的物件拖动伤者。(3)假如患者心跳停止,开始人工呼吸和胸外心脏按压。若伤者昏迷,则将其身体放置成卧式。(4)若伤者曾经昏迷、身体遭烧伤,或感到不适,必须打电话叫抢救车,或立即送伤者到医院急救.(5)高空出现触电事故时,应立即截断电源,把伤人抬到附近平坦的地方,立即对伤人进行急救。(6)现场抢救触电者的原则:迅速、就地、准确、坚持。迅速—— -—争分夺秒将触电者脱离电源。就地-— ——必须在现场附近就地抢救,病人有意识后再就近送医院抢救.准确—- ——人工呼吸的动作必须准确.坚持—- ——只要有百分之一的希望就要尽百分之百的努力。四、事故报告1、施工队队长立即向项目经理汇报人员触电损害情况以及现场实行的急救措施情况。2、触电损害事件扩大时,由项目经理向上级主管单位汇报事故信息,如发生重伤、死亡、重大死亡事故,应当立即报告当地政府主管安全监督部门。3、事件报告要求:事件信息准确完整、事件内容描述清楚;事件报告内容主要包括:事件发生时间、事件发生地点、事故性质、先期处理情况等。五、相关文件 与现场处置方案相关...

1、当您付费下载文档后,您只拥有了使用权限,并不意味着购买了版权,文档只能用于自身使用,不得用于其他商业用途(如 [转卖]进行直接盈利或[编辑后售卖]进行间接盈利)。
2、本站所有内容均由合作方或网友上传,本站不对文档的完整性、权威性及其观点立场正确性做任何保证或承诺!文档内容仅供研究参考,付费前请自行鉴别。
3、如文档内容存在违规,或者侵犯商业秘密、侵犯著作权等,请点击“违规举报”。

碎片内容

触电事故事故现场应急处置方案

雏圣文化+ 关注
实名认证
内容提供者

欢迎光临,大量办公文档供您挑选。

确认删除?
VIP
微信客服
  • 扫码咨询
会员Q群
  • 会员专属群点击这里加入QQ群
客服邮箱
回到顶部