电脑桌面
添加小米粒文库到电脑桌面
安装后可以在桌面快捷访问

产品售后维修流程

产品售后维修流程_第1页
1/7
产品售后维修流程_第2页
2/7
产品售后维修流程_第3页
3/7
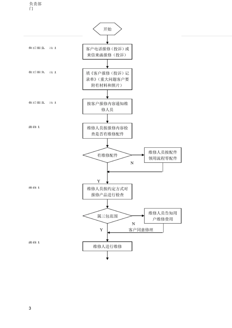
1售后服务售后维修流程1.目的明确售后服务维修流程中各部门和相关人员的责任。2.适用范围报修、投诉受理(回访)和维修人员。3.定义无4.责任和流程4.1 维修服务受理(回访)人员负责受理客户的来电来函或上门报修(投诉),根据报修(投诉)的内容填写《客户报修(投诉)记录单》(重大问题客户要附有材料和照片),并通知维修人员;4.2 维修人员按报修(投诉)内容带好相应的维修配件、按服务约定的方式进入工作场所后对售后产品进行“三包”期限、范围的确认和故障诊断,对超过“三包”期限和范围的要告知客户该产品已经超过“三包”期限和范围,以及维修收费标准,经得客户同意后方可进行维修,在维修过程中,由于缺少维修零部件,应及时与客户说明,并及时按《配件领用流程》领用零配件;4.3 维修结束后,维修人员按要求填写《售后服务维修记录单》,内容要填写完整,超过三包期的产品按规定向客户收取维修费,并在《售后服务维修记录单》注明发票后寄,最后客户在《售后服务维修记录单》;4.4 维修结束后由维修人员当天将《售后服务维修记录单》和维修情况通过传真传给售后服务部规定的人员;4.5 维修服务受理人员在三天内负责电话回访,并填好《月度电话回访记录表》,对用户不满意的情况及时向主管领导反映;4.6 主管领导及时做好售后服务的用户访问、质量协调等工作。5.附件:售后服务售后维修流程《客户报修(投诉)记录单》《售后服务维修记录单》《月度电话回访记录》负责部门2售后服务访人售后服务访人售后服务访人负责部门维修人3维修人维修人百度文库 - 让每个人平等地提升白我 3百度文库 - 让每个人平等地提升白我 5客户报修(投诉)记录单日期:记录人:N。姓名:单位地址:联系方式:产品型号:产品机号:购机日期:报一处理情况「备注:售后服务―表格-001售后服务维修记录单维修单位:NQ用户姓名(单位、人)用户地址及联系人地址:联系人:联系电话:要求服务时间型号:机号:数量:发票号:购机日期报修日期:报修内容:记录人:维修结果:修理时间:年月日时分至年月日时分“三包”件(务必写明名称和数量)客户购买件(务必写明名称和数量)名称数量名称数量单价合计售后服务人员:年月日用户意见:签名:年月日第一联:存根第二联:售后服务第三联:客户部门领导:日期:仓库人员:日期:维修人员:日期售后服务―表格-002百度文库 - 让每个人平等地提升白我 6百度文库 - 让每个人平等地提升白我 7

1、当您付费下载文档后,您只拥有了使用权限,并不意味着购买了版权,文档只能用于自身使用,不得用于其他商业用途(如 [转卖]进行直接盈利或[编辑后售卖]进行间接盈利)。
2、本站所有内容均由合作方或网友上传,本站不对文档的完整性、权威性及其观点立场正确性做任何保证或承诺!文档内容仅供研究参考,付费前请自行鉴别。
3、如文档内容存在违规,或者侵犯商业秘密、侵犯著作权等,请点击“违规举报”。

碎片内容

产品售后维修流程

您可能关注的文档

确认删除?
VIP
微信客服
  • 扫码咨询
会员Q群
  • 会员专属群点击这里加入QQ群
客服邮箱
回到顶部