电脑桌面
添加小米粒文库到电脑桌面
安装后可以在桌面快捷访问

房地产企业成本控制流程VIP免费

房地产企业成本控制流程_第1页
1/14
房地产企业成本控制流程_第2页
2/14
房地产企业成本控制流程_第3页
3/14
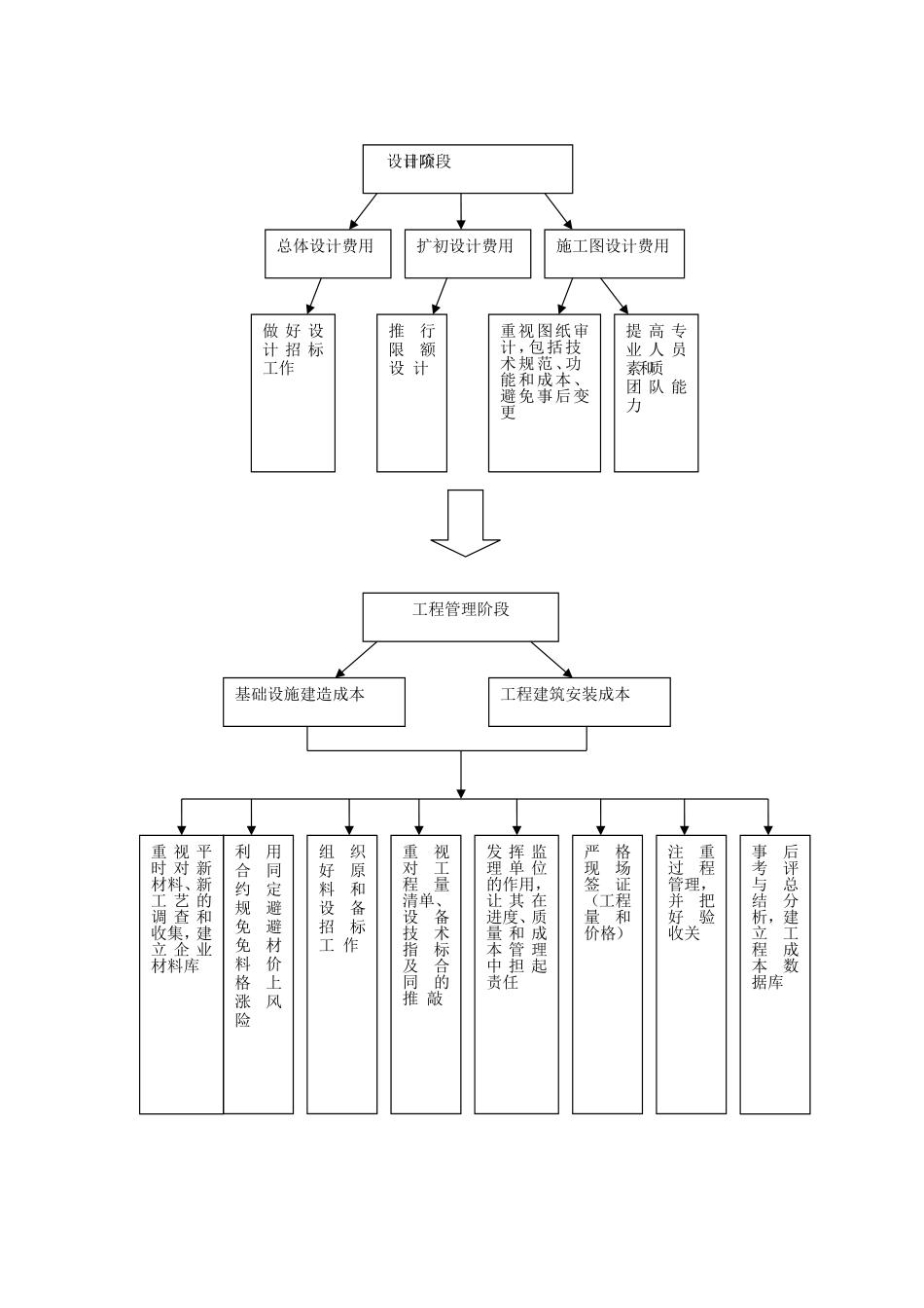
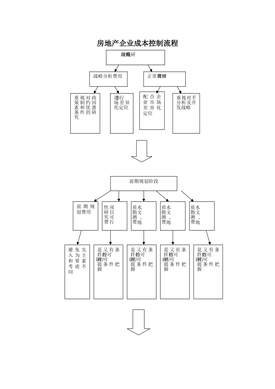
房地产企业成本控制流程配合企业市场差异化定位前期规划阶段前期规划费用项目可行性研究费水文、地质勘测费水文、地质勘测费水文、地质勘测费避免先入为主和要素考虑不同是又有条件的可行,对可行前提条件把握是又有条件的可行,对可行前提条件把握是又有条件的可行,对可行前提条件把握是又有条件的可行,对可行前提条件把握战略研究阶段战略分析费用正常调研费用重视对政策制约因素和优惠条件的研究进行市场差异化定位重视对手分析及开发战略项目设计阶段总体设计费用扩初设计费用施工图设计费用做好设计招标工作推行限额设计重视图纸审计,包括技术规范、功能和成本、避免事后变更提高专业人员素质和团队能力工程管理阶段基础设施建造成本工程建筑安装成本利用合同约定规避免避免材料价格上涨风险组织好原料和设备招标工作重视对工程量清单、设备技术指标及合同的推敲发挥监理单位的作用,让其在进度、质量和成本管理中担起责任严格现场签证(工程量和价格)注重过程管理,并把好验收关事后考评与总结分析,建立工程成本数据库重视平时对新材料、新工艺的调查和收集,建立企业材料库市场营销阶段广告宣传及市场推广费售代理费用其他销售费用做好营销调查工作筛选合适的销售代理机构做好广告效果评价工作售后管理阶段保修费用做好商品房的使用说明和保养书,分清开发商、物业管理公司和用户各方应承担的保修责任和费用选择业务水平和管理素质高的管理公司加大对物业在使用中得监管力度和维护保养,从而达到减少保修量提高开发商信誉的目的战略阶段战略分析市场调研前期规划阶段产本估算土地成本办理相关费用阶段项目设计阶段投资概算修正概算施工图预算工程管理阶段招投标管理采购成本管理进度控制质量控制工程变更管理预算差异分析工程决算测算市场营销阶段广告宣传及推广费用销售代理费其他销售费用销售服务阶段返工成本销后管理随着近两年国家对房地产市场宏观调控的加强,各大城市的房市交易量和房价开始下降,而企业的成本却越来越高,如何降低成本增加利润,是每一个房地产企业越来越关注的问题。拥有全面计划预算和成本控制优势是房地产企业持续发展的源动力。因此,在此种形势下,结合我公司的实际情况,编制以下成本控制流程,以使开发项目的成本得到有效合理的控制,确保项目经济效益的实现。成本控制关键在于:1、前期进行开发项目经济成本测算,中途严格控制预算外项目,竣工及时进行结算。2、产品定位准,市场需求强劲,合理降低资金利息成本等,具体如下:【关键词】房地产企业;规范的业务流程对房地产开发企业的战略目标和运营效率具有重大的影响,也是房地产企业进行成本控制的前提条件。房地产企业开发项目发生的成本在完整的业务流程上都能清楚地表现出来只有清楚完整地说明房地产企业的业务流程,才能全面、准确地找出各项成本中存在的主要风险,对业务流程上发生的成本如何控制进行分析和提出相应的措施,从而构建成本控制流程,并在成本控制流程的基础上总结控制关键点。一、房地产企业的业务流程(一)房地产开发过程的一级流程根据实地调研情况,我国房地产企业的业务流程实际上包括战略研究阶段、前期规划阶段、项目设计阶段、工程管理阶段、市场营销阶段、售后管地产开发企业的核心价值活动。除上述核心价值流程之外,房地产开发企业的日常经营管理活动还包括资金管理、计划财务管理、人力资源管理、审计监察、风险管理、综合管理等,这些活动构成起辅助价值作用。(二)房地产开发过程的二级流程1.战略研究阶段。(1)战略研究阶段的工作目标。战略研究阶段主要工作目标是对外部环境和企业资源与实力进行分析,确定企业未来发展战略目标,进而确定企业的客户群体、产品定位、市场价格,确保企业在市场竞争中保持竞争优势。(2)战略研究阶段主要分为战略分析、市场定位两个环节。2.前期规划阶段。(1)前期规划阶段的工作目标。前期规划阶段的主要工作目标是根据企业的战略研究结果,理论分析土地出让信息和实地调研出让地块,对该地块进行投资机会研究,以确定是否获得该地块,若符合企业的战略发展,则获取土地,并进行项目立项。(2)在项目前期开...

1、当您付费下载文档后,您只拥有了使用权限,并不意味着购买了版权,文档只能用于自身使用,不得用于其他商业用途(如 [转卖]进行直接盈利或[编辑后售卖]进行间接盈利)。
2、本站所有内容均由合作方或网友上传,本站不对文档的完整性、权威性及其观点立场正确性做任何保证或承诺!文档内容仅供研究参考,付费前请自行鉴别。
3、如文档内容存在违规,或者侵犯商业秘密、侵犯著作权等,请点击“违规举报”。

碎片内容

房地产企业成本控制流程

文章天下+ 关注
实名认证
内容提供者

各种文档应有尽有

确认删除?
VIP
微信客服
  • 扫码咨询
会员Q群
  • 会员专属群点击这里加入QQ群
客服邮箱
回到顶部