电脑桌面
添加小米粒文库到电脑桌面
安装后可以在桌面快捷访问

隧道CD、CRD作业指导书

隧道CD、CRD作业指导书_第1页
1/22
隧道CD、CRD作业指导书_第2页
2/22
隧道CD、CRD作业指导书_第3页
3/22
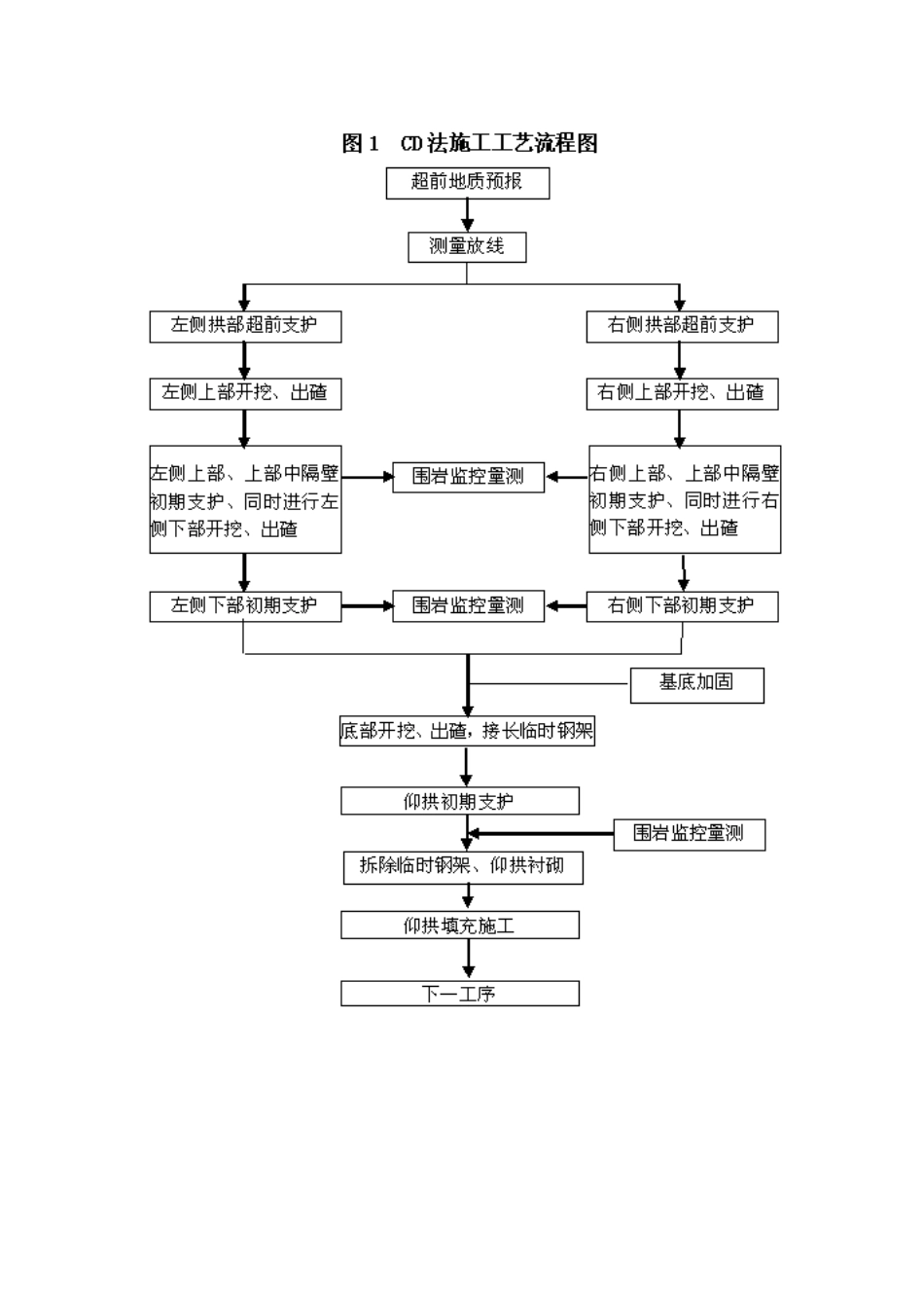
隧道 CD、CRD、三台阶临时仰拱法、弧形导坑预留核心土法开挖作业指导书1 目的明确隧道开挖作业的工艺流程、操作要点和相应的工艺标准,指导、法律规范隧道开挖施工,尽可能地减少超挖,保证隧道的开挖作业安全、保证开挖质量。F22db。2 编制依据⑴《铁路隧道工程施工技术指南》TZ204-2025⑵《高速铁路隧道工程施工质量验收标准》TB10753-2025⑶《铁路隧道钻爆法施工技术要点手册》⑷《爆破安全规程》⑸ XCZQ-3 标段施工图设计文件3 适用范围适用于 XCZQ-3 标段隧道洞身 CD、CRD、三台阶临时仰拱法、弧形导坑预留核心土法段开挖施工。4 隧道开挖施工4.1 方案设计要求本线隧道按新奥法原理组织施工,并要根据不同围岩级别及周边环境选择相应工法,应根据监控量测结果,适时施作二次衬砌。XcolE。隧道施工严格根据“严控水、强支护、短进尺、勤量测”的原则组织施工,应特别注意地表水对隧道的影响,要加强调查和处理。teGcN。隧道破裂带根据“先支护、后开挖、短进尺、弱爆破、快封闭、勤量测”的原则进行组织施工。隧道开挖前,首先完成洞口截水沟、洞口土方及边仰坡防护施工。洞口土方采纳挖掘机配合装载机自上而下分层施工,大型自卸汽车运输,并及时做好坡面防护,开挖一段(台阶)防护一段(台阶)。洞口明洞采纳明挖法施工,开挖至明暗分界线后,先施做护拱混凝土,然后施做暗洞超前大管棚,随后立即做好明洞衬砌,随后进入暗洞施工,待明洞混凝土达到设计规定的强度后及时进行明洞洞顶回填。暗洞开挖根据设计及围岩情况Ⅴ级地段采纳 CRD 法或CD 法或三台阶临时仰拱法或弧型导坑预留核心土法施工,每循环进尺控制在 1 榀钢架间距。VVj8F。隧道采纳钻爆法开挖,出碴采纳装载机配合大型或中型自卸汽车无轨运输。施工通风采纳管道压入式通风。在施工过程中应不断总结经验,优化工艺。加强超前地质预测、预报,加强围岩监控量测管理。根据量测结果,及时调整预留变形量及支护参数,适时施作二次衬砌,确保隧道安全。开挖方法的改变,要严格按程序申请设计变更。bVtog。4.2 中隔壁法(CD 法) CD 法是在软弱围岩大跨度隧道中,先开挖隧道的一侧,并施作中隔壁,然后再开挖另一侧的施工方法,主要应用于Ⅴ级围岩浅埋软质岩地段。dCbyy。4.2.1 CD 法施工工艺CD 法施工工艺流程见图 1。4.2.2 CD 法施工工序说明CD 法施工工序见图 2。㈠、⑴利用上一循环架立的钢架施作隧道侧壁 Ф42 超前钢花管及导坑侧壁 Ф22 水平锚...

1、当您付费下载文档后,您只拥有了使用权限,并不意味着购买了版权,文档只能用于自身使用,不得用于其他商业用途(如 [转卖]进行直接盈利或[编辑后售卖]进行间接盈利)。
2、本站所有内容均由合作方或网友上传,本站不对文档的完整性、权威性及其观点立场正确性做任何保证或承诺!文档内容仅供研究参考,付费前请自行鉴别。
3、如文档内容存在违规,或者侵犯商业秘密、侵犯著作权等,请点击“违规举报”。

碎片内容

隧道CD、CRD作业指导书

您可能关注的文档

不二商店+ 关注
实名认证
内容提供者

我是你的不二选择

确认删除?
VIP
微信客服
  • 扫码咨询
会员Q群
  • 会员专属群点击这里加入QQ群
客服邮箱
回到顶部