电脑桌面
添加小米粒文库到电脑桌面
安装后可以在桌面快捷访问

供货应急管理方案

供货应急管理方案_第1页
1/6
供货应急管理方案_第2页
2/6
供货应急管理方案_第3页
3/6
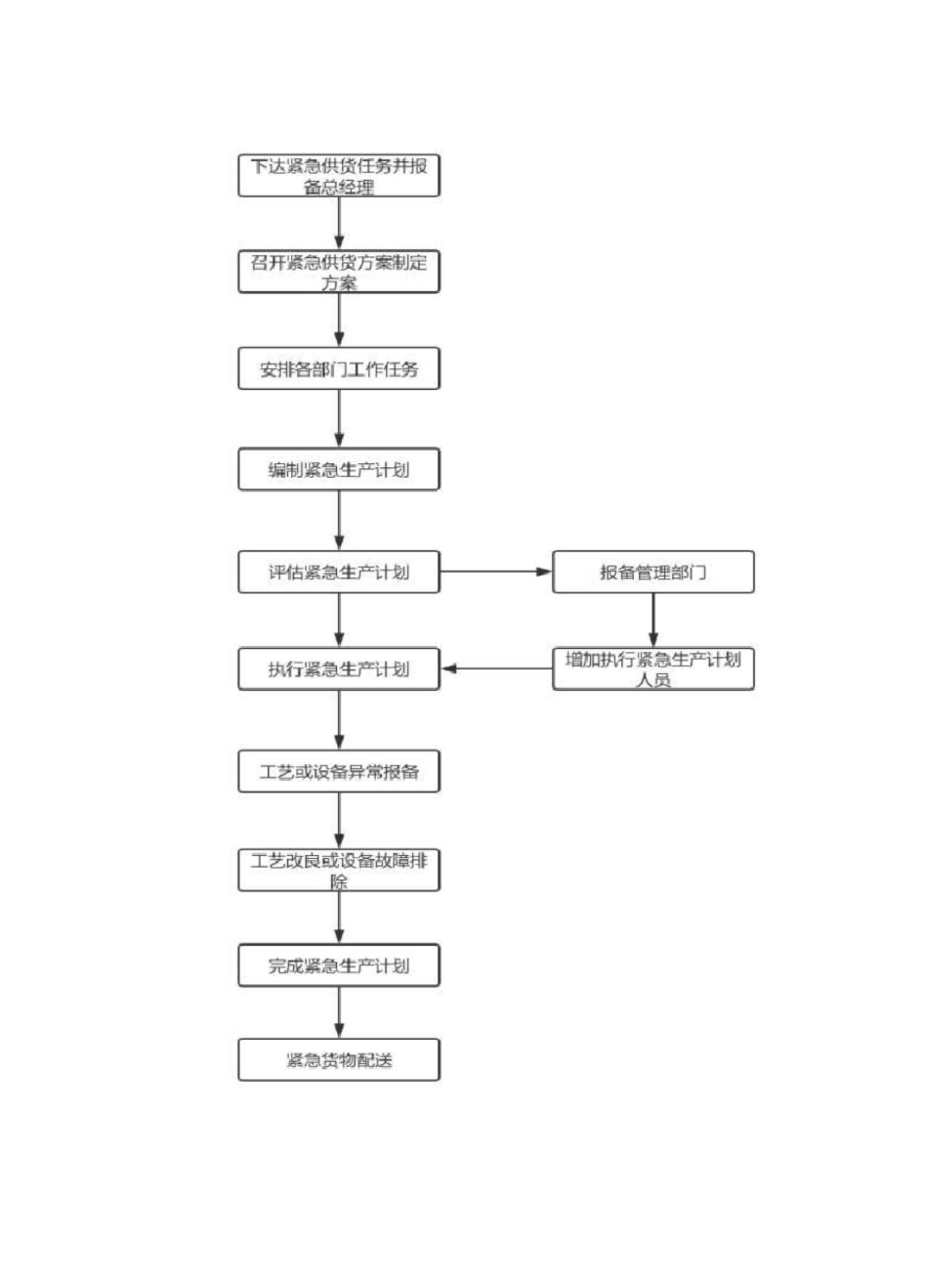
供货应急管理方案(一)、总则我方保证充足的货物库存,若出现库存不足的情况,立即安排生产部紧急生产。项目部下设专门的应急支持小组,建立内部和外部沟通机制。项目经理亲自指导、指挥应急支持小组的日常工作,直接听取应急支持小组的各种报告。在特定的紧急状况下将召集会议,组织临时机构或者亲赴现场处理,直至紧急状况解除。各分组组长负责其职责范围内应急预案措施的组织、落实、实施。适用范围为公司所有客户发生紧急交货任务。(二)、引用文件公司生产运行突发事故应急预案。(三)、职责3.1 总经理负责发生紧急交货任务的总体指挥。3.2 副总经理负责协助指挥进行发生紧急交货任务的具体指挥。3.3 客服组:负责发生紧急交货任务即时传达和报备。3.4 仓储组负责仓库货物清点,库存不足时及时报备。3.5 生产组负责紧急交货状况处理中有关生产运行方面的方案制定。3.6 管理组负责增加参加紧急任务的人员协调安排和货物配送安排。(四)、应急响应的基本原则全天 24 小时接收采购方应急供货计划,收到采购方应急订单后,30 分钟内做出响应。以采购方的交货期为基准,充分调动厂内资源,确保准时交货,并做好相关预案。(五)、指挥部组织机构5.1 指挥部机构指挥、副指挥、指挥部成员、客服部主管、生产经理、技术部主管、生管组长、管理部主管5.2 流程图(见下页)(六)、流程说明6.1 紧急交货任务的通知接到采购方紧急交货任务时,第一时间下达任务给仓库部门、生产部门,并报备总经理,若仓库储备不足,立即召开会议,制定紧急生产方案。6.2 紧急交货任务方案的制定6.2. 1 总经理召开紧急交货任务主题会议,计论方案并安排各部门相关任务。副总经理安排相关工作细节,交各部门执行。6.3 紧急交货任务的生产计划编制生产经理和生管组长根据目前订单情况,调整生产计划和方案。6.4 紧急交货任务的执行制造部门接到紧急生产计划后,立即对计划进行评估,如能自行完成的,安排执行。如有因难需增加人手的报务管理部,管理部安排其它部门人员进行支援。制造部门执行紧急交货生科计划过程中如遇工艺或设备故障及时报备技术部,技术部第一时间排除故障,确保计划按时完成。6.5 紧急交货任务的交货制造部门完成紧急交货任务,报告管理部门,由管理部门安排配送。6.6 记录保存管理部负责对紧急交货任务的过程按《记录管理程序》进行记录,加以建档保存,作为日后相关事件运行方案的参考和改进。(七)、应急预案7.1 天气突变...

1、当您付费下载文档后,您只拥有了使用权限,并不意味着购买了版权,文档只能用于自身使用,不得用于其他商业用途(如 [转卖]进行直接盈利或[编辑后售卖]进行间接盈利)。
2、本站所有内容均由合作方或网友上传,本站不对文档的完整性、权威性及其观点立场正确性做任何保证或承诺!文档内容仅供研究参考,付费前请自行鉴别。
3、如文档内容存在违规,或者侵犯商业秘密、侵犯著作权等,请点击“违规举报”。

碎片内容

供货应急管理方案

您可能关注的文档

确认删除?
VIP
微信客服
  • 扫码咨询
会员Q群
  • 会员专属群点击这里加入QQ群
客服邮箱
回到顶部