电脑桌面
添加小米粒文库到电脑桌面
安装后可以在桌面快捷访问

通讯设施安装项目服务方案

通讯设施安装项目服务方案_第1页
1/8
通讯设施安装项目服务方案_第2页
2/8
通讯设施安装项目服务方案_第3页
3/8
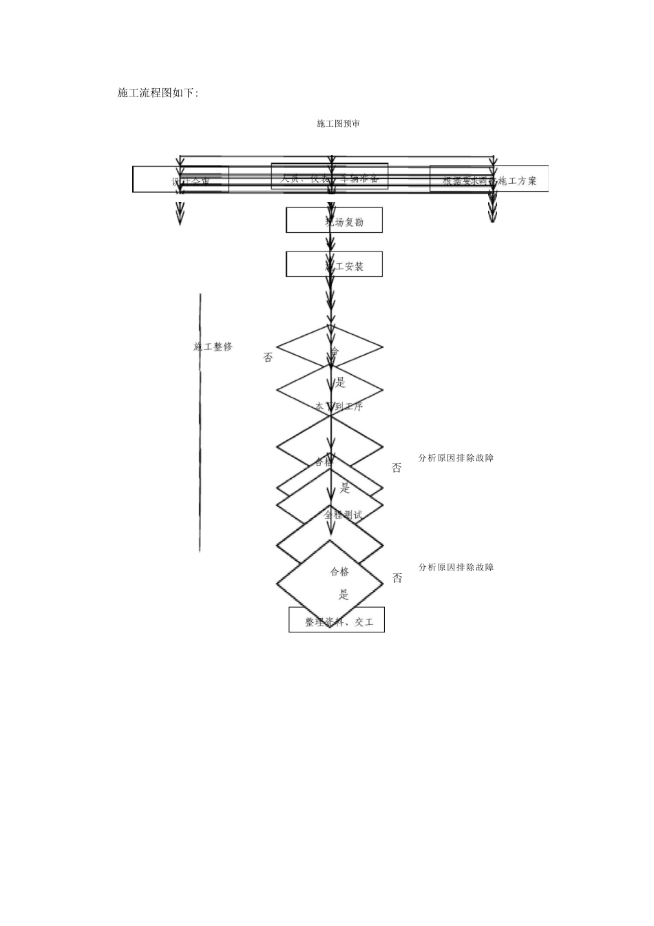
通讯设施安装项目服务方案1.1.1.工程前期准备1.根据工程中标情况,在拿到设计图纸之后,组织技术员、质量员、安全员、材料员等相关人员深化现场复堪并收集相关问题,掌握重点、填写摸底报告。2.根据实际工程的情况,项目部给各施工队调配相应的车辆机具仪表。3.组织编写施工组织设计。4.对施工人员进行施工技术、安全交底。5.对甲供材进行接收并进行检验、登记造册入库,属自购材料根据建设单位要求进行采购。1.1.2.工程实施和过程控制措施1.1.2.1. 施工流程1.1.2.1.1.施工过程控制1.工程的各道施工工序,严格根据施工法律规范、施工操作规程进行施工,仔细执行“自检”、“互检”、“专检”的“三检”制度。2.根据本工程的特点,设置以下工序:现场复勘、线缆安装、安装质量检查、全程监控、竣工资料编制、工程交付。施工流程图如下:施工图预审分析原因排除故障否分析原因排除故障否1.1.2.1.2.施工技术准备施工前的技术准备工作包括施工技术资料准备、施工图设计审核和设计交底、编制施工组织设计或施工方案、施工人员的资格认定、安全技术交底、新技术培训等。(1)工程相关文件、技术资料准备为了便于工程项目的实施,保证施工过程中可以方便、准确地查找到相关工程技术资料、管理资料,在施工准备阶段,项目部除应做好施工合同、施工图设计、设计会审纪要的收集工作以外,还应收集、准备好与工程有关的技术文件和与安全施工有关的资料。(2)施工图设计审核审查施工图设计的程序通常分为自审、会审二个阶段。施工图设计的审核收集到施工项目的有关技术文件后,项目部第一时间组织相关工程技术人员熟悉施工图设计,填写自审的记录。施工图设计自审的内容包括:1)施工图设计是否完整、齐全,施工图纸和设计资料是否符合国家有关工程建设的法律法规和强制性标准的要求;2)施工图设计是否有误,各组成部分之间有无矛盾;3)工程项目的施工工艺流程和技术要求是否合理;4)对于施工图设计中的工程复杂、施工难度大和技术要求高的施工部分或应用新技术、新材料、新工艺的部分,分析现有施工技术水平和管理水平能否满足工期和质量要求;5)分析施工项目所需主要材料、设备的数量、规格、供货情况能否满足工程要求;6)施工图中技术方案的可行性;7)找出施工图上标注不明确的问题并记录;8)工程预算是否合理。(3)制定安全技术措施为了克服生产中的薄弱环节,挖掘生产潜力,保证施工安全,按时完成生产任务,获得良好的经济效益,提高技术水平,...

1、当您付费下载文档后,您只拥有了使用权限,并不意味着购买了版权,文档只能用于自身使用,不得用于其他商业用途(如 [转卖]进行直接盈利或[编辑后售卖]进行间接盈利)。
2、本站所有内容均由合作方或网友上传,本站不对文档的完整性、权威性及其观点立场正确性做任何保证或承诺!文档内容仅供研究参考,付费前请自行鉴别。
3、如文档内容存在违规,或者侵犯商业秘密、侵犯著作权等,请点击“违规举报”。

碎片内容

通讯设施安装项目服务方案

您可能关注的文档

确认删除?
VIP
微信客服
  • 扫码咨询
会员Q群
  • 会员专属群点击这里加入QQ群
客服邮箱
回到顶部