电脑桌面
添加小米粒文库到电脑桌面
安装后可以在桌面快捷访问

饲料厂原料采购验收制度

饲料厂原料采购验收制度_第1页
1/9
饲料厂原料采购验收制度_第2页
2/9
饲料厂原料采购验收制度_第3页
3/9
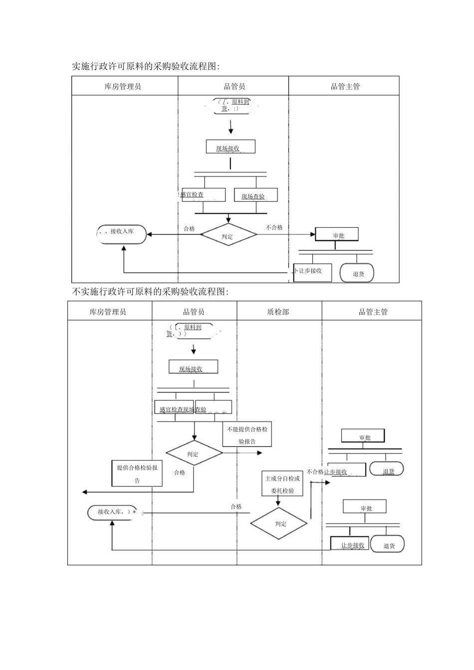
饲料厂原料采购验收制度一、目的为法律规范公司内部饲料原料的采购和验收,使原料验收标准,满足《饲料和饲料添加剂管理条例》及其它法律法规,确保饲料原料安全和质量稳定。二、适用范围适用于 XXX 有限公司原料采购与验收。三、管理职责1.品管部负责原料质量的验收工作。1.1 品管经理对原料的品质验收有一票否决权。1.2 品管员对原料的感官质量有判定权,对感官不合格的原料由品管经理进行审批。化验员对原料的检测指标有判定权,由品管经理进行综合评定。2.原料部根据采购计划选择《合格供应商名录》所列的原料品种和供应商采购原料,签订合同时需要走流程审批通过。3.库房管理员负责到厂原料数量、堆码、储存和防护。四、具体条款规定1.采购验收流程1.1 原料验收流程示意图实施行政许可原料的采购验收流程图:不合格合格判定退货库房管理员品管员品管主管:、、接收入库〈[、原料到货,:〉现场接收卜让步接收!感官检查现场查验审批不实施行政许可原料的采购验收流程图:判定退货判定退货库房管理员品管员质检部品管主管现场接收感官检查现场查验审批不合格让步接收合格合格审批让步接收主成分自检或委托检验不能提供合格检验报告提供合格检验报告〈[、原料到货,)〉接收入库,)*1.2 原料到场后由品管员查验,并抽样进行感官检查,查验、检查判定合格的原料,由品管员通知库管、装卸工卸车,并将样品送质检部检测其他营养指标、卫生指标等;对于不符合感官指标的原料,变质、有异味等原料实行一票否决制,由品管员通知品管经理,再由品管经理审批后,通知原料经理,执行退货。1.3 品管员要在卸车过程中进行全程监控,发现掺杂掺假及严重霉变等问题及时制止卸车,并第一时间上报给品管经理处理;卸完车的原料要立即通知库管员悬挂《原料垛位标识卡及出入库记录》的标识牌,并注明入库信息。1.4 收货员要及时填写并保存《原料进货台账》。2. 原料验收标准公司原料验收标准依据如下:2.1 参考国家标准、行业标准或地方标准2.2 禁止采购来自疫区的原料2.3《饲料卫生标准》3. 查验要求3.1 原料到厂后,品管员进行查验,并做好《原料查验卸货记录通知单》,查验的内容为:3.2 原料新奇、无霉变、无异味、无杂质。3.3 品管员还应查验:3.4 车辆卫生状况,车厢洁净无污染物。3.5 生产日期。有保质期的,应在保质期内。3.6 查验合格后,取样检测。4. 检验要求公司逐批对原料主成分进行检验:水份、灰分。5. 检验依据5.1 检验方法:...

1、当您付费下载文档后,您只拥有了使用权限,并不意味着购买了版权,文档只能用于自身使用,不得用于其他商业用途(如 [转卖]进行直接盈利或[编辑后售卖]进行间接盈利)。
2、本站所有内容均由合作方或网友上传,本站不对文档的完整性、权威性及其观点立场正确性做任何保证或承诺!文档内容仅供研究参考,付费前请自行鉴别。
3、如文档内容存在违规,或者侵犯商业秘密、侵犯著作权等,请点击“违规举报”。

碎片内容

饲料厂原料采购验收制度

您可能关注的文档

确认删除?
VIP
微信客服
  • 扫码咨询
会员Q群
  • 会员专属群点击这里加入QQ群
客服邮箱
回到顶部