电脑桌面
添加小米粒文库到电脑桌面
安装后可以在桌面快捷访问

施工监理旁站实施细则

施工监理旁站实施细则_第1页
1/12
施工监理旁站实施细则_第2页
2/12
施工监理旁站实施细则_第3页
3/12
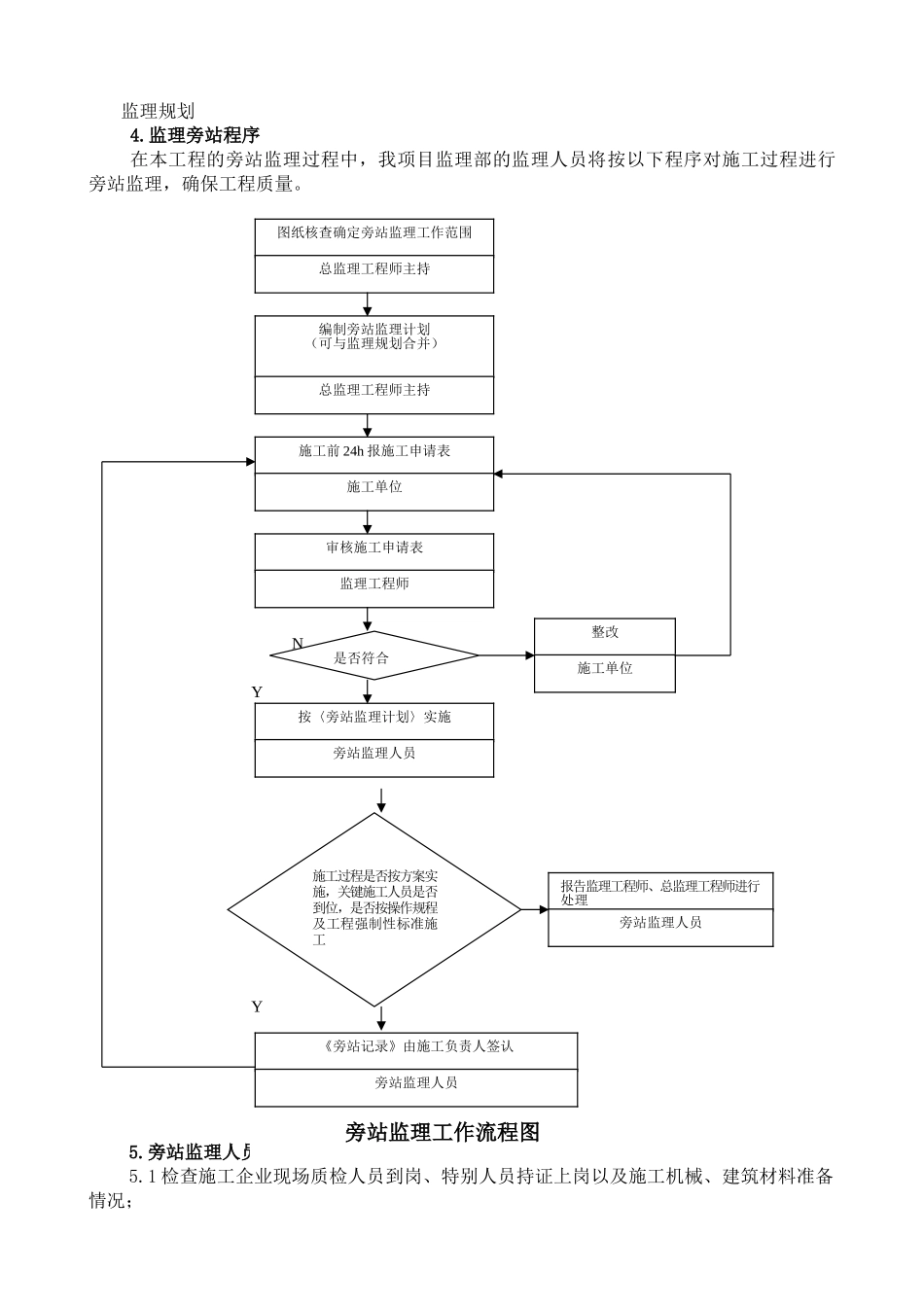
B13B13 工程监理实施细则监理实施细则(施工监理旁站) 内容提要: 工程概况及特点 监理工作范围与内容 监理工作依据 监理工作程序监理人员的职责 监理控制要点及工作措施 项目监理机构(章): 专业监理工程师: 总监理工程师: 日期: 江苏省建设厅监制施工监理旁站实施细则1.工程概况及特点:1.1 ****** 工程,位于 **** 省 ****** 市 ****, 总面积约 **** 平方米,地上 ** 层,地下 ** 层,主要由 ***** 组成。地下是 ***, 地上主要是 *** ,建筑高度是 *** 米,结构形式为 **, 基础 形式为 **** 。 耐火等级是 *** ,抗震设防烈度是 **** 。 1.2 该工程建设单位是 *** ,施工单位是 *** ,设计单位是 *** (简单描述) 2.旁站监理的范围与内容旁站监理是指监理人员在施工阶段的监理中,对与工程结构、使用功能有重大关系,事后难于检查、补救的关键部位、特别过程的施工质量实施全过程现场跟班监督活动。我项目监理部将根据建设部《房屋建筑工程施工旁站监理管理办法(试行)》及省、市政府相关规定,在本工程施工阶段监理中,对关键部位、关键工序的施工质量实施全过程旁站监理。本工程旁站监理的特别过程、关键工序有:土方回填、混凝土灌注桩浇筑、地下连续墙、钢结构安装、梁柱节点钢筋隐蔽过程、混凝土浇筑、预应力张拉、卷材防水层细部构造处理、后浇带。(根据工程项目具体情况增加删减)旁站监理的内容有:施工准备情况、施工自然条件的符合性、施工操作过程、施工原材料检验、现场原材料试验、突发事件的应急处理、施工记录检查、旁站监理记录等。3.旁站监理依据(根据工程项目具体情况增加删减)3.1 工程建设有关标准、法律规范、规程。《中华人民共和国建筑法》《建筑工程质量管理条例》《中华人民共和国合同法》《房屋建筑工程施工旁站监理管理办法(试行)》《建设工程监理人员岗位职责管理规定》*************3.2 工程建设强制性技术标准,主要有:《建筑工程监理法律规范》《建筑工程施工质量验收统一标准》《地基与基础工程施工及验收法律规范》《混凝土外加剂应用法律规范》《混凝土质量控制标准》《混凝土结构工程施工及验收法律规范》《混凝土搅拌站(楼)技术条件》《混凝土泵送施工技术规程》《混凝土强度检验评定标准》《预拌混凝土标准》《钢筋机械连接通用技术规程》《钢筋焊接及验收规程》《砌体工程施工及验收法律规范》《混凝土小型空心砌块建筑技术规程...

1、当您付费下载文档后,您只拥有了使用权限,并不意味着购买了版权,文档只能用于自身使用,不得用于其他商业用途(如 [转卖]进行直接盈利或[编辑后售卖]进行间接盈利)。
2、本站所有内容均由合作方或网友上传,本站不对文档的完整性、权威性及其观点立场正确性做任何保证或承诺!文档内容仅供研究参考,付费前请自行鉴别。
3、如文档内容存在违规,或者侵犯商业秘密、侵犯著作权等,请点击“违规举报”。

碎片内容

施工监理旁站实施细则

确认删除?
VIP
微信客服
  • 扫码咨询
会员Q群
  • 会员专属群点击这里加入QQ群
客服邮箱
回到顶部