电脑桌面
添加小米粒文库到电脑桌面
安装后可以在桌面快捷访问

过程定义文件配置管理规范

过程定义文件配置管理规范_第1页
1/3
过程定义文件配置管理规范_第2页
2/3
过程定义文件配置管理规范_第3页
3/3
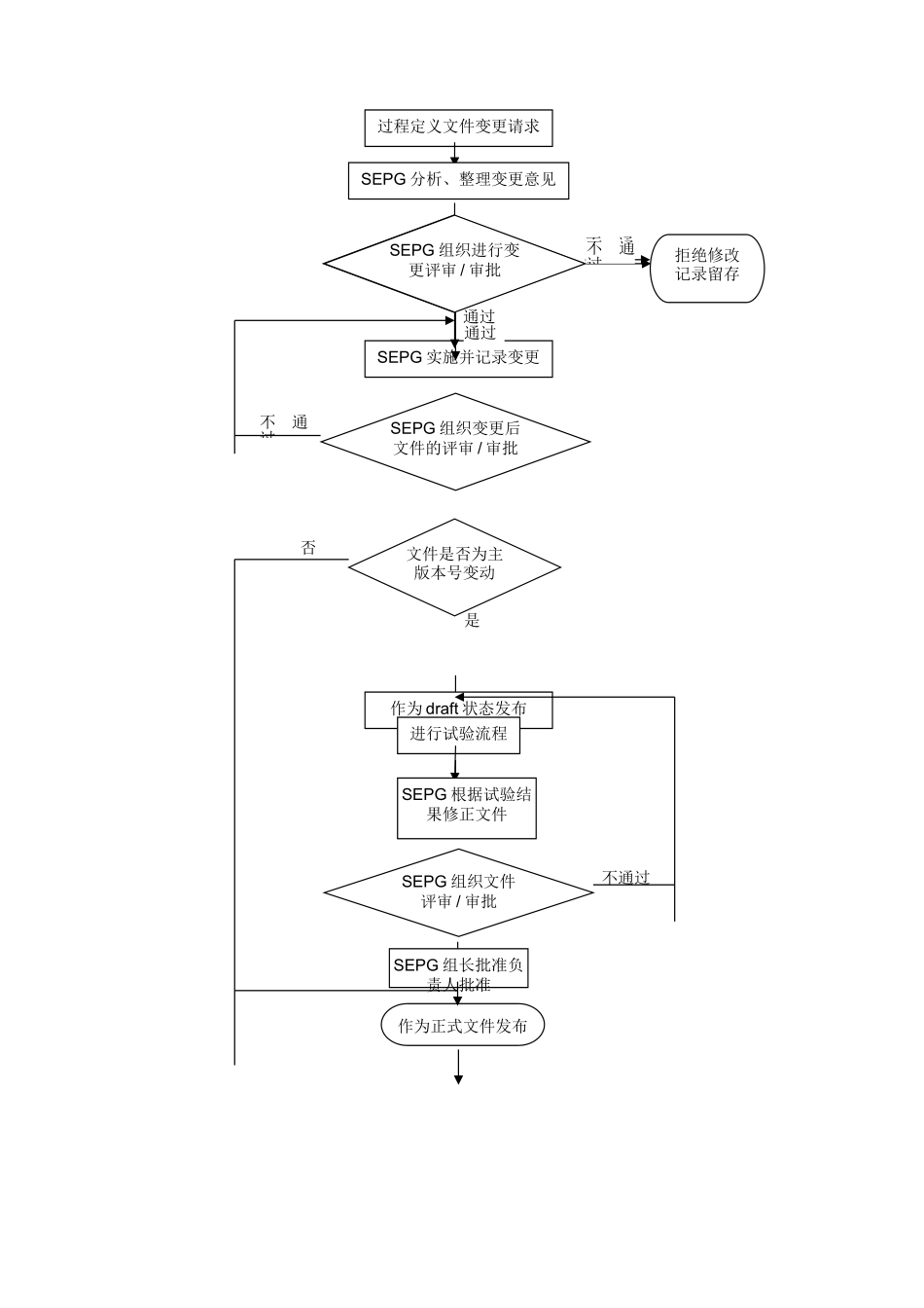
过程定义文件配置管理法律规范1. 过程定义文件版本标识法律规范1.1 程序文件版本: 版本:Vx.x[draft],修改状态:x 1.2 支持文件版本: 版本:Vx.x[draft]2. 过程定义文件更改控制流程小状态修改,初始状态为 0,根据修改次数累计。当主版本号变动时,修改状态刷新。文件草案稿状态,只针对主版本变动。当文件草案稿经过试验流程并评定后,文件消除 draft 状态,转为正式版本。文件主版本号。当本文件内容进行了较大的变动后,经 SEPG 批准,主版本号加 1。文件体系版本号。当整个文件体系进行了较大的结构调整后,经 SEPG 批准,全部程序文件体系版本号加 1。小状态修改,初始状态为 0,根据修改次数累计。当主版本号变动时,修改状态刷新。文件草案稿状态,只针对主版本变动。当文件草案稿经过试验流程并评定后,文件消除 draft 状态,转为正式版本。文件主版本号。当本文件内容进行了较大的变动后,经 SEPG 批准,主版本号加 1。过程定义文件变更请求SEPG 分析、整理变更意见SEPG 实施并记录变更通过SEPG 组织进行变更评审 / 审批不通过通过SEPG 组织进行变更评审 / 审批不通过通过SEPG 组织变更后文件的评审 / 审批不通过是文件是否为主版本号变动否作为 draft 状态发布进行试验流程SEPG 根据试验结果修正文件SEPG 组织文件评审 / 审批通过不通过拒绝修改记录留存作为正式文件发布SEPG 组长批准负责人批准2.1 SEPG 接收并从各种渠道收集开发人员对过程定义文件的修改建议,经过汇总分析后,提请 SEPG 会议或负责相应领域的 SEPG 成员进行评审、审批。2.2 根据 SEPG 的评审/审批意见,确定行动方案。2.2.1 假如评审/审批意见为不通过,由 SEPG 过程定义文件管理人员对意见提出方进行回复,并将修改记录备档。2.2.2 假如评审/审批意见为通过,SEPG 确定专人对此过程定义文件进行修改。2.3 修改后的文件需由 SEPG 再次进行评审/审批,以确认文件修改的正确性与合理性。2.4 如根据“过程定义文件版本标识法律规范”确认修改后的文件为主版本变动,应将其标识为"draft"状态,选择 1~2 个项目进行试验。经选择的项目应有代表性,并需征得产品/项目经理的同意,得到研发中心总经理的批准。2.5 当项目组的试验期限结束后,由 SEPG 组织,对试验结果进行评定与文件的修正。如评定未通过,对文件修正后重新进行试验流程。2.6 评定通过后,该文件由 SEPG 主席批准,作为正式版本发布。

1、当您付费下载文档后,您只拥有了使用权限,并不意味着购买了版权,文档只能用于自身使用,不得用于其他商业用途(如 [转卖]进行直接盈利或[编辑后售卖]进行间接盈利)。
2、本站所有内容均由合作方或网友上传,本站不对文档的完整性、权威性及其观点立场正确性做任何保证或承诺!文档内容仅供研究参考,付费前请自行鉴别。
3、如文档内容存在违规,或者侵犯商业秘密、侵犯著作权等,请点击“违规举报”。

碎片内容

过程定义文件配置管理规范

人从众+ 关注
实名认证
内容提供者

欢迎光临小店,本店以公文和教育为主,希望符合您的需求。

确认删除?
VIP
微信客服
  • 扫码咨询
会员Q群
  • 会员专属群点击这里加入QQ群
客服邮箱
回到顶部