电脑桌面
添加小米粒文库到电脑桌面
安装后可以在桌面快捷访问

PRINTRONIX普印力行打简易使用手册

PRINTRONIX普印力行打简易使用手册_第1页
1/9
PRINTRONIX普印力行打简易使用手册_第2页
2/9
PRINTRONIX普印力行打简易使用手册_第3页
3/9
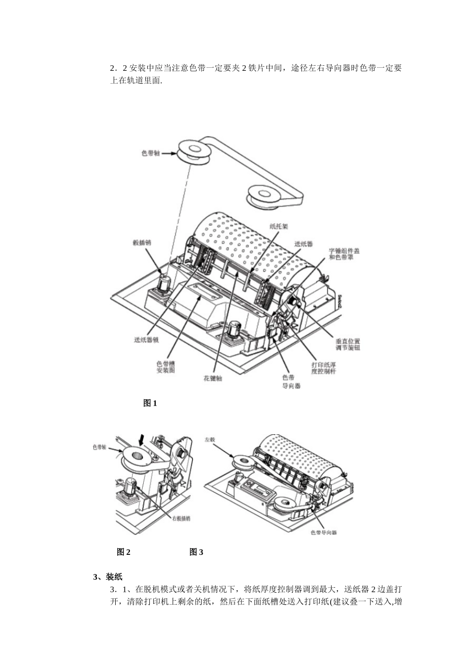
PRINTRONIX 行式打印机 简易使用手册成都印邦科技有限公司2005 年 11 月 8 日二、安装。1、电源要求1.1 打印机使用单独的沟通电源插头,电压在 220V,电流为 5 安培,频率 50 或60HZ。1.2 工作习惯,打印之前开机,下班关机,中途不用关机。1.3 打印中有异味或异样响动,请关机联系服务工程师。2、色带的安装2.1、将打印纸厚度控制杆抬起到最大位置,然后按住右边的卡子上的插销,将色带轴套到右卡子上,色带经过右边色带导向器,进入掩膜和挡片中间(打印头前 2 片银色铁片),再途径左色带导向器,最后左边和右边上色带轴相同(参照机盖上的图)2.2 安装中应当注意色带一定要夹 2 铁片中间,途径左右导向器时色带一定要上在轨道里面. 图 1 图 2 图 33、装纸3.1、在脱机模式或者关机情况下,将纸厚度控制器调到最大,送纸器 2 边盖打开,清除打印机上剩余的纸,然后在下面纸槽处送入打印纸(建议叠一下送入,增加纸硬度),当纸送出高于打印头位置可以移出一只手去拉出打印纸,再放入送纸器的拖纸链上的齿轮上对齐 2 边,关上送纸器盖。 图 4 图 5 图 63.2、在脱机模式下,连续快速按几次换页键将打印纸页缝对齐拖纸器盖上中间位置的箭头,再按定页端,机器会自动对齐打印初始位置。 图 7⑶、纸张厚度控制器上分别有 A、B、C 三个字母,相对代表打印纸厚度分别是1、3、5 层标准纸的打印纸厚度,由于建行普遍是新机器,打印锤磨耗小,所以建议在调节纸张厚度时略微调大一些,单层 A-B 之间.多层 B 或者 B-C 之间。当然这以打印效果为准,以最佳效果为标准,根据具体情况进行调节。 图 83.4、柜式打印机改变门所开方向P5206H 的机器前后门都可以改变打开的方向,在机柜上前后分别有 8 颗螺丝固定前后门,只需要取下螺丝把原来固定零件固定在另外一边就可以改变打开方向了。3.5、打印机面板操作打印机面板上分别有联机/清除、换页、察看/归位、删除、确认、选业/质量、配置打印、定页端、前项、后项、向上和向下共 12 个键。 图 9 图 10 联机/清除在联机模式与脱机模式之间切换,假如有错误出现还可以清除错误,而且清除错误后进入脱机模式.换页快速按一次走一行,按住不放此键走一页.察看/归位由于打印头的位置,打印当中,刚打的一部分内容被打印头挡住,无法察看,通过此键可以察看打印头挡住的位置的内容,按一次是察看,察看完再按一次它又自动恢复原来的位置。删除在脱机模式下,按删...

1、当您付费下载文档后,您只拥有了使用权限,并不意味着购买了版权,文档只能用于自身使用,不得用于其他商业用途(如 [转卖]进行直接盈利或[编辑后售卖]进行间接盈利)。
2、本站所有内容均由合作方或网友上传,本站不对文档的完整性、权威性及其观点立场正确性做任何保证或承诺!文档内容仅供研究参考,付费前请自行鉴别。
3、如文档内容存在违规,或者侵犯商业秘密、侵犯著作权等,请点击“违规举报”。

碎片内容

PRINTRONIX普印力行打简易使用手册

确认删除?
VIP
微信客服
  • 扫码咨询
会员Q群
  • 会员专属群点击这里加入QQ群
客服邮箱
回到顶部