电脑桌面
添加小米粒文库到电脑桌面
安装后可以在桌面快捷访问

公开邀请招标流程图

公开邀请招标流程图_第1页
1/2
公开邀请招标流程图_第2页
2/2
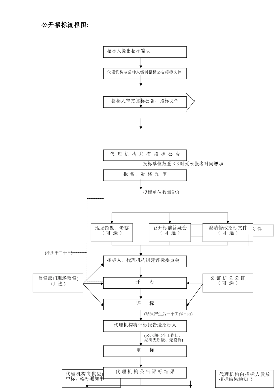
(结果产生后一个工作日内)(公示期七个工作日,期满无质疑、无投诉)公开招标流程图: 投标单位数量<3 时延长报名时间增加投标单位数量≥3代理机构与招标人编制招标公告招标文件代 理 机 构 发 布 招 标 公 告招标人审定招标公告、招标文件代 理 机 构 发 售 招 标 文 件评 标定 标招标人、代理机构组建评标委员会开 标代理机构向供应商发放中标、落标通知书中标、落标通知书代 理 机 构 公 告 评 标 结 果招标人提出招标需求报 名 、资 格 预 审现场踏勘、考察( 可 选 )召开标前答疑会( 可 选 )澄清修改招标文件( 可 选 )监督部门现场监督( 可 选 ) 公 证 机 关 公 证( 可 选 )代理机构将评标报告送招标人代理机构向招标人发放招标结果通知书(不少于二十日) 邀请招标流程图:现场踏勘 、 考 察(可选)(可选)召 开 标 前答疑会(可选)(可选)澄 清 修 改招 标 文 件(可选)(可选)招 标 成 功否更 改 招 标 文件重新招标更 改 招 标 方式重新招标由评标委员会推举中标候选人招标代理机构发布预告中标公告用户方确认评标结果、定标招标代理机构发布中标公告及发送中标通知书招标代理机构向投标商退还投标保证金和收取中标服务费招标人、用户方向招标代理机构发出招标委托函招标代理机构根据用户方需求编制招标文件用户审定、确认招标文件招标代理机构向合格供应商发出投标邀请书投标人报名,代理机构发售招标文件投标人投标交纳投标保证金依法组建评标委员会开标、唱标、评标向三个以上具备承担招标项目的能力,资信良好的法人或其他组织发出招标公告招标文件发出至提交投标文件截止之日止,最短不得少于二十日投标保证金须于招标文件规定的截止日前到账公 示 期 3个日历日失败失败

1、当您付费下载文档后,您只拥有了使用权限,并不意味着购买了版权,文档只能用于自身使用,不得用于其他商业用途(如 [转卖]进行直接盈利或[编辑后售卖]进行间接盈利)。
2、本站所有内容均由合作方或网友上传,本站不对文档的完整性、权威性及其观点立场正确性做任何保证或承诺!文档内容仅供研究参考,付费前请自行鉴别。
3、如文档内容存在违规,或者侵犯商业秘密、侵犯著作权等,请点击“违规举报”。

碎片内容

公开邀请招标流程图

您可能关注的文档

确认删除?
VIP
微信客服
  • 扫码咨询
会员Q群
  • 会员专属群点击这里加入QQ群
客服邮箱
回到顶部