电脑桌面
添加小米粒文库到电脑桌面
安装后可以在桌面快捷访问

天津天保国际商务园机电给排水及采暖工程监理实施细则VIP免费

天津天保国际商务园机电给排水及采暖工程监理实施细则_第1页
1/8
天津天保国际商务园机电给排水及采暖工程监理实施细则_第2页
2/8
天津天保国际商务园机电给排水及采暖工程监理实施细则_第3页
3/8
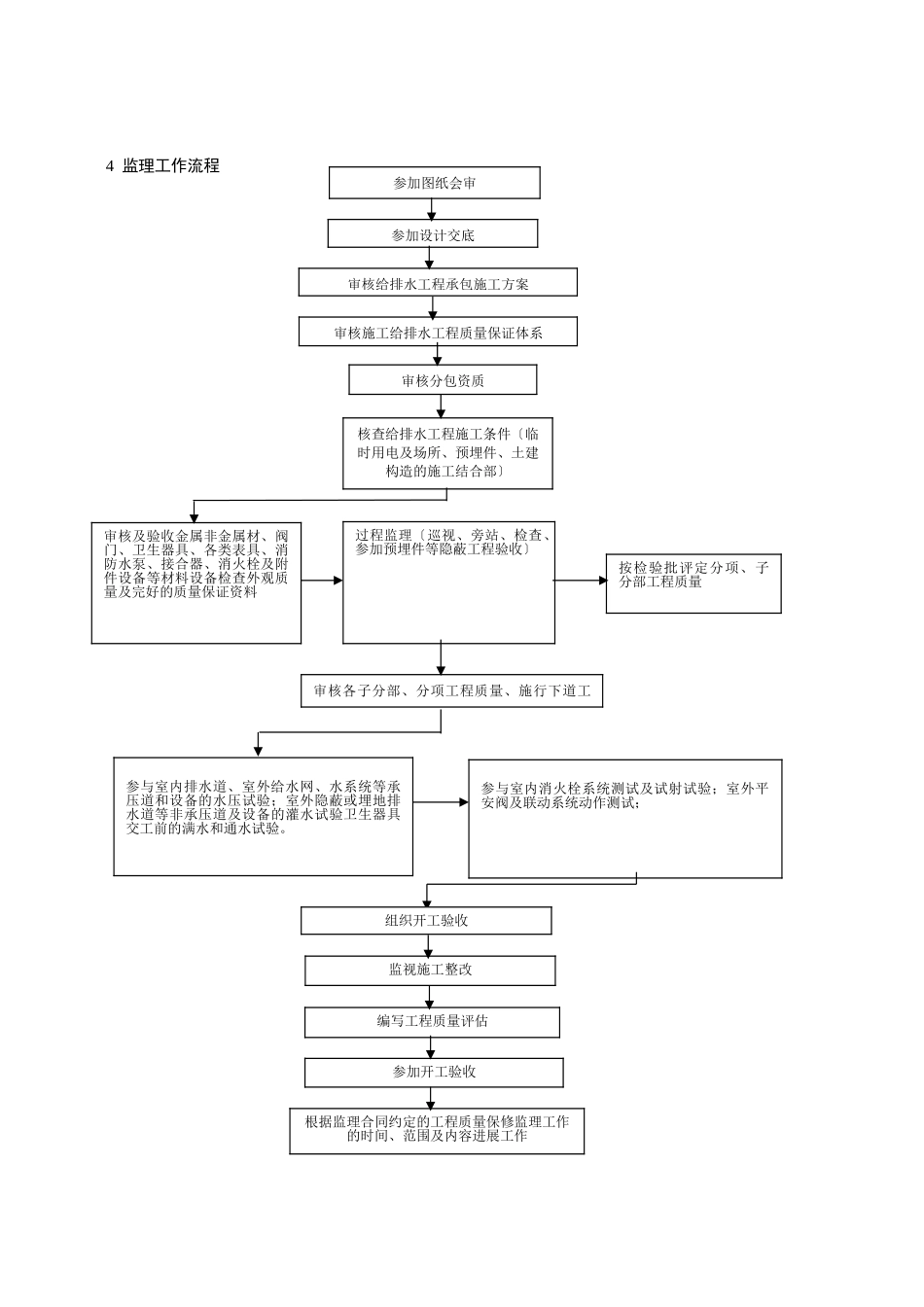
天津天保国际商务园〔A〕机电工程建筑给排水及采暖监理实施细那么编制人:批准人:批准时间:上海外经工程咨询监理天津天保国际商务园A区监理工程部建筑给水排水及采暖工程1工程概况本工程地块位于天津空港物流加工区中心大道与西二路交角处A地块场地北邻环河北路东临中心大道南侧为西二路西侧为规划支二路二。A地块商务园工程由地上、地下二部组成:〔1〕地上部为31幢写字楼。其层数分别为4、5、6、9层其檐口高度分别为4层19.05米、5层23.1米、6层27.65米、9层40.05米。4、5层建筑为多层建筑6、9层建筑为二类高层建筑。各单体地上部使用功能首层入口大、商务办公、二至顶层为办公层屋顶为电梯机房、空调机房、水箱间、冷却塔、楼梯间、屋顶花园。〔2〕地下部由a-f6个区组成6个区均为地下一层。地下部使用功能其中a-d区为汽车库、设备用房、商务配套餐、厨房、e区为汽车库、设备用房及15000m2人防人防共分为8个防护单元平时为汽车库设备用房:战时转换为二等人员掩蔽、物资库、防控专业装备掩蔽部、柴油电站等功能f区为A地块的动力中心。〔3〕施工范围:包括室内给水系统、中水系统、排水系统、雨水系统、空调冷却循环水系统、消火栓系统、湿试喷淋系统的设计及灭火器的配置。3执行的、法规1.?建筑给水排水及采暖工程施工质量验收?GB50242-20022.?建筑给水硬聚氯乙烯〔PVC-U〕道工程技术?GBJ/CT504-993.?建筑给水交联聚乙烯〔PEX〕道工程技术规程?DBJ/CT503-994.?建筑给水聚丙烯〔PP-R〕工程技术规程?DBJ/CT501-995.建筑给水铝塑复合道工程技术规程?CECS105∶20006.?建筑给水排水设计?GB15-88〔1997年版〕7.?建筑设计防火?GBJ16-87〔2001年版〕8.?高层民用建筑设计防火?GB5045-979.?建筑给水硬聚氯乙烯道设计与施工验收?CECS41∶9210.?自动喷水灭火系统施工及验收?GB50261-200511.?埋地硬聚氯乙烯给水道工程技术规程?CECS17∶200012.?埋地硬聚氯乙烯排水道工程技术规程?CECS122∶200113.?建筑排水硬聚氯乙烯道工程技术规程?CJJ/T29-9814.?屋面雨水排水硬聚氯乙烯道工程技术规程?DBJ08-42-9515.?工业金属道施工及验收?GB50235-9716.?机械设备安装工程施工及验收通用?GB50231-984监理工作流程参加图纸会审参加设计交底审核给排水工程承包施工方案审核施工给排水工程质量保证体系审核分包资质核查给排水工程施工条件〔临时用电及场所、预埋件、土建构造的施工结合部〕审核及验收金属非金属材、阀门、卫生器具、各类表具、消防水泵、接合器、消火栓及附件设备等材料设备检查外观质量及完好的质量保证资料过程监理〔巡视、旁站、检查、参加预埋件等隐蔽工程验收〕按检验批评定分项、子分部工程质量审核各子分部、分项工程质量、施行下道工序参与室内排水道、室外给水网、水系统等承压道和设备的水压试验;室外隐蔽或埋地排水道等非承压道及设备的灌水试验卫生器具交工前的满水和通水试验。参与室内消火栓系统测试及试射试验;室外平安阀及联动系统动作测试;组织开工验收监视施工整改编写工程质量评估参加开工验收根据监理合同约定的工程质量保修监理工作的时间、范围及内容进展工作5监理工作的控制要点及值1.施工前监理工作的控制要点及目的值1〕审核本工程设计图及有关设计并就上述所发现的设计错漏及有违现行之处、设计不确定及其设计深度、系统设计与建筑功能的不一致性、系统优化等问题通过图纸会审、设计交底或其他形式向业主、设计等有关方提出。通过共同努力以求得一个符合现行、满足建筑功能要求现场施工根本可行、设计意图表达明晰布及系统根本合理的给排水及采暖工程建立平台为今后的给排水采暖工程施工过程质量、、工等三控制建立根底。2〕审核给排水及采暖工程分包资质〔其中包括:施工的的企业资质、工商执照、企业业绩;本工程工程经理资质及等级证书;特种专业施工人员上岗等〕要求如下:①企业资质、工商执照、工程经理及特种专业人员上岗证等符合规定并在法定有效内;②企业资质与工程经理等级与本工程等级相符企业业绩中包含与本工程相似工程。3〕审核施工组织设计或施工方案要求如下:①适时性〔分包应在施工前提出〕;②技术保证〔方案中提出的施工工艺技术符合本...

1、当您付费下载文档后,您只拥有了使用权限,并不意味着购买了版权,文档只能用于自身使用,不得用于其他商业用途(如 [转卖]进行直接盈利或[编辑后售卖]进行间接盈利)。
2、本站所有内容均由合作方或网友上传,本站不对文档的完整性、权威性及其观点立场正确性做任何保证或承诺!文档内容仅供研究参考,付费前请自行鉴别。
3、如文档内容存在违规,或者侵犯商业秘密、侵犯著作权等,请点击“违规举报”。

碎片内容

天津天保国际商务园机电给排水及采暖工程监理实施细则

墨香书阁+ 关注
实名认证
内容提供者

热爱教学事业,对互联网知识分享很感兴趣

确认删除?
VIP
微信客服
  • 扫码咨询
会员Q群
  • 会员专属群点击这里加入QQ群
客服邮箱
回到顶部