电脑桌面
添加小米粒文库到电脑桌面
安装后可以在桌面快捷访问

单稳态触发器与施密特触发器原理及应用VIP免费

单稳态触发器与施密特触发器原理及应用_第1页
1/9
单稳态触发器与施密特触发器原理及应用_第2页
2/9
单稳态触发器与施密特触发器原理及应用_第3页
3/9
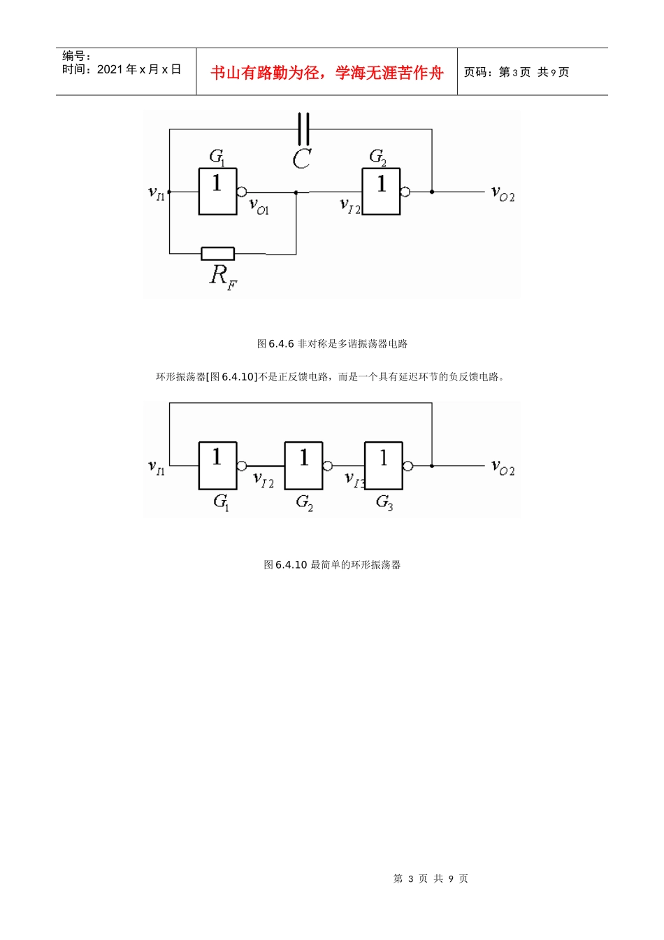
第1页共9页编号:时间:2021年x月x日书山有路勤为径,学海无涯苦作舟页码:第1页共9页CD4047BE单稳态触发器原理及应用多谐振荡器是一种自激振荡电路。因为没有稳定的工作状态,多谐振荡器也称为无稳态电路。具体地说,如果一开始多谐振荡器处于0状态,那么它在0状态停留一段时间后将自动转入1状态,在1状态停留一段时间后又将自动转入0状态,如此周而复始,输出矩形波。图6.4.1对称式多谐振荡器电路对称式多谐振荡器是一个正反馈振荡电路[图6.4.1,]。和是两个反相器,和是两个耦合电容,和是两个反馈电阻。只要恰当地选取反馈电阻的阻值,就可以使反相器的静态工作点位于电压传输特性的转折区。上电时,电容器两端的电压和均为0。假设某种扰动使有微小的正跳变,那么经过一个正反馈过程,迅速跳变为,迅速跳变为,迅速跳变为,迅速跳变为,电路进入第一个暂稳态。电容和开始充电。的充电电流方向与参考方向相同,正向增加;的充电电流方向与参考方向相反,负向增加。随着的正向增加,第2页共9页第1页共9页编号:时间:2021年x月x日书山有路勤为径,学海无涯苦作舟页码:第2页共9页从逐渐上升;随着的负向增加,从逐渐下降。因为经和两条支路充电而经一条支路充电,所以充电速度较快,上升到时还没有下降到。上升到使跳变为。理论上,向下跳变,也将向下跳变。考虑到输入端钳位二极管的影响,最多跳变到。下降到使跳变为,这又使从向上跳变,即变成,电路进入第二个暂稳态。经一条支路反向充电(实际上先放电再反向充电),逐渐下降。经和两条支路反向充电(实际上先放电再反向充电),逐渐上升。的上升速度大于的下降速度。当上升到时,电路又进入第一个暂稳态。此后,电路将在两个暂稳态之间来回振荡。非对称式多谐振荡器是对称式多谐振荡器的简化形式[图6.4.6]。这个电路只有一个反馈电阻和一个耦合电容。反馈电阻使的静态工作点位于电压传输特性的转折区,就是说,静态时,的输入电平约等于,的输出电平也约等于。因为的输出就是的输入,所以静态时也被迫工作在电压传输特性的转折区。第3页共9页第2页共9页编号:时间:2021年x月x日书山有路勤为径,学海无涯苦作舟页码:第3页共9页图6.4.6非对称是多谐振荡器电路环形振荡器[图6.4.10]不是正反馈电路,而是一个具有延迟环节的负反馈电路。图6.4.10最简单的环形振荡器第4页共9页第3页共9页编号:时间:2021年x月x日书山有路勤为径,学海无涯苦作舟页码:第4页共9页图6.4.19石英晶体多谐振荡器石英晶体具有优越的选频性能。将石英晶体引入普通多谐振荡器就能构成具有较高频率稳定性的石英晶体多谐振荡器[图6.4.19]。我们知道,普通多谐振荡器是一种矩形波发生器,上电后输出频率为的矩形波。根据傅里叶分析理论,频率为的矩形波可以分解成无穷多个正弦波分量,正弦波分量的频率为(),如果石英晶体的串联谐振频率为,那么只有频率为的正弦波分量可以通过石英晶体(第个正弦波分量,),形成正反馈,而其它正弦波分量无法通过石英晶体。频率为的正弦波分量被反相器转换成频率为矩形波。因为石英晶体多谐振荡器的振荡频率仅仅取决于石英晶体本身的参数,所以对石英晶体以外的电路元件要求不高。第5页共9页第4页共9页编号:时间:2021年x月x日书山有路勤为径,学海无涯苦作舟页码:第5页共9页HEF4093BP施密特触发器原理及应用我们知道,门电路有一个阈值电压,当输入电压从低电平上升到阈值电压或从高电平下降到阈值电压时电路的状态将发生变化。施密特触发器是一种特殊的门电路,与普通的门电路不同,施密特触发器有两个阈值电压,分别称为正向阈值电压和负向阈值电压。在输入信号从低电平上升到高电平的过程中使电路状态发生变化的输入电压称为正向阈值电压(),在输入信号从高电平下降到低电平的过程中使电路状态发生变化的输入电压称为负向阈值电压()。正向阈值电压与负向阈值电压之差称为回差电压()。普通门电路的电压传输特性曲线是单调的,施密特触发器的电压传输特性曲线则是滞回的[图6.2.2(a)(b)]。图6.2.1用CMOS反相器构成的施密特触发器(a)电路(b)图形符号第6页共9页第5页共9页编号:时间:2021年x月x日书山有...

1、当您付费下载文档后,您只拥有了使用权限,并不意味着购买了版权,文档只能用于自身使用,不得用于其他商业用途(如 [转卖]进行直接盈利或[编辑后售卖]进行间接盈利)。
2、本站所有内容均由合作方或网友上传,本站不对文档的完整性、权威性及其观点立场正确性做任何保证或承诺!文档内容仅供研究参考,付费前请自行鉴别。
3、如文档内容存在违规,或者侵犯商业秘密、侵犯著作权等,请点击“违规举报”。

碎片内容

单稳态触发器与施密特触发器原理及应用

精品中小学资料+ 关注
实名认证
内容提供者

精品文档

确认删除?
VIP
微信客服
  • 扫码咨询
会员Q群
  • 会员专属群点击这里加入QQ群
客服邮箱
回到顶部