电脑桌面
添加小米粒文库到电脑桌面
安装后可以在桌面快捷访问

某地产绩效管理制度VIP免费

某地产绩效管理制度_第1页
1/14
某地产绩效管理制度_第2页
2/14
某地产绩效管理制度_第3页
3/14
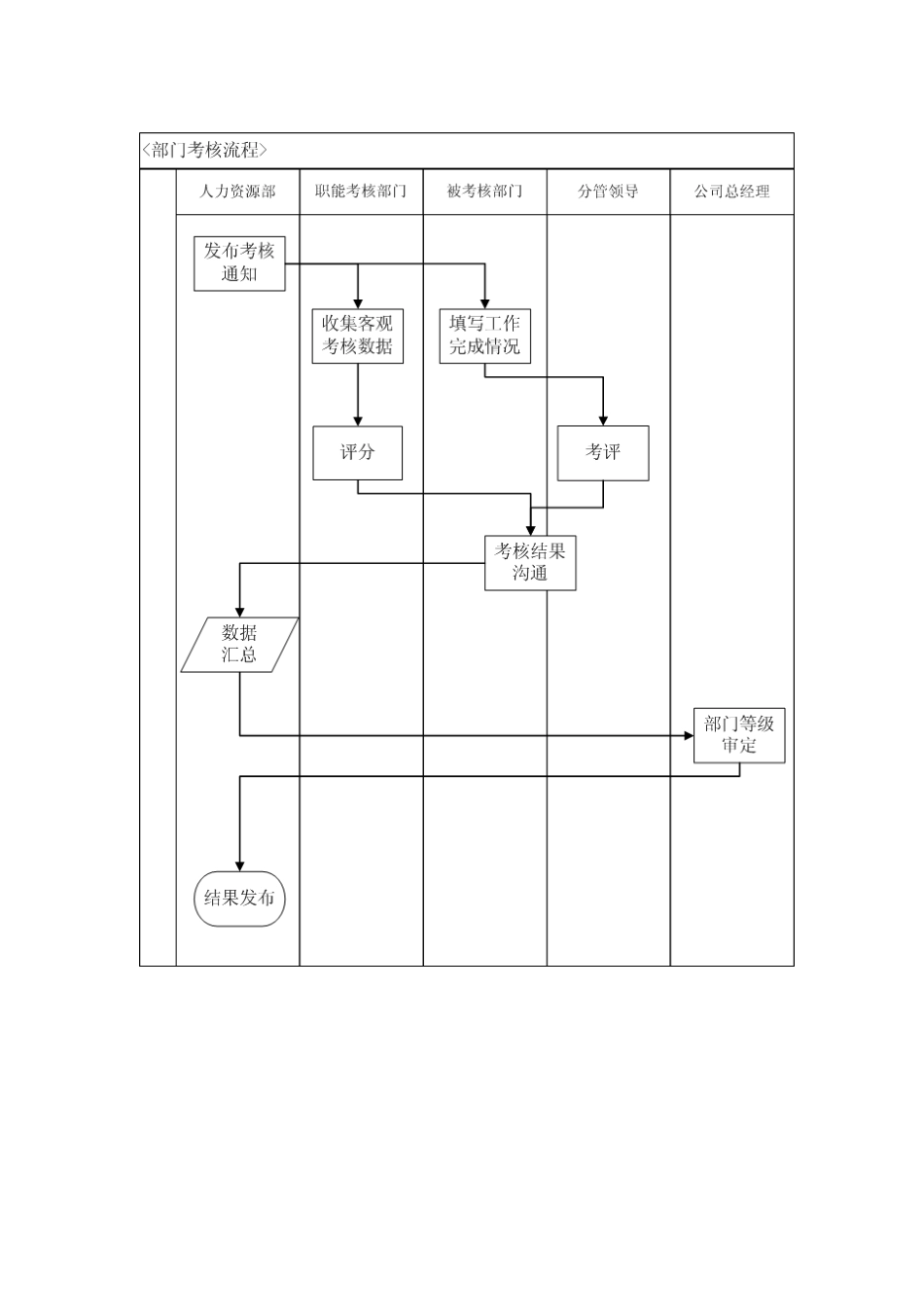
绩效考核管理规范编制闻平洋日期2007年5月12日审核彦艳日期2007年5月26日批准郁亮日期2007年6月22日流程要素流程目标:流程时间要求流程监控点数目流程主要责任岗位流程涉及职位数目修订记录日期修订状态修改内容修改人审核人批准人第6页共14页编号:时间:2021年x月x日书山有路勤为径,学海无涯苦作舟页码:第6页共14页1.目的1.1.使考核成为各级管理者有效激励员工、进行精细化管理的工具;1.2.建立良好的绩效文化,促使公司总体绩效全面、持续提升;1.3.促进员工能力不断成长,提高员工的满意度和成就感,实现公司目标、个人发展目标的高度结合。2.适用范围2.1.公司除总经理以外的所有在职员工。2.2.公司所有部门。2.3.区域管理中心的部门及个人。2.4.物业公司借调人员。3.术语和定义4.职责4.1.人力资源部为本规范的主要执行部门。4.1.1.人力资源部负责本规范的制订及维护、修改并负责对本规范进行解释。4.1.2.人力资源部设立考核专员岗位负责公司日常考核的实施、考核系统的维护等工作,并在考核过程提供各项必要的支持。4.1.3.根据考核结果提供提升绩效所需要的各种服务并依据考核结果向公司提出奖惩建议。4.2.总经理办公室、财务管理部、客服中心以及相关部门参与提供对各部门的考核数据。4.3.各级考核人负责对下级(部门)的工作进行考评并提供相应的指导、支持。5.工作程序5.1.考核原则:“公正透明、全面考察、及时跟踪、帮助改进”5.2.考核对应关系:由部门考核和个人考核两部分组成。5.2.1.部门考核:分管各部门的公司领导为本部门工作业绩的直接考核人;周边(职能)部门提供客观数据考核各部门的客观指标成绩;5.2.2.个人考核:个人的考核人为直接上级或授权考核人,依照人力资源部每第7页共14页第6页共14页编号:时间:2021年x月x日书山有路勤为径,学海无涯苦作舟页码:第7页共14页月发布的“员工考核对应关系”执行。参见6.2《考核对应关系表》,如有调整,以人力资源部最新发布为准。5.2.3.“员工考核对应关系表”由人力资源部考核专员根据岗位动态进行调整。各部门内部工作内容,组织结构的变动要及时知会考核专员,共同确定考核对应关系。5.2.4.公司总经理为部门和个人考核的最终审定人。5.3.考核周期5.3.1.部门及部门第一负责人(含)以上的管理人员考核为季度考核。5.3.2.除上述以外的个人考核采取月度考核:职员上司需要每月对下属月度绩效及时评判、记录并共同制定下月工作计划。5.4.考核流程:见第2、3页部门、个人考核流程图。说明如下:5.4.1.部门考核由两部分同时开始进行:a)部门第一负责人于每季度最后一个工作日填写本部门“工作业绩考核表格”,分管领导于三个工作日之内完成考评;b)周边(职能)部门于每季度初前两个工作日之内分别就各自负责的部门进行“客观指标”数据考核,并提交人力资源部;c)人力资源部按电脑程序对上述数据汇总提交给部门及其分管领导,如无异议则提交给总经理;d)部门或分管领导如对考核结果有疑问或异议,须于当日提出,双方协调无效则提交给上一级公司领导。5.4.2.个人考核:被考核人每月(季)最后一个工作日填写考核表格后提交考核人进行考评;考核人与被考核人就考评结果进行沟通,意见一致后将结果提交给部门经理;部门经理对本部门员工的绩效进行评审、排名(等级)后提交给人力资源部(以上考核流程在五个工作日内完成)。部门第一负责人、公司高层领导的考核程序雷同,成绩的最终审定人为公司总经理。5.4.3.人力资源部负责全体员工考核成绩的甄别、汇总,并公布考核优秀者成绩。第7页共14页第8页共14页编号:时间:2021年x月x日书山有路勤为径,学海无涯苦作舟页码:第8页共14页5.5.考核的依据个人及部门考核的目标依据以下文件由考核人和被考核人共同制定。5.5.1.集团对一线公司的经营指导文件。5.5.2.公司发布的各级经营计划。5.5.3.部门年度工作执行计划。5.5.4.ISO9000规定的各项制度规范及重要的会议决议等。5.5.5.部门及个人实际的业绩表现和结果是评价的原则依据。5.5.6.对部门考核须体现均衡记分卡的业绩(财务)、内部流程、客户、学习与成长四个维度。5.6.考核内容及指标根据考核对象分为三类:普通员...

1、当您付费下载文档后,您只拥有了使用权限,并不意味着购买了版权,文档只能用于自身使用,不得用于其他商业用途(如 [转卖]进行直接盈利或[编辑后售卖]进行间接盈利)。
2、本站所有内容均由合作方或网友上传,本站不对文档的完整性、权威性及其观点立场正确性做任何保证或承诺!文档内容仅供研究参考,付费前请自行鉴别。
3、如文档内容存在违规,或者侵犯商业秘密、侵犯著作权等,请点击“违规举报”。

碎片内容

某地产绩效管理制度

确认删除?
VIP
微信客服
  • 扫码咨询
会员Q群
  • 会员专属群点击这里加入QQ群
客服邮箱
回到顶部