电脑桌面
添加小米粒文库到电脑桌面
安装后可以在桌面快捷访问

文件归档整理方法操作流程图VIP免费

文件归档整理方法操作流程图_第1页
1/8
文件归档整理方法操作流程图_第2页
2/8
文件归档整理方法操作流程图_第3页
3/8
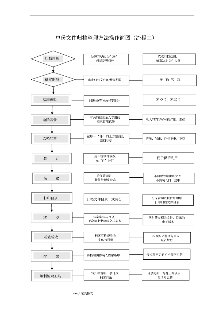
单份文件归档整理方法操作简图(流程一)收集归档判断分类确定期限收集应归档的文件材料齐全完整编制页码装订装订排序盖档号章电脑著录装盒排架打印目录编制检索工具判断文件是否归档确定归档文件的保管期限年度—机构(问题或文号)—期限只编没有页码的部分用不锈钢钉或线单“件”装订按期限—机构—时间三个层次排列在每一“件”的上方空白处盖档号章有关的信息录入专用的档案管理软件按件号顺序装盒、上架归档文件目录一式两份写归档说明、装订成档案目录依照归档范围,慎重决定文件去留准确客观分类方法科学、适用,保持相对稳定不空号、不漏号便于保管利用顺序相对固定清晰、端正,件号不重、不空录入的内容尽可能详细、准确分保管期限按件号顺序打印归档文件目录目录封面、背脊上的项目要填写完整不同保管期限、不同机构的不要装入同一盒..word完美格式单份文件归档整理方法操作简图(流程二)编制页码归档判断电脑著录确定期限处理完毕的文件逐件判断是否归档依照归档范围,慎重决定文件去留盖档号章装订装盒打印目录移交检查验收排架编制检索工具确定归档文件的保管期限只编没有页码的部分有关的信息录入专用的档案管理软件在每一“件”的上方空白处盖档号章用不锈钢钉或线单“件”装订分保管期限、按件号顺序装盒归档文件目录一式两份档案实体与目录,于次年上半年移交档案室档案室检查验收实体与目录将档案实体装入档案柜中写归档说明、装订成档案目录准确客观不空号、不漏号录入的内容尽可能详细、准确清晰、端正,件号不重、不空便于保管利用不同保管期限的文件不要装入同一盒中分保管期限按件号顺序打印归档文件目录同时移交相关文件、目录的电子版本检查实体整理与目录是否规范按相对固定的机构顺序排列目录封面、背脊上的项目要填写完整..word完美格式流程(一):各部门年终移交由档案室统一整理归档流程操作步骤控制措施与质量标准1、收集1、每年的1-2月份,由档案室通知各部门做好上年度文件材料的收集工作,提出具体要求,并附上《文件材料归档范围及保管期限表》;1、收集的范围:领导和各部门上年度处理完毕的文件材料;2、收集的时间:每年的1-2月份,由档案室提出要求;3收集的要求:①应归档材料须齐全、完整;②注意收集在电脑上起草文件的电子版本。2、档案室应做好接收的登记汇总工作,对各部门移交文件材料的种类、数量、时间、存在问题进行登记;3、档案室依据归档范围,参考本单位收发文登记本和印章登记本等,检查各部门移交的文件材料是否齐全,并办理交接手续。2、归档判断确定文件是否归档依据归档范围,需归档的转入下一流程;不需归档的剔除。3、确定保管期限对照保管期限表确定每份文件的保管期限归档文件保管期限的判定必须准确、客观4、分类1、分年度:把文件材料按形成年度分开文件的“形成年度”是指文件的成文日期2、分机构(问题)或文号:在同一年度内按机构(问题)或文号分开1、按文件的形成或承办部门来确定归入的机构。2、综合性的文件材料放入“办公室”或相应的综合办文部门。3、分保管期限:同一机构(问题)或文号内按不同的保管期限分开分类方法应保持相对稳定5、编制页码在文件(有有效字符页面)正面的右下角、背面的左下角编上页码无论是正本、定稿,还是正文、附件、多页的文件处理单,凡没有页码(单页的除外)的,均须编制页码。各部分已有独立页码的,只需合并计算页数。6、装订1、一般应去掉文件上原有的易生锈的金属物;1、要求:装订方法应尽量不破坏档案原貌,有利于保管利用。2、推荐使用的装订方法有:不锈钢钉、线装。(白乳胶粘贴、缝纫机车缝等方法不再使用)2、将文件的订口对齐,用不锈钢钉或线在文件的左上角或左侧装订。3、有电子版本的可用袋装,不另装订。4、短期的可不拆钉。..word完美格式流程操作步骤控制措施与质量标准7、排序1、先把同一保管期限的文件排在一起1、可按每个机构永久、长期、短期三条流水号排列归档文件;2、也可按整个单位每年只编永久、长期、短期三大流水号。但同一保管期限内各机构(问题、文号)的排列顺序应保持相对固定;3、尽可能将有内在联系的(如同一次活动、同一项工作...

1、当您付费下载文档后,您只拥有了使用权限,并不意味着购买了版权,文档只能用于自身使用,不得用于其他商业用途(如 [转卖]进行直接盈利或[编辑后售卖]进行间接盈利)。
2、本站所有内容均由合作方或网友上传,本站不对文档的完整性、权威性及其观点立场正确性做任何保证或承诺!文档内容仅供研究参考,付费前请自行鉴别。
3、如文档内容存在违规,或者侵犯商业秘密、侵犯著作权等,请点击“违规举报”。

碎片内容

文件归档整理方法操作流程图

您可能关注的文档

确认删除?
VIP
微信客服
  • 扫码咨询
会员Q群
  • 会员专属群点击这里加入QQ群
客服邮箱
回到顶部