电脑桌面
添加小米粒文库到电脑桌面
安装后可以在桌面快捷访问

剖面图、断面图-画图题VIP免费

剖面图、断面图-画图题_第1页
1/15
剖面图、断面图-画图题_第2页
2/15
剖面图、断面图-画图题_第3页
3/15
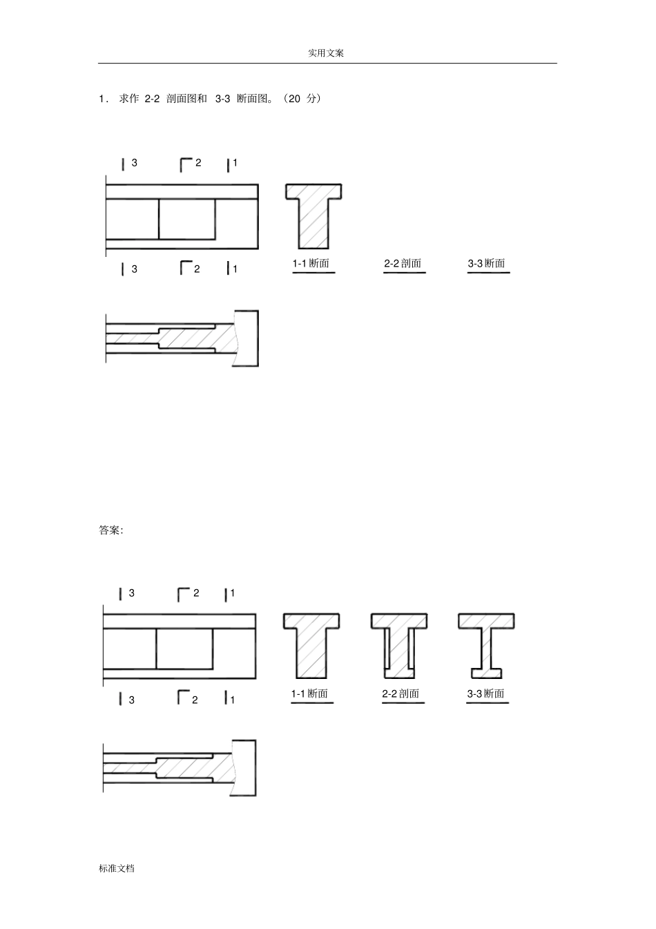
实用文案标准文档1.求作2-2剖面图和3-3断面图。(20分)3123213-3断面2-2剖面1-1断面答案:3123213-3断面2-2剖面1-1断面实用文案标准文档2.求作2-2断面图和3-3剖面图。(20分)3123213-3剖面2-2断面1-1断面答案:实用文案标准文档3123213-3剖面2-2断面1-1断面3.求作1-1断面图和3-3剖面图。(20分)实用文案标准文档3123213-3剖面1-1断面2-2断面答案:3123213-3剖面1-1断面2-2断面实用文案标准文档4.求作1-1断面图和2-2剖面图。(20分)3123212-2剖面1-1断面3-3断面答案:实用文案标准文档3123212-2剖面1-1断面3-3断面5.求作1-1剖面图和2-2断面图。(20分)实用文案标准文档3123212-2断面1-1剖面3-3断面答案:3123212-2断面1-1剖面3-3断面实用文案标准文档6.画出钢筋混凝土的1-1、2-2断面图。(20分)3-34218558@20022161183121643211122338@200答案:实用文案标准文档1-12-2216131188@2005218422421858@200118312167.画出钢筋混凝土的2-2、3-3断面图。(20分)实用文案标准文档1-1543211122338@2002421858@20011831216216答案:2-23-3421858@200221611831216216131188@200521842实用文案标准文档8.画出钢筋混凝土的1-1、3-3断面图。(20分)2-2543211122338@200216131188@200521842216答案:实用文案标准文档1-13-3421858@2002216118312162421858@200118312169.求作2-2剖面图和3-3断面图。(20分)1-1断面图113322答案:实用文案标准文档2-2剖面图3-3断面图实用文案标准文档10.求作2-2剖面图和4-4断面图。(20分)1-1断面图112244答案:2-2剖面图4-4断面图实用文案标准文档

1、当您付费下载文档后,您只拥有了使用权限,并不意味着购买了版权,文档只能用于自身使用,不得用于其他商业用途(如 [转卖]进行直接盈利或[编辑后售卖]进行间接盈利)。
2、本站所有内容均由合作方或网友上传,本站不对文档的完整性、权威性及其观点立场正确性做任何保证或承诺!文档内容仅供研究参考,付费前请自行鉴别。
3、如文档内容存在违规,或者侵犯商业秘密、侵犯著作权等,请点击“违规举报”。

碎片内容

剖面图、断面图-画图题

您可能关注的文档

确认删除?
VIP
微信客服
  • 扫码咨询
会员Q群
  • 会员专属群点击这里加入QQ群
客服邮箱
回到顶部