电脑桌面
添加小米粒文库到电脑桌面
安装后可以在桌面快捷访问

钢桥连接方式VIP免费

钢桥连接方式_第1页
1/17
钢桥连接方式_第2页
2/17
钢桥连接方式_第3页
3/17
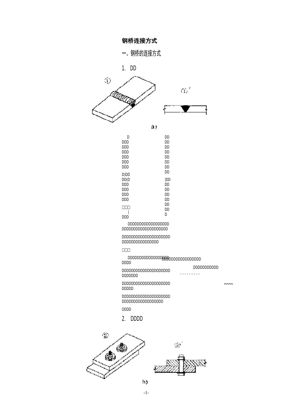
-1-DDDDDDDDDDDDDDDDDDDDDDDDDDDDDDDDDDDDDDDDD钢桥连接方式一、钢桥的连接方式1.DDDDDDDDDDDDDDDDDDDDDD)DDDD(DDDDDDDDDDDDD□□□(DDDDDDDDDDDDDDDDDDD)DDDDDDDDDDDDDDDDDDDDDDDDDDDDDDDDDDDDDDDDDDDDDDDDDDDDDDDDDDDDDDDDDDDDDDDDDDDDDDDDDDDDDDDDDD□□□DDDDDDDDDDDDDDDDDDDDDDDDDDDDDDDDDDDDDDDDDDDDDDDDDDDDDDDDDDDDDDDDDDDDDDDDDDDDDDDDDDDDDDDDDDDDDDDDDDDDDDDDDDDDDDDDDDDODDD2.DDDD-2-DDDDDDDDDDDDDDDDDDDDDDDDDDDDDDDDDDDDDDDDDDDDDDDDDDDDDDDDDDDDDDDDDDDDDDDDDDDDDDDDDDDDDDDDDDDDDDDDDDDDDDDDDDDDDDDDDDDDDDDDDDDDDDDDDDDDDDDDDDDDDDDDDDDDDDDDDDDDDDDDDD□□□DDDDDDDDDDDDDDDDDDDDDDDDDDDDDDDDDDDDDDDDDDDDDDDDDDDDDDDDDDDDDDDDDDDDDDDDDDDDDDDDDDDDDDDDDDDDDD□□□DDDDDDDDDDDDDDDDDDDDDDDDDDDDDDDDDDDDDDDDDDDDDDDDDDDDDDDDDDDDDDDD□□□□□□□DCDDDDDDDDDDDDDDDDDDDDDD4.6D4.8DDDDQ235BFDDDDDDDDDDDDDDDD1~2mmDDDDDDDDDDDDDDDDDDDDDDDDDDDDDDDDDDDDDDDDDDDDDDDDDDDDDDDDDDDDDDDDDDDDDDDDDDDDDDDDDDADBDDDDDDD45DDD35DDDDDDDDD8.8DDDDDDDDDDDDDDDDDDDDDDDDDDADBDDDDDdD24mm,DDlD150mmD10d叮ADDDDd>24mm,DDl〉150mmU10dDDBDDDDDDDDDDDDDDDDDDDDDDDDDDDDDDDDDDDDDDDDDDDDDDDDDDDDDDDDDDDDDDDDDDDDDDDDDDDDDDDDDDDDDDD□□□□□□□□-3-螺栓b图2l-K高强度螺栓连接副叮高强度大六角头缥栓进授剛;b)扭剪型髙强度螺栓连接副垫圏梅花头DDDDDDDDDDDDDDDDDDDDDDDDDDDDDDDDDDDDDDDDDDDDDDDDDDDDDDDDDDDDDDDDDDDD叮DDDDDDDDDDDDDDDDDDDDDDDDDDDDDDDDDDDDDDDDDDDDDDDDDDDDDDDDDD1.5~2mmDDDDDDDDDDDDDDDDDDDDDDDDDDDDDDDDDDDDDDDDDDDDDDDDDDDDDDDDDDDDDDDDDDDDDDDDDDDDDDDDDDDDDDDDDDDDDDDDDDDDDDDDD1~1.5mmDDDDDDDDDDDDDDDDDDDDDDDDDDDDDDDDDDDDDDDDDDDDDDDDDDDDDDDDDDDDDDDDDDDDDDDDDDDD>DDDDDDDDDDDDDDDDDD3.DDDDDDDDDDDDDDDDDDDDDDDDDDDDDDDDDDDDDDDDDDDDDDDDDDDDD1000DDDDDDDDDDDDDDDDDDDDDDDDDDDDDDDDDDDDDDDDDDDDDDDDDDDDDDDDDDDDDDDDDDDDDDDDDDDDDDDDDDDDDDDD-4-DDDDDDDDDD1~1.5mmDODDDDDDDDDDDDDDDDDDDDDDDDDDDDDDDDDDDDDDDDDDDDDDDDDDDDDDDDDDDDDDDDDDDDDDDDDDDDDDDDDDDDDDDDDDDDDDDDDD二、焊缝连接1.DDDDDDDDDDDDDDDDDDDDDDDDDDDDDDDDDDODD□□□□DDDDDDDDDDDDDDDDDDDDDDDDDDDDDDDDDDDDDDDDDn屯坪机电扼用⑺气休图?1丁」电弧岬DDDDDDDDDDDDDDDDDDDDDDDDDDDDDDDDDDDDDDDDDDDDDDD-5-DDDDDDDDDDDDDDDDDDDDDDDDDDDDDDDDDDDDDDDDDDDDDDDDDDDDDDDDDDDDDDDDDDDDDDDDDDDDDDDDDDDDDDDDDDDDDDDDDDDDDDDDDDDDDDDDDDDDDDDDDDDDDDDDDDDDDDDDDDDDDDDDDDDDDDDDDDDDDDDDDDDDDDDDDDDDDDDDDDDDDDDDDDDDDDDDDDDDD-6-DDDDCO2DCO2DDDDDDDDDDDDDDDDDDDDDDDDDDDDDDDDDDDDDDDDDDDDDDDDDDDDDDDDDDDDDDDDDDDDDDDDDDDDDDDDDDDDDDDDDDDDDDDDDDDDDDDDCO2DDDDDDDDDDDDDDDDDDDDDDDDDDDDDDDDDDDDDDDDDDDDDDDDD□□□□DDDDDDDDDDDDDDDDDDDDDDDDDDDDDDDDDDDDDDDDDDDDDDDDDDDDD2.DDDDDD□□□□□□□□□□□□□□aDDDDDDDDDDDD□□□□□□□□□□□□aTDDDDDDDDDD搭接接头对接接头蟻接头角接接头-7-DDDDDDDDDDDDDDDDDDDDDDD-8-DDDDDDDDDDDDDDDDDDDDDDDDDDDDDDDDDDDDDDDDDDDDDDDDDDDDDDDDDDDDDDDDDDDDDDDDDDDDDDDDDDDDDDDDDDDDDDDDDDDDDDDDDDDDDDDDDDDDDDDD□□□□□□□□□□□□□□DDDDDDDDDDDDDDDDDDDDDDD&he=0.7hi\he=0.7hfhfhfhi4普通形等边凹形平坡凸形DDDDDDDDDD直边缝(I形)单边说u形单边U形DDDD-9-4.DDDDDDDDDD5.DDDDDDDDDDDDDDDDDDDDDDDDDDDDDDDDDDDDDDDDDDDDDDDDDDDDDDDDDDDDDDDDDDDDDDDDDDDDDDD1600DDDDDDDDDDDDDDDDDDDDDDDDDDDDDDDDDDDDDDDDDDDDDDDDDDDDDDDDDDDDDDDDDDDDDDDDDDDDDDDDDDDnnnnnnnnnnnnnnnnnnnnnnnnnnnnnnnnnnnnnnnnDDDDDDDDDDDDDDDDDDDDDDDDDDDDDDDDDDDDDD边騎头筋头两側忑:面加丁方法表面形状•&SI兹口角度焊縫长度焊缝台效厚度坡口浑度基准线瞪%書評丁•地悍接W鮒焊用带箭头的引线集标注接头侧,flAfiiB符号来指示单边丫形焊和J形焊的坡「1侧佝埠二坦煜煌立立佝焊-10-DDDDDDDDDDDDDDDDDDDD圏2213埠接时电弧附近漏度场和纵|讪焊接残余应力三、角焊缝...

1、当您付费下载文档后,您只拥有了使用权限,并不意味着购买了版权,文档只能用于自身使用,不得用于其他商业用途(如 [转卖]进行直接盈利或[编辑后售卖]进行间接盈利)。
2、本站所有内容均由合作方或网友上传,本站不对文档的完整性、权威性及其观点立场正确性做任何保证或承诺!文档内容仅供研究参考,付费前请自行鉴别。
3、如文档内容存在违规,或者侵犯商业秘密、侵犯著作权等,请点击“违规举报”。

碎片内容

钢桥连接方式

您可能关注的文档

确认删除?
VIP
微信客服
  • 扫码咨询
会员Q群
  • 会员专属群点击这里加入QQ群
客服邮箱
回到顶部