电脑桌面
添加小米粒文库到电脑桌面
安装后可以在桌面快捷访问

利乐TBA19型包装机保养图解VIP免费

利乐TBA19型包装机保养图解_第1页
1/16
利乐TBA19型包装机保养图解_第2页
2/16
利乐TBA19型包装机保养图解_第3页
3/16
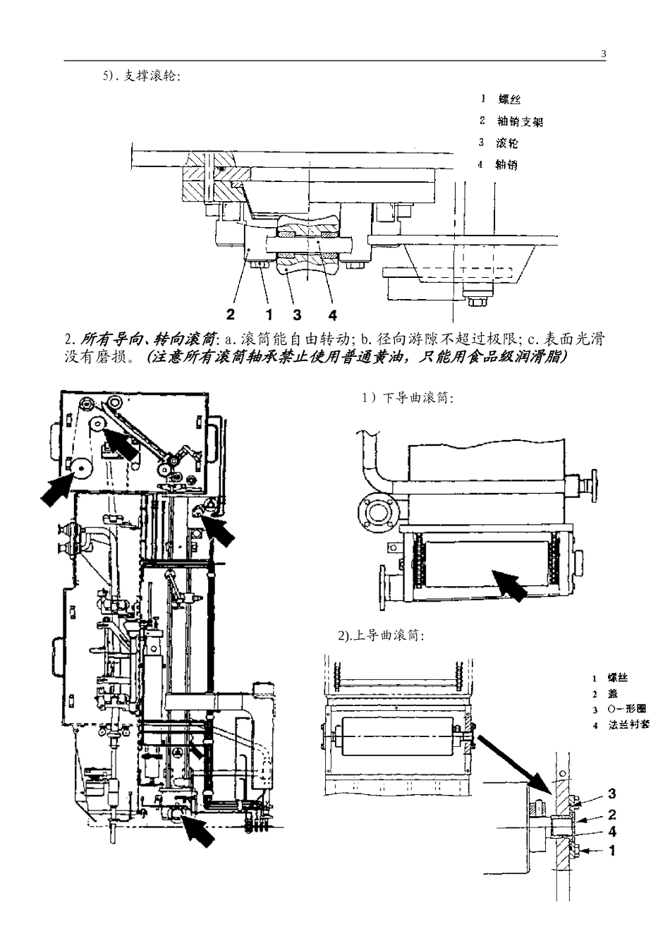
1TBA/19纸包机每周保养内容图解(维修人员)一.上部结构1.纸管支撑和成形环滚轮:a.滚轮表面光滑;b.当机器为温热时,所有滚轮能自由转动;c.滚轮之间的间隙A不大于0.3mm;d.衬套没磨损。1).上部成形环:2).活动成形环:23).可分开成形环:4).下部成形环:35).支撑滚轮:2.所有导向、转向滚筒:a.滚筒能自由转动;b.径向游隙不超过极限;c.表面光滑没有磨损。(注意所有滚筒轴承禁止使用普通黄油,只能用食品级润滑脂)1)下导曲滚筒:2).上导曲滚筒:43.导曲滚筒(驱动):a.检查单向联结轴承,握住滚筒,向正常方向转动,试行反向转动;b.检查齿轮间啮合间隙不能过大;c。检查滚筒居中位置在1mm之内.3).摺痕轮4).导曲滚筒54.驳纸监测器(双层纸卷):a.感应开关功能正常;b。轴承转动灵活。注意:居中位置65.清理双氧水喷注盅过滤网:二.夹爪系统1.容量曲面件-容量凸轮:检查图示项目有无磨损,特别是(6),并在(6)接触表面涂抹润滑油脂。A≤0.5mm72.拉耳凸轮和滚轮-设定;检查滚轮及凸轮之间的间隙为0.05-0.1mm,如不当,则调整(1)进行设定。3.夹爪摺角翼件-设定(0.7mm):摇机到0/180度,使图案校正气筒保持于拉出位置,用塞尺检查间隙A:如图:A=0.05-0.1mm84.夹爪间隙-设定(1.5mm):机器角度80/260度,用塞尺进行检查。5.抓勾提升凸轮及滚轮-设定:a.置两层纸于夹爪间,手摇机至0/180度,检查间隙A,如不正确,可按图进行加减垫片进行调整。A=0.7±0.05mmA=1.5±0.1mmA=0.05-0.1mm9检查此项的目的,是为了保证每对抓勾能正确扣合以及正确打开。为达到此目的,也可较直观地通过以下的方法进行检查、调整:缓慢手摇机,直至扣勾处于尖对尖的位置(250B,大约为5/185度),检查A间隙,如不正确,按上面的方法进行调整。(由于压力臂扣勾有侧间隙,必须注意保持水平无扭转)6.抓勾-扣勾间隙及扣勾:缓慢手摇机,直至扣勾处于尖对尖的位置(250B,大约为5/185度),检查B间隙:7.成型盒-导向滚轮:a.检查导向滚轮转动是否灵活;b.滚轮是否磨损.c。检查成形盒的轴向间隙是否过大。A≥0.7mmB≥4mm108.检查左右压力臂的IH冷却水路是否通畅。三.最后装置1.滑槽弹簧片及支架:a)检查弹簧片的高度是否合适;b).检查支架(11)与左导板(10)、滑槽右侧与右导板(9)是否对齐。2.拉落块和导轨检查:检查拉落块、导轨均与站块对中,且两侧的距离A应相同,误差在0.2mm以内。注意磨损检查注意松动检查,,可能导致夹爪系统严重损伤113.压力装置:检查压力装置侧压块与站块之间的左右、前后对称度。4.排包装置-托架:a).检查托架(拨包手指)是直的,并有足够强度;b).手摇机器,直到推送杆1在外部位置,检查链条(8)顶部到托架(4)有6-7链节,另一侧链条(9)顶部到托架(7)有2-3链节,否则需调整。12同时也检查侧输入器间隙B为:四.伺服单元1B=48±1.5mm131.冷却水系统(温度、压力、流量)及冷却水过滤器:a).清洁水过滤器2及3;b).检查流量,左右夹爪最小为0.8升/分。2.液压油过滤指示器:检查堵塞指示器(3)是否为红色。如是,清理或更换过滤器。五.封条附贴器(SA)141.检查SA压力滚轮可自由转动,以及接触表面是否良好。2.检查接接驳装置榫钉4是否灵活移动,并检查弹簧的弹力良好,如需要,更换榫钉或弹簧。六.常规检查u151.检查各部位油管损伤情况,检查中央润滑油及液压油的泄漏情况。2.检查压缩空气的泄漏情况3.检查冷却水的泄漏情况。TBA/19型利乐无菌包装机每周保养(机修车间维修人员)162002年

1、当您付费下载文档后,您只拥有了使用权限,并不意味着购买了版权,文档只能用于自身使用,不得用于其他商业用途(如 [转卖]进行直接盈利或[编辑后售卖]进行间接盈利)。
2、本站所有内容均由合作方或网友上传,本站不对文档的完整性、权威性及其观点立场正确性做任何保证或承诺!文档内容仅供研究参考,付费前请自行鉴别。
3、如文档内容存在违规,或者侵犯商业秘密、侵犯著作权等,请点击“违规举报”。

碎片内容

利乐TBA19型包装机保养图解

确认删除?
VIP
微信客服
  • 扫码咨询
会员Q群
  • 会员专属群点击这里加入QQ群
客服邮箱
回到顶部