电脑桌面
添加小米粒文库到电脑桌面
安装后可以在桌面快捷访问

高考化学二轮冲刺复习精讲 第一部分 必考部分 第10讲 非金属及其化合物讲义(含解析)-人教版高三全册化学学案VIP免费

高考化学二轮冲刺复习精讲 第一部分 必考部分 第10讲 非金属及其化合物讲义(含解析)-人教版高三全册化学学案_第1页
1/39
高考化学二轮冲刺复习精讲 第一部分 必考部分 第10讲 非金属及其化合物讲义(含解析)-人教版高三全册化学学案_第2页
2/39
高考化学二轮冲刺复习精讲 第一部分 必考部分 第10讲 非金属及其化合物讲义(含解析)-人教版高三全册化学学案_第3页
3/39
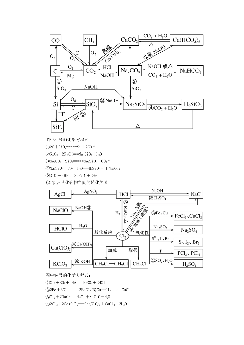
第10讲非金属及其化合物[考纲要求]1.常见非金属元素(如H、C、N、O、Si、S、Cl等)。(1)了解常见非金属元素单质及其重要化合物的制备方法,掌握其主要性质及应用。(2)了解常见非金属元素单质及其化合物对环境质量的影响。2.以上各部分知识的综合应用。[学科素养]1.变化观念:通过学习非金属元素化合物之间相互转化的现象和本质,解决实际问题。2.证据推理与模型认知:通过非金属性质的差异,体会运用分类思想建立思维模型解释化学现象、揭示现象的本质和规律的思维方法。3.科学探究与创新意识:结合物质的制备、化学实验等,培养科学探究的方法步骤,进行科学解释和发现、创造和应用。[网络构建]1.非金属元素及其化合物2.非金属元素及其化合物之间的转化关系(1)碳、硅及其化合物之间的转化关系图中标号的化学方程式:①2C+SiO2=====Si+2CO↑②SiO2+2NaOH===Na2SiO3+H2O③Na2CO3+SiO2=====Na2SiO3+CO2↑④Na2SiO3+CO2+H2O===H2SiO3↓+Na2CO3⑤SiO2+4HF===SiF4↑+2H2O(2)氯及其化合物之间的转化关系图中标号的化学方程式:①Cl2+SO2+2H2O===H2SO4+2HCl②2Fe+3Cl2=====2FeCl3或Cu+Cl2=====CuCl2③Cl2+2NaOH===NaCl+NaClO+H2O④2Cl2+2Ca(OH)2===Ca(ClO)2+CaCl2+2H2O⑤MnO2+4HCl(浓)=====MnCl2+Cl2↑+2H2O⑥2NaCl+2H2O=====2NaOH+Cl2↑+H2↑(3)硫及其化合物之间的转化关系图中标号的化学方程式:①2SO2+O2????2SO3②Cu+2H2SO4(浓)=====CuSO4+2H2O+SO2↑③C+2H2SO4(浓)=====2H2O+CO2↑+2SO2↑④2CaSO3+O2===2CaSO4(4)氮及其化合物之间的转化关系图中标号的化学方程式:①Ca(OH)2+2NH4Cl=====CaCl2+2NH3↑+2H2O②4NH3+5O2=====4NO+6H2O③3NO2+H2O===2HNO3+NO④C+4HNO3(浓)=====CO2↑+4NO2↑+2H2O[核心强化]1.区分4个易混问题(1)非金属单质与碱液反应一般无H2放出,但Si能与碱反应放出H2。(2)二氧化硅与氢氟酸反应是二氧化硅的特性,但二氧化硅不是两性氧化物。(3)几个反应过程中浓度变化对反应的影响:①Cu+H2SO4;②MnO2+HCl;③Cu+HNO3。(4)注意区分SO2的还原性和漂白性,如SO2使溴水褪色体现了SO2的还原性;而SO2的漂白性是由于它溶于水与有色物质直接化合,形成不稳定的无色化合物。2.掌握2种气体的实验室制法(1)Cl2实验室制法,氧化剂可以为KMnO4、MnO2(△)、K2Cr2O7、KClO3(△)。(2)NH3实验室制法。①反应原理:2NH4Cl+Ca(OH)2=====2NH3↑+CaCl2+2H2O。②实验装置:固体+固体――→气体。③净化措施:用碱石灰干燥。④收集方法:用向下排空气法收集。⑤验满方法:用湿润的红色石蕊试纸或蘸有浓盐酸的玻璃棒靠近试管口。3.两大强酸与金属反应的有关规律(1)硝酸与金属反应时存在着如下几条规律,可作为硝酸与金属反应计算的依据:规律1:反应中生成的NO和NO2气体的物质的量之和等于反应中被还原的硝酸的物质的量。规律2:据元素守恒,所含氮元素的物质的量等于反应中原硝酸的物质的量。规律3:反应所生成的氮的氧化物与O2混合后被水恰好完全吸收时消耗的O2的量决定于开始时金属的物质的量,定量关系可依据电子得失守恒确定。(2)硫酸与金属反应的规律①稀硫酸具有弱氧化性,与金属活动顺序表中排在氢后面的金属不反应,其氧化性由溶液中的H+表现;浓硫酸具有强氧化性,能氧化绝大多数金属,其氧化性由H2SO4分子中的+6价S表现,是强氧化性酸。②浓硫酸与足量活泼金属反应时,其还原产物除SO2外,还有H2。这是因为随着反应的进行,硫酸不断消耗,水不断生成,硫酸的浓度逐渐变小,浓硫酸变成了稀硫酸,此时由H+表现氧化性,生成H2。③浓硫酸与金属活动顺序表中排在氢后面的金属反应时,不论金属是否足量,酸均不可能消耗完,还原产物只有SO2。考点一非金属单质及其化合物的性质与应用[解析]A项,Ca(ClO)2有强氧化性,能消毒,正确;B项,NH3具有还原性,与Cl2反应生成NH4Cl产生白烟,错误;C项,SO2具有漂白性,用于漂白纸浆,错误;D项,SiO2能与氢氟酸反应,不是酸性氧化物的性质,错误。[答案]A[分点突破]角度:非金属单质及其化合物的性质与应用1.(2018·四川成都实验外国语学校检测)下列变化的实质相似的是()①浓硫酸...

1、当您付费下载文档后,您只拥有了使用权限,并不意味着购买了版权,文档只能用于自身使用,不得用于其他商业用途(如 [转卖]进行直接盈利或[编辑后售卖]进行间接盈利)。
2、本站所有内容均由合作方或网友上传,本站不对文档的完整性、权威性及其观点立场正确性做任何保证或承诺!文档内容仅供研究参考,付费前请自行鉴别。
3、如文档内容存在违规,或者侵犯商业秘密、侵犯著作权等,请点击“违规举报”。

碎片内容

高考化学二轮冲刺复习精讲 第一部分 必考部分 第10讲 非金属及其化合物讲义(含解析)-人教版高三全册化学学案

您可能关注的文档

;绿洲书城+ 关注
实名认证
内容提供者

从事历史教学,热爱教育,高度负责。

相关文档

确认删除?
VIP
微信客服
  • 扫码咨询
会员Q群
  • 会员专属群点击这里加入QQ群
客服邮箱
回到顶部