电脑桌面
添加小米粒文库到电脑桌面
安装后可以在桌面快捷访问

屋面防水技术交底湿铺法VIP免费

屋面防水技术交底湿铺法_第1页
1/4
屋面防水技术交底湿铺法_第2页
2/4
屋面防水技术交底湿铺法_第3页
3/4
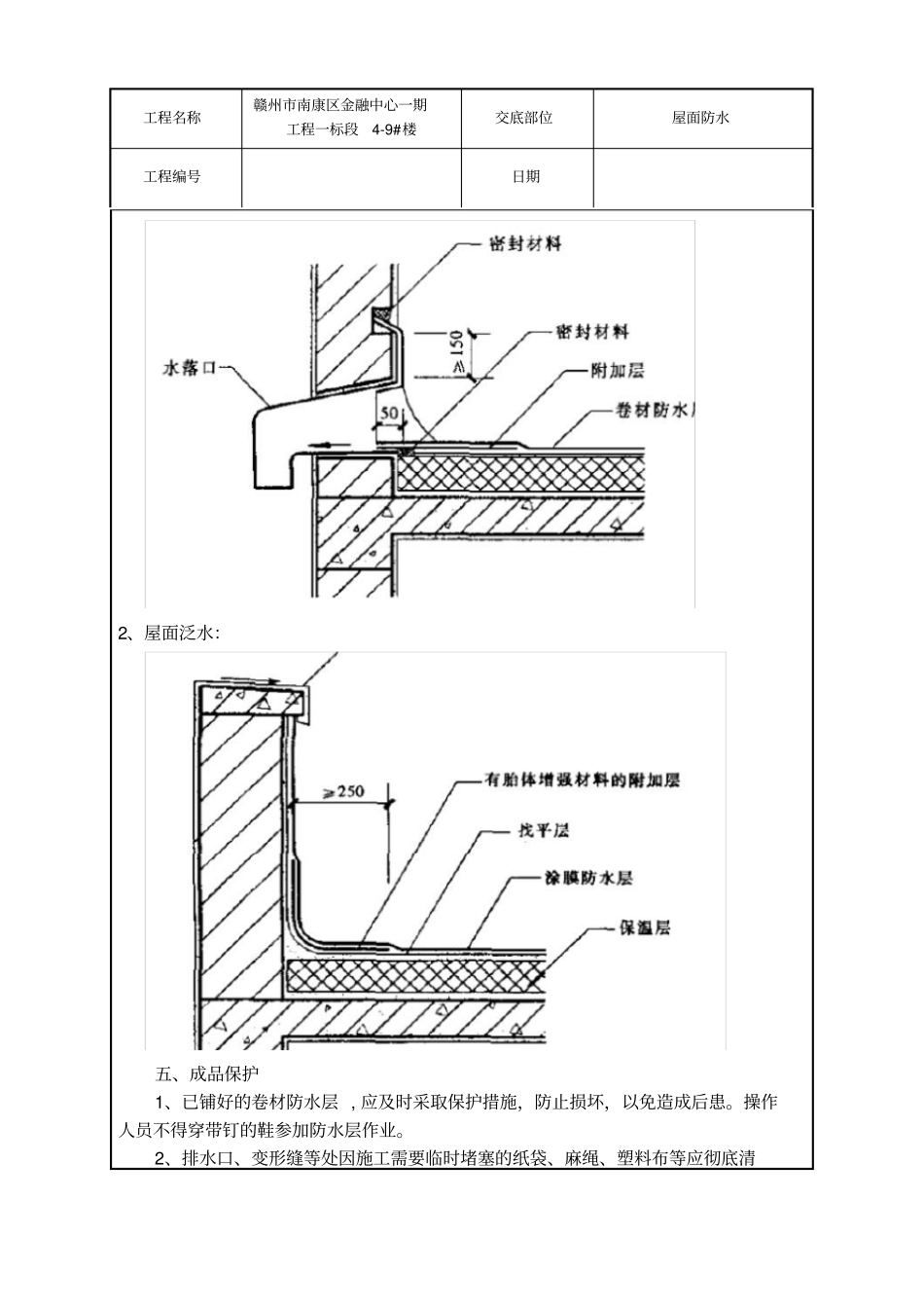
工程名称赣州市南康区金融中心一期工程一标段4-9#楼交底部位屋面防水工程编号日期交底内容:一、施工准备1、参与施工的技术人员必须认真熟悉施工图纸。2、本屋面防水工程必须由专业队施工,操作人员持证上岗。3、施工用材料均为易燃,因而应准备好相应的消防器材。4、材料准备:湿铺法防水卷材、普通水泥、水、湿铺法防水卷材专用胶。二、施工工序基层清理→配置水泥素浆→附加层粘铺→附加层验收→弹线试铺→撕开卷材底部隔离纸→卷材铺贴→辊压排气→搭接封边、收头密封→成品养护→闭水试验→成品保护三、施工工艺1、基面清理:清除基层表面杂物、油污、砂子,凸出表面的石子、砂浆疙瘩等应清理干净,清扫工作必须在施工中随时进行,并修补平整表面。尤其铲除排水口、烟囱、管壁上的水泥砂浆等附着物;阴阳角采用水泥砂浆抹成圆弧角,阴角最小半径50mm,阳角最小半径20mm。?基面若有明水,扫除即可施工。?2、配置水泥素浆:按水泥:水=2:1(重量比)。先按比例将水倒入原已备好的拌浆桶,再将水泥放入水中,浸泡15~20分钟并充分浸透后,把桶面多余的水倒掉;然后加入防水铺贴专用胶,用手动搅拌器进行搅拌,搅拌时间5分钟以上。3、弹基准线试铺:根据施工现场状况,进行合理定位,确定卷材铺贴方向,在基层上弹好卷材控制线,依循流水方向从低往高进行卷材试铺。4、撕开卷材底部隔离纸:卷材试铺后,先将要铺贴的卷材剪好,反铺于基面,撕剥去卷材隔离纸。撕剥时,已剥开的隔离纸宜与粘结面保持45~60度的锐角,防止拉断隔离纸,尽量保持在自然松弛状态,但不要有皱折。5、卷材铺贴:、铺贴顺序和方向:卷材防水层施工时,应先进行阴阳角等细部构造处理,然后由最低点标高向上铺贴。、檐沟、天沟施工时,宜顺檐沟、天沟方向铺贴,搭接缝应顺流水方向。、卷材宜平行屋脊铺贴。工程名称赣州市南康区金融中心一期工程一标段4-9#楼交底部位屋面防水工程编号日期6、辊压排气:待卷材铺贴完成后,用软橡胶板或辊筒等从中间向卷材搭接方向另一侧刮压并排出空气,使卷材充分满粘于基面上。搭接铺贴下一幅卷材时,将位于下层的卷材搭接部位的隔离纸揭起,将上层卷材对准搭接控制线平整粘贴在下层卷材上,刮压排出空气,充分满粘。?7、成品养护及保护:晾放24小时至48小时(具体时间视环境温度而定,一般情况下,温度愈高所需时间愈短)。高温天气下,防水层应防止暴晒,可用遮阳布或其他物品遮盖。8、保护层施工:平面做水泥砂浆或细石混凝土保护层。四、质量标准1、防水材料和胶粘剂的规格、性能、配合比必须按设计和有关标准采用,应有合格的出厂证明。2、防水层严禁有破损和渗漏现象。3、卷材防水层及其转角、变形缝、穿墙管道等细部做法均须符合规范要求。4、卷材防水层的面层应牢固、洁净、平整、不得有空鼓、松动、起砂和脱皮现象;基层阴阳角处应做成园弧形。5、卷材防水层的搭接缝应粘结牢固,密封严密,不得有皱折、翘边和鼓泡等缺陷。6、卷材防水层的保护层与防水层应粘结牢固,结合紧密、厚度均匀一致。7、卷材搭接宽度的允许偏差为-10mm。五;细部做法1、屋面落水口:工程名称赣州市南康区金融中心一期工程一标段4-9#楼交底部位屋面防水工程编号日期2、屋面泛水:五、成品保护1、已铺好的卷材防水层,应及时采取保护措施,防止损坏,以免造成后患。操作人员不得穿带钉的鞋参加防水层作业。2、排水口、变形缝等处因施工需要临时堵塞的纸袋、麻绳、塑料布等应彻底清工程名称赣州市南康区金融中心一期工程一标段4-9#楼交底部位屋面防水工程编号日期理干净,保持通畅。六、安全文明施工及环保施工1、作业人员应经过安全技术培训、考核,持证上岗。2、进入施工现场必须正确戴好安全帽,系好下颚带。3、下班清洗工具。未用完的溶剂,必须装入容器,并将盖盖严。4、施工产生的垃圾封闭存放,要及时清运至指定地点。技术负责人:交底人:接交人:

1、当您付费下载文档后,您只拥有了使用权限,并不意味着购买了版权,文档只能用于自身使用,不得用于其他商业用途(如 [转卖]进行直接盈利或[编辑后售卖]进行间接盈利)。
2、本站所有内容均由合作方或网友上传,本站不对文档的完整性、权威性及其观点立场正确性做任何保证或承诺!文档内容仅供研究参考,付费前请自行鉴别。
3、如文档内容存在违规,或者侵犯商业秘密、侵犯著作权等,请点击“违规举报”。

碎片内容

屋面防水技术交底湿铺法

您可能关注的文档

确认删除?
VIP
微信客服
  • 扫码咨询
会员Q群
  • 会员专属群点击这里加入QQ群
客服邮箱
回到顶部