电脑桌面
添加小米粒文库到电脑桌面
安装后可以在桌面快捷访问

机电传动控制设计题VIP免费

机电传动控制设计题_第1页
1/15
机电传动控制设计题_第2页
2/15
机电传动控制设计题_第3页
3/15
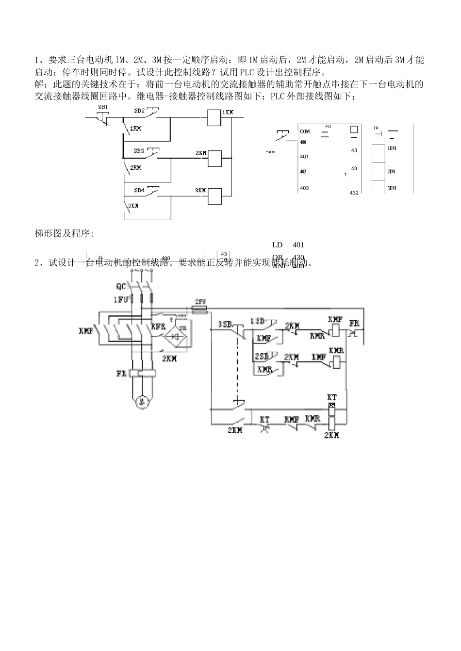
25BCOMFU二□二ru—|—Oq4004301EM4014024312IM4034325EM斗40043043C”7400”■4沏451431/7收”400”■4214327LD401OR430ANI400OUTLD402OR431ANI400AN1、要求三台电动机lM、2M、3M按一定顺序启动:即1M启动后,2M才能启动,2M启动后3M才能启动;停车时则同时停。试设计此控制线路?试用PLC设计出控制程序。解:此题的关键技术在于:将前一台电动机的交流接触器的辅助常开触点串接在下一台电动机的交流接触器线圈回路中。继电器-接触器控制线路图如下;PLC外部接线图如下;梯形图及程序;2、试设计一台电动机的控制线路。要求能正反转并能实现能耗制动。1—1—12SKTV□KM一COMCOX4CQ43电40LD400ANI403OR430ANI450ANI450OUT431OUT430LD402LD430OR450OUT200OUT450MC200MCR200LD401ENDOR4314545MCR23、设计一台异步电动机的控制线路。要求:①能实现启、停的两地控制;③)能实现点动调整;②能实现单方向的行程保护;④要有短路和长期过载保护;4、试设计一条目动运输线,有两台电动机,1M拖动运输机,2M拖动卸料机。要求:①1M先启动后,才允许2M启动;②2M先停止,经一段时间后1M才自动停止,且2M可以单独停止;③两台电动机均有短路、长期过载保护。试用PLC设计出控制程序。111SB、2SB分别是IM、2M的启动按纽,4SB是2M的单独停止按纽,3SB是停止按纽。SE2KIRFREI汨才2K450432043403450LD400LD450ANI100OR100OR401ANI450OUT430OUT100LD400LD100ANI100OR451OR401OUT451OUT450K15K1EN5、下图为机床自动间歇润滑的控制线路图,其中接触器KM为润滑油泵电动机启停用接触器(主电路未画出),控制线路可使润滑有规律地间歇工作。试分析此线路的工作原理,并说明开关S和按钮SB的作用?试用PLC设计出控制程序。答:这是一个自动间歇润滑的控制线路。开关S、按钮1SB的作用及电路的工作过程如下:(1)S是进行自动间歇润滑的控制开关,1KT-决定润滑时间,2KT-决定不润滑时间,电路的工作过程:合上开关S,KM的线圈得电,电动机M转动,进行润滑;1KT的线圈得电,触点1KT延时后闭合,K的线圈得电,常开触点K闭合,自锁;常闭触点K断开,KM线圈失电,停止润滑;1KT的线圈失电。2KT的线圈得电,延时后常闭触点2KT断开,K的线圈失电,常开触点K断开,2KT的线圈失电,2KT的常闭触点瞬时合。常闭触点K闭合,KM线圈又得电,润滑。1KT的线圈又得电,延时重复以上动作。(2)1SB为手动(点动)润滑操作按钮。6、试设计1M和2M两台电动机顺序启、停的控制线路。试用PLC设计出控制程序。①1M启动后,2M立即自动启动;②1M停止后,延时一段时间,2M才自动停止;②2M能点动调整工作;④两台电动机均有短路、长期过载保护。1SB、是IM、2M的启动按纽,3SB是2M的点动按纽2SB是停止按纽4SB是总停止按钮。OR431K3ANI402LD450ANI404OR403OUT431ANI404LD401OUT432OR431ENDANI402AN404[10\\I—rJII7、试设计某机床主轴电动机控制线路图。要求:①可正反转,且可反接制动;②正转可点动,可在两处控制启、停;③有短路和长期过载保护;④有安全工作照明及电源信号打;401^-4024044040OUT450F:LD401K3OR430LD402ANI402OR450ANI404OR431ANI431ANI403OUT430ANI430LD404OUT431OU450EN4D1/4D2434431430430777404...490K3103430431X7COMCOM401430402PLC403431404FKMHE.EKM其它练习题:7FEMSTbJEM7XREH18、试设计一个工作台前进一退回的控制线路。工作台由电动机M拖动,行程开关1ST、2ST分别装在工作台的原位和终点。要求:①能自动实现前进一后退一停止到原位;②工作台前进到达终点后停一下再后退;③工作台在前进中可以人为地立即后退到原位;④有终端保护;1、试设计一台电动机拖动小车的控制线路。要求能正反转并能实现在A、B两点间的自动往复运动。要求绘出主电路和控制电路。2、试用F-40M型PLC设计一运输线,1M拖动运输机,2M拖动卸料机,要求:(1)1M先启动,经一段时间后,2M才允许启动;(2)2M停止后,才允许1M停止。设计要求完成:(1)绘出电动机主电路;(2)绘出PLC安装接线图;(3)绘出PLC梯形图;编写PLC指令程序。4■11辽丁I~II1ST/2ET孑STaWAND401LD402ANI405OR432Y-A启动的控制程序。要求绘出主'电路和空制电...

1、当您付费下载文档后,您只拥有了使用权限,并不意味着购买了版权,文档只能用于自身使用,不得用于其他商业用途(如 [转卖]进行直接盈利或[编辑后售卖]进行间接盈利)。
2、本站所有内容均由合作方或网友上传,本站不对文档的完整性、权威性及其观点立场正确性做任何保证或承诺!文档内容仅供研究参考,付费前请自行鉴别。
3、如文档内容存在违规,或者侵犯商业秘密、侵犯著作权等,请点击“违规举报”。

碎片内容

机电传动控制设计题

确认删除?
VIP
微信客服
  • 扫码咨询
会员Q群
  • 会员专属群点击这里加入QQ群
客服邮箱
回到顶部