电脑桌面
添加小米粒文库到电脑桌面
安装后可以在桌面快捷访问

最新胰岛素注射液使用管理规定VIP免费

最新胰岛素注射液使用管理规定_第1页
1/17
最新胰岛素注射液使用管理规定_第2页
2/17
最新胰岛素注射液使用管理规定_第3页
3/17
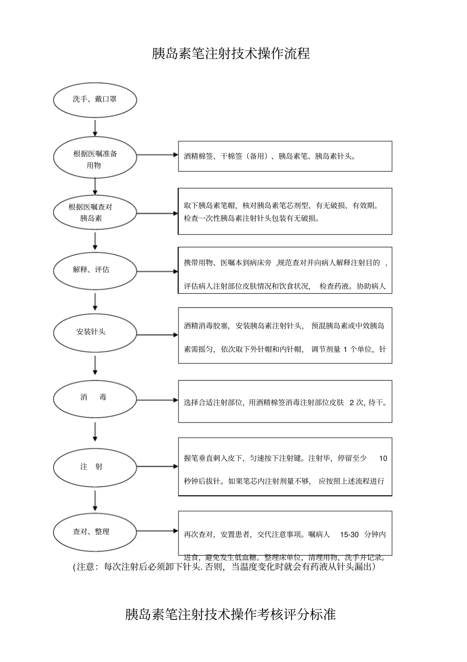
胰岛素注射液使用管理规定(可以直接使用,可编辑优秀版资料,欢迎下载)胰岛素注射液使用管理规定(修订)各科室:鉴于目前临床使用的胰岛素注射液种类较多,不同注射液使用规定不尽相同。为规范临床胰岛素注射液使用管理,确保用药安全,特做如下规定:1。各种胰岛素注射液开启前应依照药品说明书进行存放、使用。未开封的瓶装胰岛素或胰岛素笔芯应储藏在2℃—8℃的环境中(可放置在冰箱冷藏室靠近冰箱门的位置保存),不得冷冻,应远离热源,避免日照、剧烈震荡[1].开启后应再注射液瓶签上标示开启日期,有效保存期为28天(如1/3—28/3)进行标示。2.开启使用后的瓶装胰岛素,开启后的胰岛素笔芯(注射针头刺穿橡胶塞后)可在一般室温下(20℃左右,不超过25℃—30℃)保存28天.正在使用的胰岛素不建议冷藏保存,这是由于室温时胰岛素产品的稳定性更好,更容易混匀,也使得胰岛素注射更加舒适,而反复的温度高低变化会影响胰岛素的效能[2].3。胰岛素注射笔用针头或胰岛素专用注射器必须一次一换,不得重复使用。胰岛素注射笔芯一人一管,不得混用。4。预混胰岛素和NPH胰岛素使用前应充分摇匀后注射。5。胰岛素注射液用完之前包装盒及说明书应妥善保存,不得丢失.本规定自下发之日起执行,原有相关规定中与本内容不符的以此为准,遵照执行。参考文献:[1]中华医学会糖尿病学分会.中国糖尿病药物注射技术指南2021版。2021[2]中华医学会糖尿病学分会。中国2型糖尿病防治指南(科普版)。2021胰岛素储存要求和有效期未拆封的胰岛素:2—8℃避光保存(冷藏箱内),不可冷冻.已拆封的胰岛素:速效胰岛素:诺和锐:室温下避光保存,不超过30℃,4周短效胰岛素:优泌林R:25℃以下,28天预混胰岛素:诺和锐30:室温下避光保存,不超过30℃,4周诺和30R:室温下避光保存,不超过30℃,6周超长效胰岛素:来的时:25℃以下,4周诺和平:室温下避光保存,不超过30℃,6周长秀霖:25℃以下,30天胰岛素笔注射技术操作流程(注意:每次注射后必须卸下针头.否则,当温度变化时就会有药液从针头漏出)胰岛素笔注射技术操作考核评分标准洗手、戴口罩取下胰岛素笔帽,核对胰岛素笔芯剂型、有无破损、有效期。检查一次性胰岛素注射针头包装有无破损。携带用物、医嘱本到病床旁,规范查对并向病人解释注射目的,评估病人注射部位皮肤情况和饮食状况,检查药液。协助病人选择合适注射部位,用酒精棉签消毒注射部位皮肤2次,待干。再次查对,安置患者,交代注意事项。嘱病人15-30分钟内进食,避免发生低血糖。整理床单位,清理用物,洗手并记录。酒精消毒胶塞,安装胰岛素注射针头,预混胰岛素或中效胰岛素需摇匀,依次取下外针帽和内针帽,调节剂量1个单位,针握笔垂直刺入皮下,匀速按下注射键。注射毕,停留至少10秒钟后拔针。如果笔芯内注射剂量不够,应按照上述流程进行根据医嘱查对胰岛素解释、评估消毒查对、整理安装针头注射根据医嘱准备用物酒精棉签、干棉签(备用)、胰岛素笔、胰岛素针头。项目总分技术操作要求评分等级参考人员ABCD仪表5仪表端庄,服装整齐,无长指甲.5431评估10病人病情、注射部位的皮肤的完整性病人进食情况与病人沟通,语言沟通恰当433322211100操作前准备5洗手物品放置妥当,准备齐全23020100操作过程安全与舒适10查对认真规范体位舒适55443322安装过程23笔帽拔下回弹装置完全退出入活塞杆内核对胰岛素、消毒胶塞针头安装正确无菌操作规范排气方法正确256253145142034031023020注射过程32选择部位正确上下颠倒诺和笔至少10次或在掌心来回滚动至少10次调节剂量方法正确胰岛素剂量准确消毒皮肤方法正确(消毒2次)握笔方法正确,进针角度正确拔针前至264625153513042402031301少停留10秒拔针方法正确52312010操作后10整理用物,装笔回盒洗手交代注意事项433322211100整体评价5动作规范,轻稳,剂量准确操作时间从洗手开始至洗手结束,时间≤4分钟(超过10秒扣1分)32211000总分100胰岛素笔注射操作流程及评分标准项目内容分值扣分标准扣分目的通过外源性胰岛素的注射,降低血糖,促进脂肪、糖元、蛋白质的合成。3回答不全-3用物准备胰岛素笔、胰岛素针头、注射盘3少一样-1素质要求仪...

1、当您付费下载文档后,您只拥有了使用权限,并不意味着购买了版权,文档只能用于自身使用,不得用于其他商业用途(如 [转卖]进行直接盈利或[编辑后售卖]进行间接盈利)。
2、本站所有内容均由合作方或网友上传,本站不对文档的完整性、权威性及其观点立场正确性做任何保证或承诺!文档内容仅供研究参考,付费前请自行鉴别。
3、如文档内容存在违规,或者侵犯商业秘密、侵犯著作权等,请点击“违规举报”。

碎片内容

最新胰岛素注射液使用管理规定

确认删除?
VIP
微信客服
  • 扫码咨询
会员Q群
  • 会员专属群点击这里加入QQ群
客服邮箱
回到顶部