电脑桌面
添加小米粒文库到电脑桌面
安装后可以在桌面快捷访问

财务管理程序VIP免费

财务管理程序_第1页
1/18
财务管理程序_第2页
2/18
财务管理程序_第3页
3/18
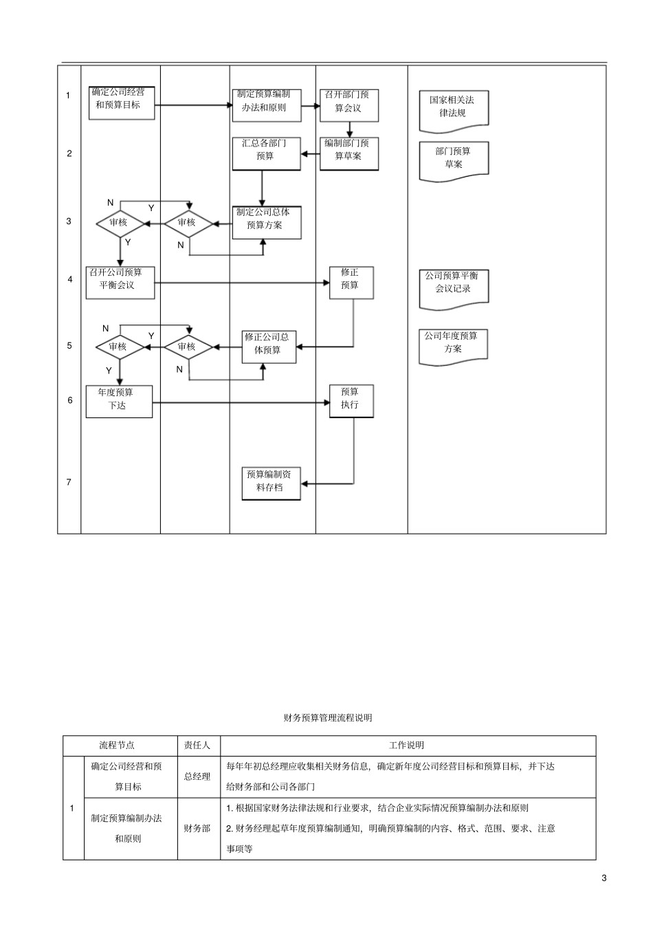
1程序文件:财务管理流程文件会签□总经理□常务副总经理□销售副总理□生产副总理□财务总监□行政办□财务部□综合部□质量控制部□人力资源部□市场营销部□综合事业部□技术研发部□实验技术部□养殖分公司□养殖分公司□模式动物实验室文件发放范围□总经理□常务副总经理□销售副总经理□生产副总经理□财务总监□办公室□财务部□综合部□质量控制部□人力资源部□市场部□模式动物实验室□技术开发部□实验技术部□养殖分公司文件更改记录版本章节页码日期内容备注2(1)财务预算工作流程节点总经理财务经理财务部各部门关联规程/表单3财务预算管理流程说明流程节点责任人工作说明1确定公司经营和预算目标总经理每年年初总经理应收集相关财务信息,确定新年度公司经营目标和预算目标,并下达给财务部和公司各部门制定预算编制办法和原则财务部1.根据国家财务法律法规和行业要求,结合企业实际情况预算编制办法和原则2.财务经理起草年度预算编制通知,明确预算编制的内容、格式、范围、要求、注意事项等1234567确定公司经营和预算目标制定预算编制办法和原则编制部门预算草案修正预算制定公司总体预算方案召开公司预算平衡会议审核年度预算下达预算编制资料存档修正公司总体预算召开部门预算会议汇总各部门预算审核审核审核预算执行YYNNNNYY国家相关法律法规公司年度预算方案部门预算草案公司预算平衡会议记录4(2)费用报销管理流程节点总经理财务部出纳会计各部门相关规程/表单召开部门预算会议各部门各部门经理负责组织召开部门预算会议2编制部门预算草案各部门根据所负责的业务,按公司预算编制通知的要求,结合本部门下一年度工作计划与上年度本部门预算执行情况,编制各部门业务预算草案,并提交财务部汇总各部门预算财务部对各部门预算进行汇总,试算平衡3制定公司总体预算方案财务部编制出公司的《年度财务预算汇总表》预计公司总体预算方案,上报上级领导审核审核财务经理审查财务预算的编制是否符合公司拟定的年度经营目标和预算目标。通过则提交总经理审核;未通过则提出进一步修订完善的意见,通知由财务部修正调整预算草案审核总经理负责审核财务经理提交的公司财务预算草案,通过4召开公司预算平衡会议总经理根据企业发展战略和目标,平衡各个部门间的预算,并征得各个部门的认同修正预算各部门根据预算平衡会议的决定修正部门预算方案5修正公司总体预算财务部汇总修正后的部门预算方案,在此基础上修正公司总体预算,形成新的预算方案审核财务经理审核修正后的公司总体预算方案,通过则提交总经理审核,未通过则提出修正意见,通知财务部再次修正审核总经理审核财务经理提交的财务预算方案,通过则通知各部门执行,未通过则提出意见,并通知财务经理重新修正6年度预算下达下达审核通过的预算方案,通知各部门按预算执行预算执行各部门各部门严格按照公司预算执行要求执行预算7预算编制资料存档财务部整理汇总预算编制资料并存档,以备查用5费用报销管理流程说明流程节点责任人工作说明1产生费用各部门因出差、招待、采购等产生的费用,报销人员必须取得完整真实、合法的原始凭证2签字确认各部门1.员工个人在凭单上签字确认,所有签名均应附注日期2.部门负责人确认签字明细账及总账会计报表审批N预算外审核报销现金/银行/日记账费用总表更新财务账编制凭证产生费用审批N付款Y签字确认报销申请单1234567现金/银行/日记账明细账总账财务报表审核YNY审核费用报销管理制度6(3)应付账款管理流程节点出纳财务经理会计部门经理相关职能部门相关规程/表单审批财务部对员工上交的报销申请及原始凭证进行核对、审批,通过则提交总经理审批。未通过则根据实际情况做出处理,包括退回报销单(注明退回原因)。剔除部分不合格、不合理、说明不全之金额后付款(附剔除原因)。要求报销人员补充说明或补必要单证审批总经理主要对预算外的费用进行审批,看其是否真实、合理。同意则交出纳审核报销,然后付款;不同意则通知财务经理及财务部再次确认审核3审核报销出纳核对员工上交的报销的相关票据是否齐全,填写是否真正确,发票是否合规,报销是否符合相关标准、是否符合报销审批签...

1、当您付费下载文档后,您只拥有了使用权限,并不意味着购买了版权,文档只能用于自身使用,不得用于其他商业用途(如 [转卖]进行直接盈利或[编辑后售卖]进行间接盈利)。
2、本站所有内容均由合作方或网友上传,本站不对文档的完整性、权威性及其观点立场正确性做任何保证或承诺!文档内容仅供研究参考,付费前请自行鉴别。
3、如文档内容存在违规,或者侵犯商业秘密、侵犯著作权等,请点击“违规举报”。

碎片内容

财务管理程序

确认删除?
VIP
微信客服
  • 扫码咨询
会员Q群
  • 会员专属群点击这里加入QQ群
客服邮箱
回到顶部