电脑桌面
添加小米粒文库到电脑桌面
安装后可以在桌面快捷访问

高考数学一轮复习 第十 十一模块 概率与统计 算法初步 数系的扩充与复数的引入VIP免费

高考数学一轮复习 第十 十一模块 概率与统计 算法初步 数系的扩充与复数的引入_第1页
1/10
高考数学一轮复习 第十 十一模块 概率与统计 算法初步 数系的扩充与复数的引入_第2页
2/10
高考数学一轮复习 第十 十一模块 概率与统计 算法初步 数系的扩充与复数的引入_第3页
3/10
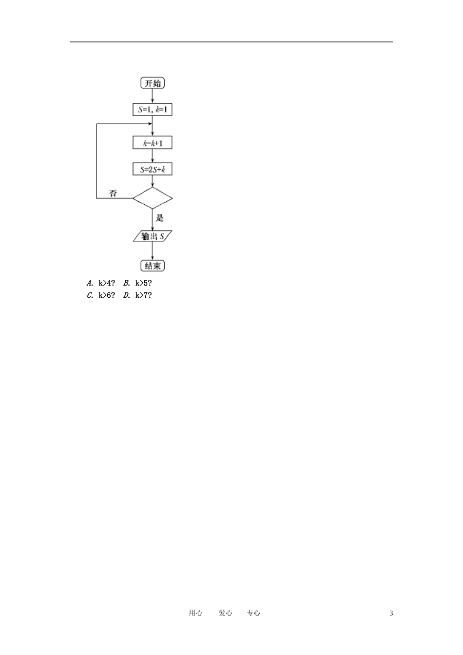
第十、十一模块概率与统计算法初步、数系的扩充与复数的引入一、选择题:本大题共12小题,每小题5分,共60分,在每小题给出的四个选项中,只有一项是符合题目要求的.1.先后抛掷两枚质地均匀的正方体骰子(它们的六个面分别标有点数1、2、3、4、5、6),骰子朝上的面的点数分别为x、y,则log2xy=1的概率为()A.B.C.D.解析:满足log2xy=1,即y=2x,其结果有(1,2),(2,4),(3,6)3种,即概率为=.故选C.答案:C2.某单位共有老、中、青职工430人,其中有青年职工160人,中年职工人数是老年职工人数的2倍,为了解职工身体状况,现采用分层抽样方法进行调查,在抽取的样本中有青年职工32人,则该样本中的老年职工人数为()A.9B.18C.27D.36解析:设老年职工有x人,则中年职工有2x人,∴3x+160=430,x=90,又由×90=18,故选B.答案:B3.有一段长为11米的木棍,现要剪成两段,每段不小于3米的概率是()A.B.C.D.解析:记“剪得两段都不小于3米”为事件A,从木棍的两端各度量出3米,这样中间就有11-3-3=5(米),在中间的5米长的木棍上,任何一个位置剪都满足条件,所以P(A)==.故选B.答案:B4.(2010·山东日照检测)10件产品中,有4件二等品,从中任取2件,则抽不到二等品的概率为()A.B.C.D.解析:从总体10件产品中任取2件的方法有45种,从6件非二等品中任取2件的方法有15种,因此P==.答案:D5.鲁北化工厂为预测某产品的回收率y,需要研究它和原料的有效成分含量x之间的相关关系.现取了8对观测值,经计算得:i=52,i=228,=478,iyi=1849,则y与x的回归方程为()A.y=2.62x+11.47B.y=2.62x-11.47C.y=11.47x+2.62D.y=-2.62x+11.47解析:将所给数据代入公式可计算出a,b的值分别为11.47和2.62,再代入y=bx+a可得.答案:A6.甲、乙两名同学在5次体育测试中的成绩统计如右面的茎叶图所示,则下列结论正确的是()用心爱心专心1A.x甲x乙;甲比乙稳定C.x甲>x乙;乙比甲稳定D.x甲s,故选A.答案:A7.(2010·陕西)如图是求样本x1,x2,…,x10平均数x的程序框图,图中空白框中应填入的内容为()A.S=S+xnB.S=S+C.S=S+nD.S=S+解析:根据题意可知该框图的算法功能是求样本x1,x2,…,x10平均数x,要求平均数x须先求和,观察框图执行框里面应填充求和变量关系S=S+xn,故选A.答案:A8.(2010·浙江)某程序框图如图所示,若输出的S=57,则判断框内为()用心爱心专心2A.k>4?B.k>5?C.k>6?D.k>7?用心爱心专心3解析:第一次执行后,k=2,S=2+2=4;第二次执行后,k=3,S=8+3=11;第三次执行后,k=4,S=22+4=26;第四次执行后,k=5,S=52+5=57,此时结束循环,故判断框中填k>4?答案:A9.(2010·抚顺六校第二模拟)某程序框图如图所示,现输入如下四个函数,其中可以输出的函数是()A.f(x)=x2B.f(x)=C.f(x)=lnx+2x-6D.f(x)=sinx解析:第一个判断框的目的是判断输入的函数是否为奇函数,第二个判断框的目的是判断输入的函数是否存在零点.结合选项知,函数f(x)=sinx为奇函数,且存在零点,故选D.答案:D10.(2010·惠州第三次调研)在复平面内,复数z=cos3+isin3(i是虚数单位)对应的点位于()A.第一象限B.第二象限C.第三象限D.第四象限解析:因为<3<π,所以cos3<0,sin3>0,故点(cos3,sin3)在第二象限,即复数z=cos3+isin3对应的点位于第二象限.答案:B11.(2010·皖南八校第二次联考)若z=(x,y∈R,i为虚数单位)是实数,则实数xy的值为()A.3B.-3C.0D.解析: z===为实数,∴=0,∴xy=3,故选A.答案:A12.(2010·福州质检)已知b是实数,i是虚数单位,若复数(1+bi)(2+i)对应的点在实轴上,则b=()A.-B.C.-2D.2用心爱心专心4解析: 复数(1+bi)(2+i)=2-b+(1+2b)i对应的点在实轴上,∴1+2b=0,∴b=-.答案:A二、填空题:本大题共4小题,每小题5分,共20分,把答案填在题中的横线上.13.若以连续掷两次骰子分别得到的点数m、n作为P点的坐标,则点P落在圆x2+y2=16内的概率是________.解析:以2颗骰子的点数作为P点的坐标有3...

1、当您付费下载文档后,您只拥有了使用权限,并不意味着购买了版权,文档只能用于自身使用,不得用于其他商业用途(如 [转卖]进行直接盈利或[编辑后售卖]进行间接盈利)。
2、本站所有内容均由合作方或网友上传,本站不对文档的完整性、权威性及其观点立场正确性做任何保证或承诺!文档内容仅供研究参考,付费前请自行鉴别。
3、如文档内容存在违规,或者侵犯商业秘密、侵犯著作权等,请点击“违规举报”。

碎片内容

高考数学一轮复习 第十 十一模块 概率与统计 算法初步 数系的扩充与复数的引入

远洋启航书店+ 关注
实名认证
内容提供者

从事历史教学,热爱教育,高度负责。

确认删除?
VIP
微信客服
  • 扫码咨询
会员Q群
  • 会员专属群点击这里加入QQ群
客服邮箱
回到顶部